12371 (647547), страница 2
Текст из файла (страница 2)
Основные достоинства насадочных колонн является простота устройства и низкое гидравлическое сопротивление. Недостатки: трудность отвода тепла и плохая смачиваемость насадки при низких плотностях орошения. Отвод тепла из этих аппаратов и улучшение смачиваемости достигаются путем рециркуляции абсорбента, что усложняет и удорожает абсорбционную установку. Для проведения одного и того же процесса требуются насадочные колонны обычно большего объема, чем барботажные.
Насадочные колонны мало пригодны при работе с загрязненными жидкостями. Для таких жидкостей в последнее время стали применять абсорберы с «плавающей» насадкой. В этих абсорберах в качестве насадки используют главным образом легкие полые или сплошные пластмассовые шары, которые при достаточно высоких скоростях газа переходят во взвешенное состояние.
В абсорберах с «плавающей» насадкой допустимы более высокие скорости газа, чем в абсорберах с неподвижной насадкой. При этом увеличение скорости газа приводит к большому расширению слоя шаров и, следовательно, к незначительному увеличению гидравлического сопротивления аппарата.
Барботажные (тарельчатые) абсорберы
Тарельчатые абсорберы представляют собой, как правило, вертикальные колонны, внутри которых на определенном расстоянии друг от друга размещены горизонтальные перегородки –– тарелки. С помощью тарелок осуществляется направленное движение фаз и многократное взаимодействие жидкости и газа.
В настоящее время в промышленности применяются разнообразные конструкции тарельчатых аппаратов. По способу слива жидкости с тарелок барботажные абсорберы можно подразделить на колонны: 1) с тарелками со сливными устройствами и 2) с тарелками без сливных устройств.
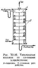
Тарельчатые колонны со сливными устройствами. В этих колоннах перелив жидкости с тарелки на тарелку осуществляется при помощи специальных устройств –– сливных трубок, карманов и т.п. Нижние колонны трубок погружены в стакан на нижерасположенных тарелках и образуют гидравлические затворы, исключающие возможность прохождение газа через сливное устройство.
Принцип работы колонн такого типа виден из рис.XI-16, где в качестве примера показан абсорбер с ситчатыми тарелками. Жидкость поступает на верхнюю тарелку 1, сливается с тарелки на тарелку через переливные устройства 2 и удаляются из нижней части колонны. Газ поступает в нижнюю часть аппарата проходит последовательно сквозь отверстия или колпачки каждой тарелки. При этом газ распределяется в виде пузырьков и струй в слое жидкости на тарелке, образуя на ней слой пены, являющийся основной областью массообмена и теплообмена на тарелке. Отработанный газ удаляется сверху колонны.
Переливные трубки располагают на тарелках таким образом, чтобы жидкость на соседних тарелках протекала во взаимопротивоположных направлениях. За последнее время все шире применяют сливные устройства в виде сегментов, вырезанных в тарелке и ограниченных порогом –– переливом.
К тарелкам со сливными устройствами относятся: ситчатые, колпачковые, клапанные и балластные, пластинчатые.
Гидродинамические режимы работы тарелок. Эффективность тарелок любых конструкций в значительной степени зависит от гидродинамических режимов их работы. Поэтому до описания основных конструкций тарелок рассмотрим эти режимы.
В зависимости от скорости газа и плотности орошения различают три основных гидродинамических режима работы барботажных тарелок: пузырьковый, пенный и струйный, или инжекционный. Эти режимы отличаются структурой барботажного слоя, которая в основном определяет его гидравлическое сопротивление и высоту, а также величину поверхности контакта фаз.
Пузырьковый режим. Такой режим наблюдается при небольших скоростях газа, когда он движется сквозь слой жидкости в виде отдельных пузырьков. Поверхность контакта фаз на тарелке, работающей в пузырьковом режиме, невелика.
Пенный режим. С увеличением расхода газа выходящие из отверстия и прорези отдельные пузырьки сливаются в сплошную струю, которая на определенном расстоянии от места истечения разрушается вследствие сопротивления барботажного слоя с образованием большого количества пузырьков. При этом на тарелке возникает газо-жидкостная дисперсная система –– пена, которая является нестабильной и разрушается сразу же после прекращения подачи газа. В указанном режиме контактирование газа и жидкости происходит на поверхности пузырьков и струй газа, а также на поверхности капель жидкости, которые в большом количестве образуются над барботажным слоем при выходе пузырьков газа из барботажного слоя и разрушении их оболочек. При пенном режиме поверхность контакта фаз на барботажных тарелках максимальна.
Струйный (инжекционный) режим. При дальнейшем увеличении скорости газа длина газовых струй увеличивается, и они выходят на поверхность барботажного слоя, не разрушаясь и образуя большое количество крупных брызг. Поверхность контакта фаз в условиях такого гидродинамического режима резко снижается.
Следует отметить, что переход от одного режима к другому происходит постепенно. Общие методы расчета границ гидродинамических режимов (критических точек) для барботажных тарелок отсутствуют. Поэтому при проектировании тарельчатых аппаратов обычно расчетным путем определяют скорость газа, соответствующую нижнему и верхнему пределам работы тарелки, и затем выбирают рабочую скорость газа.
Ситчатые тарелки. Колонна с сетчатыми тарелками (рис. XI-18) представляет собой вертикальный цилиндрический корпус 1 с горизонтальными тарелками 2, в которых равномерно по всей поверхности просверлено значительное число отверстий диаметром 1—5 мм. Для слива жидкости и регулирования ее уровня на тарелке служат переливные трубки 3, нижние концы которых погружены в стаканы 4.
Газ проходит сквозь отверстия тарелки и распределяется в жидкости в виде мелких струек и пузырьков. При слишком малой скорости газа жидкость может просачиваться (или «проваливаться») через отверстия тарелки на нижерасположенную, что должно привести к существенному снижению интенсивности массопередачи. Поэтому газ должен двигаться с определенной скоростью и иметь давление, достаточное для того, чтобы преодолеть давление слоя жидкости на тарелке и предотвратить стекание жидкости через отверстия тарелки.
Ситчатые тарелки отличаются простотой устройства, легкостью монтажа, осмотра и ремонта. Гидравлическое сопротивление этих тарелок невелико. Ситчатые тарелки устойчиво работают в довольно широком интервале скоростей газа, причем в определенном диапазоне нагрузок по газу и жидкости эти тарелки обладают высокой эффективностью. Вместе с тем ситчатые тарелки чувствительны к загрязнениям и осадкам, которые забивают отверстия тарелок. В случае внезапного прекращения поступления газа или значительного снижения его давления с ситчатых тарелок сливается вся жидкость, и для возобновления процесса требуется вновь запускать колонну.
Разновидностью абсорберов с ситчатыми тарелками являются так называемые пенные абсорберы, тарелки которых, как указывалось, отличаются от ситчатых конструкцией переливного устройства. При одинаковом числе тарелок эффективность пенных аппаратов выше, чем эффективность абсорберов с ситчатыми тарелками. Однако вследствие большой высоты пены на тарелках гидравлическое сопротивление пенных абсорберов значительно, что ограничивает область их применения.
Колпачковые тарелки. Менее чувствительны к загрязнениям, чем колонны с ситчатыми тарелками, и отличаются более высоким интервалом устойчивой работы колонны с колпачковыми тарелками (рис. Х1-19). Газ на тарелку 1 поступает по патрубкам 2, разбиваясь затем прорезями колпачка 3 на большое число отдельных струй. Прорези колпачков наиболее часто выполняются в виде зубцов треугольной или прямоугольной формы. Далее газ проходит через слой жидкости, перетекающей по тарелке от одного сливного устройства 4 к другому. При движении через слой значительная часть мелких струй распадается и газ распределяется в жидкости в виде пузырьков. Интенсивность образования пены и брызг на колпачковых тарелках зависит от скорости движения газа и глубины погружения колпачка в жидкость.
На рис. Х1-20 показана схема работы колпачка при неполном (а) и полном (б) открытии прорезей, причем в последнем случае колпачок работает наиболее эффективно» Сечение и форма прорезей колпачка имеют второстепенное значение, но желательно устройство узких прорезей, так - как при этом газ разбивается на более мелкие струйки, что спосоосгвует увеличению поверхности соприкосновения фаз. Для создания большей поверхности контакта фаз на тарелках обычно устанавливают значительное число колпачков, расположенных на небольшом расстоянии друг от друга.
Колпачковые тарелки изготовляют с радиальным или диаметральным переливами жидкости. Тарелка с радиальным переливом жидкости (рис. Х1-21, а) представляет собой стальной диск 1, который крепится на прокладке 2 болтами 3 к опорному кольцу 4. Колпачки 5 расположены на тарелке в шахматном порядке. Жидкость переливается на лежащую ниже тарелку по периферийным сливным трубкам 6, движется к центру и сливается на следующую тарелку по центральной трубке 7, затем снова течет к периферии и т. д.
Тарелка с диаметральным переливом жидкости (рис. Х1-21, б) представляет собой срезанный с двух сторон диск /, установленный на опорном листе 2. С одной стороны тарелка ограничена приемным порогом 3, а с другой — сливным порогом 4 со сменной гребенкой 5, при помощи которой регулируется уровень жидкости на тарелке. В тарелке этой конструкции периметр слива увеличен путем замены сливных трубок сегментообразными отверстиями, ограниченными перегородками 6, что снижает вспенивание жидкости при ее переливе.
Колпачковые тарелки устойчиво работают при значительных изменениях нагрузок по газу и жидкости. К их недостаткам следует отнести сложность устройства и высокую стоимость, низкие предельные нагрузки по газу, относительно высокое гидравлическое сопротивление, трудность очистки. Поэтому колонны с колпачковыми тарелками постепенно вытесняются новыми, более прогрессивными конструкциями тарельчатых аппаратов.
На рис. Х1-22 показана распространенная конструкция штампованного капсюльного колпачка. Он состоит из патрубка, который развальцован в отверстии тарелки 2, и планки 3, приваренной к верхней части патрубка. К планке с помощью болта 4 крепится колпачок 5 диаметром 80—150 мм, закрепляемый на требуемой высоте контргайкой.
Колпачковые тарелки устойчиво работают при значительных изменениях нагрузок по газу и жидкости. К их недостаткам следует отнести сложность устройства и высокую стоимость, низкие предельные нагрузки по газу, относительно высокое гидравлическое сопротивление, трудность очистки. Поэтому колонны с колпачковыми тарелками постепенно вытесняются новыми, более прогрессивными конструкциями тарельчатых аппаратов.
Клапанные и балластные тарелки (рис. XI-23). Эти тарелки получают за последнее время все более широкое распространение, особенно для работы в условиях значительно меняющихся скоростей газа.
Принцип действия клапанных тарелок (рис. Х1-23. а, б) состоит в том, что свободно лежащий над отверстием в тарелке круглый клапан 1 с изменением расхода газа своим весом автоматически регулирует величину площади зазора между клапаном и плоскостью тарелки для прохода газа и тем самым поддерживает постоянной скорость газа при его истечении в барботажный слой. При этом с увеличением скорости газа в колонне гидравлическое сопротивление клапанной тарелки увеличивается незначительно. Высота подъема клапана ограничивается высотой кронштейна-ограничителя 2 и обычно не превышает 8 мм. Пластинчатые клапаны (рис. X1-23, в) работают так же, как и круглые. Они имеют форму неравнобокого уголка, одна из полок которого (более длинная) закрывает прямоугольное отверстие в тарелке.
Балластные тарелки (рис. X1-23, г) отличаются по устройству от клапанных тем, что в них между легким круглым клапаном 1 и кронштейном-ограничителем 2 установлен на коротких стойках, опирающихся на тарелку, более тяжелый, чем клапан, балласт 3. Клапан начинает подниматься при небольших скоростях газа. С дальнейшим увеличением скорости газа клапан упирается в балласт и затем поднимается вместе с ним. Балластные тарелки отличаются более равномерной работой и полным отсутствием провала жидкости во всем интервале скоростей газа.
Достоинства клапанных и балластных тарелок: сравнительно высокая пропускная способность по газу и гидродинамическая устойчивость, постоянная и высокая эффективность в широком интервале нагрузок по газу. Последнее достоинство является особенностью клапанных и балластных тарелок по сравнению с тарелками других конструкций. К недостаткам этих тарелок следует отнести их повышенное гидравлическое сопротивление, обусловленное весом клапана или балласта. Известны разновидности клапанных и балластных тарелок, отличающиеся конструкцией клапанов (балластов) и ограничителей.
Пластинчатые тарелки. Эти тарелки, в отличие от тарелок, рассмотренных выше, работают при однонаправленном движении фаз, т. е. каждая ступень работает по принципу прямотока, что позволяет резко повысить нагрузки по газу и жидкости, в то время как колонна в целом работает с противотоком фаз. В колонне с пластинчатыми тарелками (рис. Х1-24) жидкость (движение которой показано на рисунке сплошными стрелками) поступает с вышележащей тарелки в гидравлический затвор 1 и через переливную перегородку 2 попадает на тарелку 3, состоящую из ряда наклонных пластин 4. Дойдя до первой щели, образованной наклонными пластинами, жидкость встречается с газом (пунктирные стрелки), который с большой скоростью (20—40 м/сек) проходит сквозь щели. Вследствие небольшого угла наклона пластин (αт = 10—15°) газ выходит на тарелку в направлении, близком к параллельному по отношению к плоскости тарелки. При этом происходит эжектирование жидкости, которая диспергируется газовым потоком на мелкие капли и отбрасывается вдоль тарелки к следующей щели, где процесс взаимодействия жидкости и газа или пара повторяется. В результате жидкость с большой скоростью движется вдоль тарелки от переливной перегородки 2 к сливному карману 5. В данном случае нет, необходимости в установке переливного порога у кармана 5, что уменьшает общее гидравлическое сопротивление тарелки.
Таким образом, пластинчатые тарелки работают так, что в отличие от тарелок других конструкций жидкость является дисперсной фазой, а газ — сплошной, и контактирование жидкости и газа осуществляется на поверхности капель и брызг. Описанный гидродинамический режим газожидкостной дисперсной системы на контактной тарелке может быть определен как капельный или капельно-брызговой.
Этот режим позволяет резко повысить нагрузки по жидкости и газу в колоннах с пластинчатыми тарелками.















