4447 (643063), страница 2
Текст из файла (страница 2)
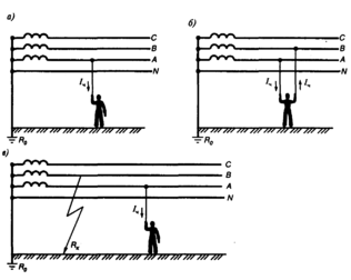
Пренебрегая сопротивлением рабочего заземления нейтрали (
Ом) по сравнению с сопротивлением цепи человека, можно записать:
При двухфазном прикосновении (рис.2,6) человек попадает поя линейное напряжение как в сетях с изолированной нейтралью и ток через человека
В аварийном режиме (рис.2, в), когда одна из фаз сети замкнута на землю, происходит перераспределение напряжения и напряжения исправных фаз по отношению к земле отличны от фазного напряжения сети. Прикасаясь к исправной фазе, человек попадает под напряжение
, которое больше фазного, но меньше линейного, и ток, проходящий через человека,
.
Рис. 2. Опасность трехфазных электрических цепей с заземленной нейтралью
Таким образом, прикосновение к исправной фазе при замыкании другой фазы на землю опаснее, чем прикосновение в фазе в нормальном режиме работы трехфазной сети с заземленной нейтралью, а наиболее опасно двухфазное прикосновение.
Анализируя различные случаи прикосновения человека к проводам трехфазных электрических сетей, можно сделать следующие выводы:
1) наименее опасным является однофазное прикосновение к проводу исправной сети с изолированной нейтралью;
2) при замыкании одной из фаз на землю опасность однофазного прикосновения к исправной фазе больше, чем в исправной сети при любом режиме нейтрали;
3) наиболее опасным является двухфазное прикосновение при любом режиме нейтрали.
Режим нейтрали трехфазной сети выбирается по технологическим требованиям и по условиям безопасности. Согласно ПУЭ, при напряжении выше 1000 В применяются две схемы: трехпроводные сети с изолированной нейтралью и трехпроводные сети с эффективно заземленной нейтралью, а при напряжении до 1000 В применяются трехпроводные сети с изолированной нейтралью и четырехпроводные сети с глухозаземленной нейтралью.
Опасность сетей однофазного тока. Однофазные сети могут быть изолированными от земли, иметь заземленный полюс или среднюю точку (рис.3).
При однополюсном прикосновении к проводу изолированной сети человек оказывается "подключенным" к другому проводу через сопротивление утечки (рис.3, а). Так как однофазные сети переменного тока имеют небольшую протяженность, емкостью проводов относительно земли можно пренебречь, а для сетей постоянного тока емкость не увеличивается, так как ток утечки через емкость равен нулю. Для упрощения выводов условимся, что сопротивления утечки обоих проводов одинаковы, т.е.
.
Выражение для тока, протекающего через человека, полученное из эквивалентной схемы (рис.3, б), имеет вид:
.
Прикосновение человека к незаземленному проводу сети с заземленным полюсом (рис.3, в) вызывает протекание тока
,
а так как
, то можно записать, что
Прикосновение к исправному проводу при замыкании другого j провода на землю (рис.3, г) вызывает ток через человека:
При прикосновении к одному из проводов сети с заземленной средней точкой (рис.3, д) человек попадает под напряжение, равное половине напряжения сети:
где
- сопротивление замыкания.
В случае прикосновения к двум проводам сети (рис.3, е) человек попадает под напряжение сети и выражение для тока будет:
Анализируя эти выражения для токов, проходящих через человека при различных случаях прикосновения к однофазным сетям постоянного тока, можно сделать вывод, что наиболее опасно двухполюсное прикосновение при любом режиме сети относительно земли (изолированной, с заземленным полюсом или средней точкой), так как в этом случае ток, протекающий через человека, определяется только сопротивлением его тела. Наименее опасно однополюсное прикосновение к проводу изолированной сети в нормальном режиме работы.
Рис. 3. Опасность сетей однофазного тока:
а - схема прикосновения к проводу изолированной сети; б - эквивалентная схема; в - схема прикосновения к незаземленному проводу сети с заземленным полюсом; г - схема прикосновения к проводу неисправной сети; д - схема прикосновения к проводу сети с заземленной средней точкой; е - схема прикосновения к двум проводам сети
Рис. 4. Растекание тока в грунте (а); напряжение прикосновения (б) и напряжение шага (в)
Растекание тока в грунте. Схема растекания тока в фунте представлена на рис.4, а. Замыкание тока происходит при повреждении изоляции и пробое фазы на корпус оборудования, при падении на землю провода под напряжением и по другим причинам. Растекание тока замыкания в фунте определяет характер распределения потенциалов на поверхности земли. Для упрощения анализа сделаем допущения, что ток стекает в грунт через одиночный заземлитель полусферической формы (рис.4, а), что грунт однородный и изотропный и что удельное сопротивление грунта во много раз превышает удельное сопротивление материала заземлителя. Тогда плотность тока в точке А на расстоянии х выразится зависимостью:
,
где
- ток, стекающий с заземлителя в грунт;
- площадь поверхности полусферы радиусом х.
Падение напряжения в элементарном слое фунта толщиной dx выразится через напряженность поля Е и толщину этого слоя:
dU= Edx.
Напряженность поля определяется законом Ома в дифференциальной форме
.
Потенциал точки А (или напряжение в этой точке) равен падению напряжения от точки А до бесконечно удаленной точки с нулевым потенциалом. Поэтому
.
Обозначив
, получим
.
Таким образом, потенциал на поверхности фунта распределяется по закону гиперболы.
Напряжение прикосновения (рис.4, б) - это напряжение между двумя точками цепи тока замыкания на землю (корпус) при одновременном прикосновений к ним человека. Численно оно равно разности потенциалов корпуса
и точек почвы, в которых находятся ноги человека
(рис.4, б), т.е.
или
.
Величину а называют коэффициентом напряжения прикосновения (в пределах этой зоны растекания тока а меньше единицы, а за пределами этой зоны равен единице). Напряжение прикосновения увеличивается по мере удаления от заземлителя, и за пределами зоны растекания тока оно равно напряжению на корпусе оборудования.
Ток, протекающий через человека при прикосновений,
.
Напряжение шага - это напряжение между точками земли, обусловленное растеканием тока замыкания на землю при одновременном касании их ногами человека. Численно напряжение шага равно разности потенциалов точек, на которых находятся ноги человека (рис.3.16, в).
При расположении одной ноги человека на расстоянии х от заземлителя и ширине шага а (обычно принимается а = 80 см) получаем
,
или
.
Аналогично напряжению прикосновения напряжение шага:
,
где
- коэффициент напряжения шага, который зависит от вида заземлителей, расстояния от заземлителя и ширины шага (чем ближе к заземлителю и чем шире шаг, тем больше).
Напряжение шага максимально у заземлителя и уменьшается по мере удаления от заземлителя; вне поля растекания оно равно нулю. Напряженность шага также увеличивается с увеличением ширины шага.
Ток, обусловленный напряжением шага,
.
Следует отметить, что условия поражения человека напряжением прикосновения и напряжением шага различны, так как ток протекает по разным путям: через грудную клетку - от напряжения прикосновения и по нижней петле - от напряжения шага. Значительные напряжения шага вызывают судорогу в ногах, человек падает, после чего цепь тока замыкается вдоль всего тела человека.
Литература
1. Безопасность жизнедеятельности / Под ред. Русака О.Н. - С.-Пб.: ЛТА, 1996.
2. Белов С.В. Безопасность жизнедеятельности - наука о выживании в техносфере. Материалы НМС по дисциплине "Безопасность жизнедеятельности". - М.: МГТУ, 1996.
3. Всероссийский мониторинг социально-трудовой сферы 1995 г. Статистический сборник. - Минтруд РФ, М.: 1996.
4. Гигиена окружающей среды. / Под ред. Сидоренко Г.И. - М.: Медицина, 1985.
5. Гигиена труда при воздействии электромагнитных полей. /Под ред. Ковшило В.Е. - М.: Медицина, 1983.
6. Золотницкий Н.Д., Пчелиниев В.А. Охрана труда в строительстве. - М.: Высшая школа, 1978.
7. Кукин П.П., Лапин В.Л., Попов В.М., Марчевский Л.Э., Сердюк Н.И. Основы радиационной безопасности в жизнедеятельности человека. - Курск, КГТУ, 1995.
8. Лапин В.Л., Попов В.М., Рыжков Ф.Н., Томаков В.И. Безопасное взаимодействие человека с техническими системами. - Курск, КГТУ, 1995.
9. Лапин В.Л., Сердюк Н.И. Охрана труда в литейном производстве. М.: Машиностроение, 1989.
10. Лапин В.Л., Сердюк Н.И. Управление охраной труда на предприятии. - М.: МИГЖ МАТИ, 1986.
11. Левочкин Н.Н. Инженерные расчеты по охране труда. Изд-во Красноярского ун-та, - 1986.
12. Охрана труда в машиностроении. /Под ред. Юдина Б.Я., Белова С.В. М.: Машиностроение, 1983.
13. Охрана труда. Информационно-аналитический бюллетень. Вып.5. - М.: Минтруд РФ, 1996.
14. Путин В.А., Сидоров А.И., Хашковский А.В. Охрана труда, ч.1. - Челябинск, ЧТУ, 1983.
15. Рахманов Б.Н., Чистов Е.Д. Безопасность при эксплуатации лазерных установок. - М.: Машиностроение, 1981.
16. Саборно Р.В., Селедцов В.Ф., Печковский В.И. Электробезопасность на производстве. Методические указания. - Киев: Вища Школа, 1978.
17. Справочная книга по охране труда / Под ред. Русака О.Н., Шайдорова А.А. - Кишинев, Изд-во "Картя Молдовеняскэ", 1978.
18. Белов С.В., Козьяков А.Ф., Партолин О.Ф. и др. Средства защиты в машиностроении. Расчет и проектирование. Справочник. /Под ред. Белова С.В. - М.: Машиностроение, 1989.
19. Титова Г.Н. Токсичность химических веществ. - Л.: ЛТИ, 1983.
20. Толоконцев Н.А. Основы общей промышленной токсикологии. - М.: Медицина, 1978.
21. Юртов Е.В., Лейкин Ю.Л. Химическая токсикология. - М.: МХТИ, 1989.















