30377-1 (642434), страница 3
Текст из файла (страница 3)
Бортовые отсосы. При травлении металлов и нанесении гальванопокрытий с открытой поверхности ванн выделяются пары кислот, щелочей, при цинковании, меднении, серебрении чрезвычайно вредный цианистый водород, при хромировании окись хрома и т.д. Для локализации этих вредных веществ используют бортовые отсосы, представляющие собой щелевидные воздуховоды шириной 40100 мм, устанавливаемые по периферии ванн.
Принцип действия бортового отсоса состоит в том, что затягиваемый в щель воздух, двигаясь над поверхностью жидкости, увлекает с собой вредные вещества, не давая им распространиться вверх по помещению.
Оборудование для вентиляционных систем.
Вентиляторы это воздуходувные машины, создающие определенное давление и служащие для перемещения воздуха при потерях давления в вентиляционной сети не более 12 кПа. Наиболее распространенными являются осевые и радиальные (центробежные) вентиляторы.
Осевой вентилятор представляет собой лопаточное колесо, расположенное в цилиндрическом кожухе. При вращении колеса воздух под действием лопаток перемещается в осевом направлении. Преимуществами осевых вентиляторов являются простота конструкции, возможность эффективного регулирования производительности посредством поворота лопаток, большая производительность, реверсивность работы. К недостаткам относятся относительно малая величина давления и повышенный шум.
Радиальный (центробежный) вентилятор состоит из спирального корпуса с размещенным внутри лопаточным колесом. При вращении колеса воздух поступает через входное отверстие в корпусе, попадает между лопатками и под действием центробежной силы перемещается по каналам между лопатками и выбрасывается через выпускное отверстие.
В зависимости от состава перемещаемого воздуха вентиляторы изготовляют из определенных материалов и различной конструкции:
1) обычного исполнения для перемещения чистого воздуха, изготавливаются из обычных сортов стали;
2) антикоррозионного исполнения для перемещения агрессивных сред, хромистые и хромоникелевые стали винипласт и т.д.;
3) искрозащитного исполнения для перемещения взрывоопасных смесей (содержащих водород, ацетилен и т.п.), основные детали изготавливаются из алюминия и дюралюминия, устанавливается сальниковое уплотнение на валу;
4) пылевые для перемещения пыльного воздуха, рабочие колеса изготавливают из материалов повышенной прочности, они имеют мало (48) лопаток.
Эжекторы применяют в вытяжных системах в тех случаях, когда необходимо удалить очень агрессивную среду, пыль, способную к взрыву не только от удара, но и от трения, или легко воспламеняющиеся взрывоопасные газы (ацетилен, эфир и т.д.).
Принцип действия эжектора следующий (рис.14). Воздух, нагнетаемый расположенным вне помещения компрессором, подводится по трубе 1 (рис. ) к соплу 2 и, выходя из него с большой скоростью, создает за счет эжекции разрежение в камере 3, куда подсасывается воздух из помещения. В конфузоре 4 и горловине 5 происходит перемешивание эжектируемого (из помещения) и эжектирующего воздуха. Диффузор 6 служит для преобразования динамического давления в статическое. Недостатком эжектора является низкий к.п.д, не превышающий 0,25.
Рис.14. Эжектор.
Устройства очистки воздуха.
Очистка воздуха от пыли может быть грубой, средней и тонкой.
Для грубой и средней очистки применяют пылеуловители, действие которых основано на использовании сил тяжести или инерционных сил: пылеосадительные камеры, циклоны, вихревые, жалюзийные, камерные и ротационные пылеуловители (ротоклоны).
Пылеосадительные камеры (рис.15) применяют для осаждения крупной и тяжелой пыли с размером частиц более 100 мкм. Скорость воздуха в поперечном сечении корпуса 2 не более 0,5 мс. Поэтому габариты камер получаются довольно большими, что ограничивает их применение.
Рис. 15. Пылеосадительная камера:
1 – входной патрубок; 2 – корпус; 3 – выходной патрубок; 4 – бункер.
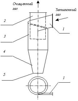
Циклоны применяют для очистки воздуха от сухой неволокнистой и неслипающейся пыли (рис.16).
Рис. 16. Схема циклона:
1 -входной патрубок; 2 - выхлопная труба; 3 - цилиндрическая часть; 4 - коническая часть; 5 - патрубок выхода пыли.
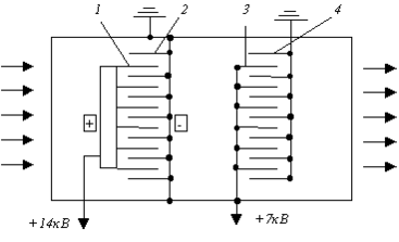
Для очистки приточного воздуха от пыли и тумана применяют электрофильтры. Работа электрофильтров основана на создании сильного электрического поля при помощи выпрямленного тока высокого напряжения (до 35 кВ), подводимого к коронирующим и осадительным электродам. При прохождении запыленного воздуха через зазор между электродами происходит ионизация молекул воздуха с образованием положительных и отрицательных ионов. Ионы, адсорбируясь на частицах пыли, заряжают их положительно или отрицательно. Пыль, получившая заряд отрицательного знака, стремится осесть на положительном электроде, а положительно заряженная пыль оседает на отрицательных электродах. Эти электроды периодически встряхиваются с помощью специального механизма, пыль собирается в бункере и периодически удаляется (рис.17).
Для средней и тонкой очистки воздуха широко используются фильтры, в которых запыленный воздух пропускается через пористые фильтрующие материалы. Если размер частиц пыли больше размера пор фильтрующего материала, то действует поверхностный (сеточный) эффект пылеулавливания. Если размер частиц пыли меньше размера пор, то пыль проникает в фильтрующий материал и оседает на частицах или волокнах, образующих этот материал. Такой процесс фильтрования называется глубинным.
В качестве фильтрующих материалов применяют ткани, войлоки, бумагу, сетки, набивки волокон, металлическую стружку, фарфоровые или металлические полые кольца, пористую керамику или пористые металлы.
Рис.17. Двухзонные электрофильтры ФЭ и РИОН:
1 и 2 положительные и отрицательные электроды соответственно;
3, 4 осадительные электроды.















