63 (641404), страница 3
Текст из файла (страница 3)
Важным для практики применением тросов в космосе является исследование верхней атмосферы Земли. Атмосфера на высоте 100 км недоступна для непосредственного исследования ни с самолетов, ни для спутников. Для полета самолетов эти слои слишком разрежены, а для спутников — слишком плотны. Зондирующие ракеты могут находиться в этих слоях лишь незначительное время. Рассмотрим привязной спутник для негодования атмосферы. Трос длиной около 100 км соединяет спутник-зонд с орбитальным самолетом. Орбитальный самолет летит на высоте 200—250 км над поверхностью Земли и буксирует спутник-зонд на высоте 110—130 км. Такой полет может продолжаться довольно долго. Кроме измерения параметров атмосферы на этих высотах возможно также определение аэродинамических характеристик различных моделей, выпущенных со спушика-зонда. Это дает уникальную возможность экспериментального изучения входа в атмосферу перспективных моделей космических аппаратов. Поэтому эту систему называют также "высотной аэродинамической трубой".
С низколетящего привязного спутника-зонда можно получать снимки Земной поверхности с заметно лучшим разрешением, чем с обыкновенного спутника. Причем можно делать стереоскопические снимки, когда одно изображение получается с зонда, а другое — с орбитального самолета. Спутник-зонд является также средством для тонкого исследования гравитационных и магнитных аномалий и определения коэффициентов при старших гармониках в разложении соответствующих потенциалов.
Для первых экспериментов с атмосферной и электромагнитной ТС на базе орбитального самолета предполагается использовать многослойные тросы толщиной 1—3 мм и погонной массой в пределах 1—10 кг/км.
Выгодным представляется использование тросов для различных транспортных операций в космосе. При традиционном способе межорбитальных перемещении рабочее тело, выброшенное из сопла реактивного двигателя, безвозвратно теряется. С помощью длинных тросов можно образовывать временные связки спутников и изменять их орбиты, передавая без потерь энергию и момент количества движения от одного спутника к другому, т.е. используя один из спутников в качестве реактивной массы. Как показывают расчеты, при рациональной комбинации таких операций с включением реактивного двигателя или электромагнитного тросового двигателя можно достигнуть существенной экономии топлива.
Рассмотрим схему запуска спутника с орбитального самолета с помощью троса. Трос осуществляет передачу спутнику части энергии и момента количества движения орбитального самолета. Это приводит к увеличению апогея орбиты спутника и уменьшению перигея орбиты самолета, в частности орбитальный самолет может выйти на траекторию входа в атмосферу и возвращения на Землю. При отделении последнего топливного бака от орбитального самолета бак не просто сбрасывается, а спускается на длинном тросе, передавая часть своей энергии и момента количества движения орбитальному самолету и увеличивая тем самым апогей его орбиты. Потерявший скорость топливный бак входит в атмосферу и сгорает. По проведенным оценкам, такая схема сброса бака позволит увеличить грузоподъемность орбитального самолета на 1 ,5 тонны без дополнительных затрат топлива.
Использование длинного троса позволяет осуществить торможение орбитального самолета без затрат топлива. Для этого с орбитального самолета на тросе в верхние слои атмосферы спускается баллон, который испытывает значительные аэродинамические сопротивление. Натяжение троса передает эту тормозящую силу орбитальному самолету. После достаточного для посадки снижения скорости баллон отцепляется и сгорает в атмосфере. При использовании крыла вместо баллона можно изменять плоскость орбиты орбитального самолета, если крыло движется не в плоскости орбиты, а с боковым смещением, меняющимся в резонансе с орбитальным движением. Эта операция образно сравнивается с хождением под парусом, только парус оказывается отнесенным от корабля на 100 км!
Интересный способ маневрирования на орбите возникает при периодическом изменении длины троса в резонансе с орбитальным движением. Это приводит к вековой эволюции (правда, очень медленной) орбиты центра масс связки. Если учитывать сплюснутость Земли, то аналогичный эффект наблюдается и при изменении длины троса на удвоенной орбитальной частоте.
"Космический эскалатор". Он состоит из нескольких ступеней - радиальных связок. Запускаемый на высокую орбиту спутник подлетает к нижнему концу каждой связки и по тросу перетягивается на ее верхний конец, затем перелетает к следующей связке и таким образом может быть доставлен, например, на геостационарную орбиту. Постепенное снижение орбит связок, образующих ступени космического эскалатора, может компенсироваться путем использования тросов как электромагнитных двигателей, а также частично за счет встречного потока полезных грузов, возвращаемых с высоких орбит на Землю. По имеющимся оценкам, космический эскалатор позволяет добиться заметной экономии топлива.
Более реальным, чем земной, представляется лунный "космический лифт". В своем движении вокруг Земли Луна остаётся все время повернутой к Земле одной и той же стороной. Это обстоятельство позволяет прикрепить, например, к обратной стороне Луны космическую станцию на тросе, вытянутом вдоль линии Земля - Луна. Эта система, по существу, представляет собой вариант радиальной связки. Её необычность состоит в том, что одним из тел, соединённых тросом, является естественное небесное тело. В отличие от земного космического лифта трос для лунного лифта, изготовленный из современных высокопрочных материалов, может иметь весьма скромные характеристики (средняя погонная масса ~1 кг/км, сечение ~1 мм^2). Привязной спутник Луны может быть использован не только для обмена грузами с поверхностью Луны. Факт удержания космической станции за обратной стороной Луны вблизи коллинеарной точки либрации L2 системы Земля — Луна имеет и самостоятельное значение. Как известно, движение свободного космического аппарата вблизи точки L2 неустойчиво. Вопросам активной стабилизации движения космического аппарата в окрестности точки L2 посвящено большое количество работ. В то же время спутник, привязанный тросом, в окрестности точки L2 не требует никакого управления: его стабилизация имеет пассивный характер.
Подъем грузов с поверхности Луны может осуществляться не только с помощью стационарно закрепленной тросовой системы. Подъём грузов с помощью вращающейся связки двух спутников. Вращательное и орбитальное движения связки подобраны так, чтобы в периселении один из спутников подходил к поверхности Луны с нулевой относительной скоростью и захватывал груз. В апоселении груз отцепляется и выводится на окололунную орбиту. Трос в этой связке должен иметь длину несколько сотен километров.
Высказана оригинальная идея использования естественных спутников Марса — Фобоса и Деймоса - в качестве основы для "космического эскалатора". Для этого с Фобоса и Деймоса в направлении к Марсу и от Марса выпускаются тросы длиной несколько тысяч километров. Такая возможность, как и в случае Луны, обусловлена неизменной ориентацией этих спутников в орбитальных осях, а также слабостью их собственного гравитационного поля. Спутник, поднимающий грузы с поверхности Марса, сначала прибывает на нижний конец тросовой системы Фобоса, затем передвигается вдоль троса на ее верхний конец и перелетает на нижний конец тросовой системы Деймоса. С ее верхнего конца спутник выходит уже на траекторию межпланетного перелета. Система тросов из кевлара погонной массой ~20 кг/км и общей массой ~300 т дает экономию 10 т топлива на каждом запуске 20 т полезной нагрузки. Конечно, "марсианский эскалатор" —дело завтрашнего дня. Однако уже сегодня марсианская автоматическая станция может быть оснащена зондом, выпускаемым на тросе на удаление 50 км от основного спутника для измерения градиентов параметров плазмы и магнитного поля. С той же целью с посадочного аппарата на Фобосе можно развернуть гирлянду датчиков, соединенных последовательно тросами суммарной длиной 50-60 км при массе не более 1 кг.
Сцепление космического аппарата тросом с малыми телами Солнечной системы авторы предлагают использовать для изменения траектории при близком прилете. Собственное гравитационное поле небольшого астероида недостаточно для совершения гравитационного маневра, но если "загарпунить" астероид с пролетающего космического аппарата, то сила натяжения троса с успехом заменит силу притяжения. После совершения маневра трос отцепляется и остается "на память" астероиду.
Как уже отмечалось, современные материалы не позволяют сделать земной космический лифт с приемлемыми характеристиками. Однако можно сделать его "половину", т.е. протянуть трос от геостационарной орбиты не до самой поверхности Земли, а лишь на половину этого расстояния. Речь идет о геосинхронной радиальной связке, в которой верхний спутник находится несколько выше геостационарной орбиты, а нижний спутник находится посредине между геостационарной орбитой и Землей. Соединительный трос из высокопрочных материалов может иметь в этом случае приемлемую погонную массу ~1 кг/км (сечение ~1 мм^2). Привлекательной в этом проекте является возможность иметь геостационарный спутник на высоте, вдвое меньшей высоты геостационарной орбиты.
Для индустриализации космоса могут потребоваться большие производственные комплексы. На рис. Такой комплекс в виде кольца из большого числа производственных, исследовательских и жилых модулей, соединенных последовательно тросами. Такое соединение позволяет расположить модули на близком расстоянии друг от друга, что невозможно в свободном полете из-за неизбежного рассогласовагия скоростей и относительного дрейфа соседних модулей, приводящего к их столкновению. В устойчивом кольце связанных тросами спутников такой дрейф не происходит.
Имеются и менее грандиозные проекты локальных "созвездий" спутников и космических платформ, стабилизируемых в вертикальном направлении гравитационным градиентом, а в горизонтальном направлении - вращением или разностью аэродинамических сил.
Этот список можно еще продолжить. Тем более, что обсуждение каждого варианта применения тросовых систем в космосе рождает новые варианты: заряд "тросовых" идей еще далеко не исчерпан. Конечно, не все они равнозначны по предоставляемым выгодам, затратам и срокам на реализацию. Так, перспектива применения тросовых систем представляется более отдаленной, чем применение систем с электромагнитным взаимодействием троса или системы с атмосферным зондом. Тем не менее исследование динамики этих систем наряду с системами ближайшей перспективы ни в коей мере не является преждевременным. Более того, оно необходимо для глубокого и всестороннего понимания реальных возможностей использования тросов в космосе и создания более полного динамического Портрета этого нового класса космических систем.
Применение тросовых систем в аэростатах с выносным баллонетом
Аэростат с выносным баллонетом
Рассмотренные выше способы и устройства регулирования высоты аэростатов и дирижаблей требуют для своей практической реализации значительных затрат энергии из бортовых источников, если только это не простейшая операция: сброс балласта для подъема либо выпускание газа для спуска. Многократные операции «спуск — подъем» легче проводить на больших дирижаблях с достаточно мощной бортовой энергетикой, чем на автоматических аэростатах малой грузоподъемности. Это приводит к необходимым поискам других, менее энергоемких способов регулирования высоты. В то же время проблема энергоисточников с высокими удельными показателями остается самостоятельной задачей.
Рассмотрим способ регулирования высоты аэростата при помощи выносного баллонета. Физической основой существования такого способа является наличие градиента плотности газа в атмосфере любой планеты. Сущность способа легко понять из схем, представленных на рисисунках.
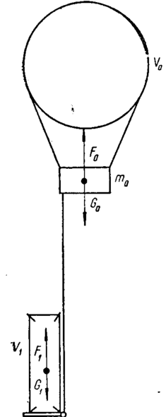
В гондоле аэростата-носителя с объемом оболочки v0 размещается лебёдка, на барабан которой намотан трос длиной Lтр. На конце троса прикреплена другая гондола с оболочкой V1.Обозначим вес аэростата-носителя Go, вес выносного малого аэростата (выносного баллонета) g1. В первый момент вся система находится на некоторой равновесной средней высоте Нср. или высоте исходного дрейфа (рис.). Затем оболочку V1 начинаем опускать на тросе, что нетрудно выполнить, поскольку подъемная сила F1 в этот момент меньше веса G1 выносной конструкции с баллонетом.
На некоторой высоте Н срабатывает система заполнения объема баллонета подъемным газом, появляется подъемная сила f1. По мере спуска плотность атмосферы увеличивается, следовательно, возрастает подъемная сила F1, компенсирующая часть веса, и аэростат-носитель поднимается вверх. Регулирование высотой выносного баллонета позволяет регулировать высоту основного аэростата-носителя, брать пробы газа аппаратурой, установленной в гондоле баллонета, а перегревшуюся гондолу с научной аппаратурой периодически поднимать для охлаждения в верхние, более холодные слон атмосферы. Представляет интерес исследовать возможность оригинального решения проблемы энергоснабжения аппаратуры аэростата-носителя за счет аккумулирования тепла при опускании выносного баллонета в горячие слои атмосферы, отдачи тепла и его преобразования в тепловой машине в верхних слоях атмосферы. Однако все это требует определения весовых соотношений элементов данной системы.
При расчете наиболее простым является случай, когда объем выносного баллонета постоянный, т. е. V













