179234 (628141), страница 3
Текст из файла (страница 3)
Одновременно были образованы Региональные комиссии (РЭК), осуществляющие регулирование на территории соответствующих субъектов Федерации.
Таким образом, были созданы организационные предпосылки для формирования полноценной системы государственного регулирования деятельности в газовом секторе экономики как на федеральном, так и на региональном уровнях.
Однако в отличие от электроэнергетики этого не произошло, так как одновременно с организационными не были решены вопросы методического обеспечения регулирующей деятельности государства в газораспределении. При этом до настоящего времени остаются в методическом плане нерешенными проблемы достаточного охвата регулированием сфер (видов) деятельности в газораспределении, а также не обеспечено методическое единство регулирования на федеральном и региональном уровнях.
Такое положение объясняется, в первую очередь, следующими причинами:
• несовершенством антимонопольного законодательства;
• отсутствием вертикали подчиненности в системе органов регулирования.
В электроэнергетике предметом государственного регулирования является вся система тарифов, включая тарифы на электроэнергию, отпускаемую конечным потребителям. Более того, деятельность по регулированию тарифов регламентируется специальным Федеральным законом. В то же время в газовой отрасли предметом антимонопольного регулирования, требующего как минимум контроля над уровнем цен и тарифов, признана исключительно транспортировка газа по трубопроводам.
Таким образом, регулирование (или хотя бы его методическое обеспечение) ценообразования на газ для населения выпало из сферы внимания и деятельности ФЭК.
Вместе с этим создаваемые в регионах РЭК не входят в единую систему государственного регулирования, и решения ФЭК в области цен на газ для населения носят для них практически исключительно рекомендательный характер. Можно сказать, что этот уровень регулирования полностью подчинен руководству местных администраций, что определяет разнонаправленную политику в сфере ценообразования на газ для населения.
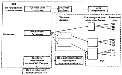
Рис. 2 иллюстрирует сложившуюся в настоящее время систему регулирования цен и тарифов в газораспределении с характерным разрывом функций и полномочий федерального и регионального уровней регулирования.
Рис. 2. Схема регулирования цен и тарифов в газовой отрасли Российской Федерации.
Становление рыночных отношений в газоснабжении РФ с очевидностью проявляет искусственный и непоследовательный характер существующей схемы формирования цен на газ.
Представляется целесообразным выделить пять основных взаимосвязанных групп методических и организационных проблем подхода к формированию тарифов на газ, решение которых необходимо для повышения эффективности хозяйственных отношений в региональном газоснабжении.
Первая группа проблем связана с нарушениями соответствия устанавливаемых тарифов реальным стоимостным характеристикам производства и транспортирования газа, а именно, установлением разных уровней цен на оптовом рынке газа - повышенных для промышленных потребителей и пониженных для населения, при этом дополнительным источником искажения цен является отсутствие акциза при поставке газа для населения.
Это привело к следующим основным результатам:
• общий рост цен на товарную продукцию промышленности (особенно на повышение тарифов в электроэнергетике) дополнительно обострил кризис неплатежей;
• сформировалась целая спираль удорожаний, что в конечном счете проявилось в удорожании потребительской корзины населения.
Такой метод экономической «поддержки» населения не решает проблемы, перекладывая груз роста стоимости жизни на один из потребляемых продуктов.
Вторая группа проблем связана с установлением сбытовой надбавки для газораспределительных организаций (ГРО). Сбытовая надбавка на газ является одной из составляющих цен потребления, и регулирование ее размера не может и не должно рассматриваться в отрыве от всей системы ценообразования в условиях рыночной экономики. Сложившиеся экономические диспропорции в системе газоснабжения в значительной степени являются результатом изолированного регулирования сбытовых надбавок без учета их роли в ценообразовании и в отрыве от существующих в данной отрасли организационной структуры и структуры собственности. Отрыв методов регулирования от условий хозяйственной деятельности проявляется даже в сохранении самого названия составляющей цены потребления на газ, которая формирует доход предприятий газораспределения - «сбытовая надбавка».
Более соответствующим экономическому содержанию этого показателя является термин «тариф на услуги» ГРО, которые осуществляют поставку газа потребителям и предоставляют им другие услуги.
Действующий порядок определения уровней сбытовых надбавок к оптовой цене газа в значительной мере явился следствием отсутствия при переходе к рыночной экономике общей методологии и нормативной базы ценового регулирования в газовой отрасли.
Традиционно, как следствие плановой экономики и государственной собственности на производственные мощности систем распределительного транспорта газа, сохранился метод установления сбытовой надбавки для промышленных потребителей (ДЦп) в долях к единой по стране оптовой цене газа для этих потребителей (Цпо), с той разницей, что в плановой экономике устанавливаемая величина доли принималась для обеспечения покрытия эксплуатационных затрат отрасли в целом без учета необходимых финансовых ресурсов на неотложное замещение и модернизацию части существующих газораспределительных сетей и различных технологических объектов обслуживающего и подсобного назначения, а также на выполнение намеченных программ по развитию газификации.
Вывод о занижении оплаты сбытовых услуг подтверждается и сопоставлением ее уровня с уровнями в дореформенном периоде. Так, до 1991 года сбытовые надбавки к оптовой цене на газ составляли в среднем по регионам 25%, что обеспечивало покрытие текущих эксплуатационных затрат и частичную замену ветхих газопроводов и газового оборудования. Кроме этого ежегодно выделялись бюджетные капиталовложения на развитие газификации регионов, практически прекращенные в период перестройки экономики. Соответственно, чрезвычайное отставание ремонтных и строительно-монтажных работ в региональном газоснабжении объясняет и ситуацию, сложившуюся с реализацией программ развития газификации, которые выполнялись в период перестройки лишь на 10-15%.
Действующий порядок установления единой по всей территории страны сбытовой надбавки не учитывал специфику структуры, протяженности и состояния газораспределительных сетей, структуры потребителей газа, территориальных особенностей, а также реализации программ газификации каждой конкретной ГРО. В действительности себестоимость услуг различных ГРО колеблется в соответствии с долей населения на обслуживаемой территории. Следствием этого является нарушение экономически обоснованных уровней и дифференциации тарифов, что противоречит существующим различиям в размещении потребителей и специфике издержек при газоснабжении различных категорий потребителей газа и приводит к искажению объективной оценки экономического положения как газоснабжающих организаций, так и потребителей.
Со временем оптовые цены на газ для промышленных потребителей были дифференцированы сначала по 3 зонам, а затем по 6 ценовым поясам, но сбытовая надбавка для промышленности была установлена на уровне 29,5 тыс.руб./ тыс. м куб. газа, а для населения была дана рекомендация не выходить за пределы налога на добавленную стоимость (20%).
Одновременно с подготовкой зональных оптовых цен на газ в конце 2007 г. были предприняты попытки дифференциации надбавок для ГРО. Однако вследствие трудности задачи в условиях неоптимального формирования и последующей приватизации ГРО (по принадлежности Субъектам Федерации) надбавка для промышленных потребителей была оставлена на прежнем уровне.
Третья группа проблем связана с тем, что тарифы на сбытовые услуги для различных категорий потребителей устанавливаются на разных уровнях управления: для промышленных - на федеральном уровне, для населения - на региональном (РЭК совместно с главами администрации), что с учетом отсутствия независимости этих органов в политическом и экономическом аспектах не способствует реализации согласованных методов и процедур определения тарифов.
Поскольку российская ценовая политика в газоснабжении практически противоречила мировым стандартам соотношения затрат для разных категорий потребителей, то уже в 2005 году привела к структуре цен, отличающейся от мировых с точностью до «наоборот» (табл. 1).
Таблица 1. Сопоставление тарифов на газ на рынке России и Западной Европы в 2005 г., долл./1000 м3.
| Страна | Оптовый рынок | Категории конечного потребления | |||||
| Промышленность | ТЭС | Ком/быт и население | |||||
| Россия | 59-61* | 64-66* | 64-66* | 6-10** | |||
| Германия | 70-90 | 140-170 | 120-140 | 300-350 | |||
| Франция | 70-90 | 130-140 | н.д. | 410-420 | |||
* Уровни тарифов приведены с учетом НДС.
** Приведенный интервал значений соответствует средневзвешенном величине потребительских цен с учетом предоставления льгот отдельным категориям потребителей.
Конечно, это сравнение носит относительный характер, поскольку осуществляется со странами рыночной экономики, с более высоким уровнем жизни населения и наличием значительной доли импорта газа. Эти факты скорее свидетельствуют о том, что газом пользуется платежеспособное население. И все же нельзя не обратить внимание на противоположное соотношение цен на газ для промышленности (работающей на все население) и населения. При этом, как будет указано ниже, страны рыночной экономики не отказываются от элементов перекрестного субсидирования, но не за счет промышленности.
Как следует из данных табл. 1., цены на газ для населения и комбыта в России не превышали 15% от цен для промышленных потребителей, и только к 2007 году это соотношение выросло до 50 %.
В 2009 году по методике Федеральной энергетической комиссии впервые были утверждены дифференцированные (отдельно за пользование сетями и транспортировку газа) надбавки по 18 ГРО субъектов Федерации.
Эта работа ФЭК продолжается, однако, как и прежде, регулирование цен для населения осуществляет РЭК. Поскольку ФЭК не затрагивает вопросов ценообразования для населения даже в методическом плане, представляется, что перекрестное субсидирование населения за счет промышленности останется на прежнем уровне.
- Четвертая группа проблем связана с формированием ГРО и их приватизацией. В условиях рыночной экономики не могли бы сложиться ГРО со столь неэффективной структурой потребителей, приводящей к убыточной деятельности.
Проблема в том, что приватизация отечественных ГРО осуществлялась практически по административному делению, сложившемуся в период административно-командной системы, без учета профиля деятельности субъектов Федерации и их экономического фактора. И хотя необходимый передел собственности в настоящее время пугает как самих ГРО, так и государственные органы, квалификационный рост управленцев рано или поздно должен привести их к этому решению.
Пятая группа проблем связана с наличием в составе ГРО убыточных подразделений по снабжению населения сжиженным газом. Их убыточность определяется тем фактом, что близлежащие заводы требуют предоплату, нищая ГРО не может ее осуществить, и сжиженный газ приходится привозить из Западной Сибири. Тарифы на транспортировку в этом случае складываются из железнодорожного тарифа, регулируемого государством, и нерегулируемой оплаты услуг специализированного предприятия «СГ-Транс» (специальные транспортные средства, хранение и перевалка на кустовых базах, в некоторых случаях - перепродажа).
В зависимости от состояния ГРО (осуществляется ли перекрестное субсидирование потребителей сжиженного газа за счет природного, или в других случаях) растет задолженность ГРО за природный газ перед Газпромом и бюджетами разных уровней.
3 Зарубежный опыт формирования конкурентных условий поставки газа с позиций его применимости в условиях Российской Федерации
Нерешенность совокупности экономических и организационных проблем, связанных с совершенствованием функционирования и развития потребительского рынка газа в России, обусловливает актуальность изучения зарубежного опыта в этой сфере. Исследованию проблем государственного регулирования и контроля в указанном секторе экономики посвящено большое количество работ.















