169777 (625404), страница 2
Текст из файла (страница 2)
Контроль якості води джерел централізованого господарсько-питного водопостачання здійснюється щодня місцевою санепідемслужбою і підприємством, що експлуатує водозабірні споруди.
Питні водозабори з підземних водоносних горизонтів звичайно розташовуються в межах міської території. Навколо них створюється зона санітарної охорони. Підземні води використовуються як для централізованого господарсько-питного водопостачання, так і для децентралізованого.
Одна з найважливіших частин життєзабезпечення міст - централізоване водопостачання - зіштовхується в останні десятиліття з великими труднощями. Дефіцит водних ресурсів потрібної якості приводить до необхідності транспортувати воду на сотні кілометрів. Зношеність і санітарний стан водоводов і розвідних мереж у багатьох містах України досягли критичного рівня.
Істотним недоліком централізованого водопостачання є застосування хлору для знезаражування води, що приведе до утворення і впливу на населення токсичних хлорорганических з'єднань. Хлорування води ефективно тільки стосовно холерного вібріона, збудникам черевного тифу і дизентерії. Відносно стійкими до хлорування залишаються збудники паратифу і мікрококи, спорові форми, ентеровіруси, цисти найпростіших, синьогнійна паличка й ін. Застосування інших методів знезаражування води стримується в зв'язку з їх більш високою вартістю.
Централізоване водопостачання населення міст знаходиться в залежності від роботи систем водоотведения.
2.2 Децентралізоване водопостачання
Потреба людини в питній воді не перевищує 10 л/добу, що складає менш 5% від загального обсягу води, що приходиться на одного міського жителя при централізованому водопостачанні. Якісна питна вода в такій кількості може бути надана городянам з підземних джерел, у першу чергу кондиційних питних підземних вод із глибоких, надійно ізольованих горизонтів. Можуть розглядатися наступні варіанти децентралізованого водопостачання: бутилювання і пакетування екологічно чистої води, розвіз спеціальними автомашинами і відпуст води в тару споживача, організація водорозбірних пунктів і бюветів у житлових кварталах. Досвід використання підземних вод для децентралізованого водопостачання накопичений у Бердянську, Києві, Харкові і деяких інших містах України. Також можуть використовуватися поверхневі води, що пройшли очищення. Так, в Одесі й інших південних містах України через торговельну мережу надходить очищена на фільтрах річкова вода, що набирається населенням у свою тару. У Києві після Чорнобильської катастрофи в терміновому порядку було організовано децентралізоване питне водопостачання з мережі артезіанських свердловин з забором води населенням через стовпчики. У Бердянську водорозбірні пункти обладнані на магістральному водоводі, що подає кондиційну питну воду до головних споруд централізованої системи водопостачання. Розбір води здійснюється безкоштовно (Бердянськ, Київ) або за порівняно невелику плату від 3 до 15 коп. за літр (Одеса, Харків). Вартість бутильованої і пакетирувальної води значно вище - до 1 грн. за літр і вище.
Особливий інтерес представляє спосіб децентралізованого водопостачання з бюветів на базі спеціальних артезіанських свердловин, розміщених безпосередньо в житлових кварталах міст.
Скважинні водозабори обладнаються заглибними насосами і накопичувальними резервуарами. Улаштовуються зони санітарної охорони і зручні для населення підходи. Водорозбірні пункти повинні перебувати за межами зони суворого режиму. У розрахунку на неминучі втрати води обладнуються системи водовідводу в зливну систему.
З метою підвищення надійності роботи локальних водозаборів необхідно передбачити запасні системи автономного енергозабезпечення - дизельні електростанції, а також запасні накопичувальні ємності.
Економічні розрахунки показують, що в умовах щільної житлової забудови навіть при глибині водозабірної свердловини 800 м витрати на будівництво бювета при відпускній ціні на воду 5 коп. за літр окупляться за 2-2,5 року, а прибуток при наступній експлуатації одного бювета буде перевищувати 350 тис. грн. на рік.
Технологія децентралізованого питного водопостачання має наступні переваги:
-
з'являється незалежна, надійно захищена система питного водопостачання на випадок аварій і інших надзвичайних ситуацій;
-
підвищується надійність системи питного забезпечення, тому що при виході з ладу одного джерела населення може користуватися сусідніми;
-
ощадливо витрачається артезіанська вода високої питної якості, запаси якої обмежені;
-
для питних цілей використовується вода, що вимагає менших, у порівнянні з поверхневими вододжерелами, витрат на її підготовку;
-
питна вода, що розбирається населенням у бюветах, на порядок дешевше бутильованої.
Необхідно підкреслити, що розглянуті варіанти децентралізованого водопостачання є лише доповненням до централізованих систем водопостачання міст і пропонують альтернативне джерело якісної питної води, що підвищує стійкість системи життєзабезпечення в кризових ситуаціях.
2.3 Раціональне використання водних ресурсів
Хоч водні ресурси відносяться до категорії відвлюваних, їх інтенсивне використання в окремих районах і на деяких виробництвах нерідко невиправдано завищено, що приводить до виникнення їх дефіциту і, як наслідок, гальмує економічний і соціальний розвиток даної території. Практично у всіх видах водоспоживання існують істотні резерви економії водних ресурсів. Особливо великі вони в промисловості. Для більшості промислових виробництв вимоги до якості використовуваної води значно менш тверді, ніж до складу вод, що підлягають скиданню у водний об'єкт або в міську систему водовідведення. Тому виробничі стічні води набагато вигідніше направляти на повторне використання в системах оборотного і послідовного водозабезпечення, ніж піддавати очищенню, що задовольняє умовам скидання. У системах оборотного водопостачання вода, використана в технологічному процесі, після відповідної обробки багаторазово використовується для виробничих потреб. У системах послідовного водопостачання вода, використана в одному технологічному процесі, після обробки або без такої направляється для використання в іншому технологічному процесі або на інше виробництво. Обробка води забезпечує підтримку її властивостей відповідно до вимог конкретного технологічного процесу, що досягається охолодженням або очищенням від зайвого вмісту зважених речовин або домішок, що плавають, підвищеної мінералізації і т.д. Найбільшого поширення оборотні системи водопостачання одержали в теплообмінних циклах, де технологічна вода використовується для відведення зайвого тепла від працюючих агрегатів, після чого сама подається на охолодження. Охолодження води відбувається в градирнях (мал. 3) або в бризкальних басейнах (мал. 4). У процесі охолоджень 2-3% води випаровується або розприскується. Крім того, через негерметичність теплообмінної або водогінної мережі мають місце витоку води. Тому оборотні системи повинні постійно поповнюватися свіжою водою. За рахунок випару в оборотному циклі зростають мінералізація і твердість води, що приводить до відкладення солей (карбонатів кальцію і магнію) на стінках теплообмінної апаратури і водопровідних труб. Для зниження мінералізації і твердості води в оборотній системі частина технологічної води (8-10%) періодично замінюють свіжою. Цей процес називається продувним циклом. Для повторного використання технологічної води, що мала контакт із сировиною або готовою продукцією, її піддають очищенню відповідно до вимог технологічного процесу. Оборотне водопостачання дозволяє в десятки разів зменшити споживання свіжої води.
Рис. 3. Градирня баштового типу:
1 - нагріта вода; 2 - подача повітря; 3 - охолоджена вода
Рис. 4. Бризкальний басейн:
1 - басейн з охолодженою водою; 2 - водозабір; 3 - насосна; 4 - насос; 5 - запасний бак; 6 - конденсатор; 7 - трубопровід нагрітої води; 8 - фонтани
Ефективність використання води у виробництві оцінюється: коефіцієнтом використання води, коефіцієнтом вод оборота, безповоротними втратами води.
У багатьох технологічних процесах і виробництвах створені замкнуті системи водопостачання, що виключають скидання стічних вод. До складу замкнутих систем водопостачання входять споруди для очищення технологічної води, що забезпечують підтримку її складу і властивостей відповідно до вимог даного технологічного процесу.
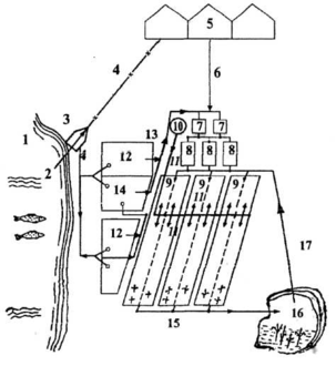
Для подолання наростаючого дефіциту водних ресурсів, а також з метою зменшення плати за забір води створюються замкнуті системи водного господарства промислових вузлів і територіально-промислових комплексів (мал. 5). Поповнення безповоротних утрат води в замкнутих системах проводиться з водних об'єктів або за рахунок використання очищених стічних, дощових і поталих вод. Останні особливо кращі завдяки їх низькій мінералізації.
Рис. 5. Замкнута система водного господарства:
1 - водний об'єкт; 2 - водозабір; 3 - водопідготовка питної води; 4 - водопровід; 5 - житловий масив; 6 - колектор господарсько-побутових стічних вод; 7 - споруди механічного очищення стічних вод; 8 - споруди біологічного очищення; 9 - землеробські поля зрошення з підземними колекторами; 10 - метантенки; 11 - подача мулу на землеробські поля зрошення; 12 - промислові підприємства; 13 - колектор виробничих стічних вод; 14 - повторне використання стічних вод; 15 - скидання зрошувальних вод; 16 - нагромаджувач зрошувальних вод; 17 - повторне використання зрошувальних вод.
РОЗДІЛ 3 Оцінка стану водних об'єктів
3.1 Показники якості води
Оскільки не існує єдиного показника, що характеризував би весь комплекс характеристик води, оцінка якості води ведеться на основі системи показників. Показники якості води поділяються на фізичні, бактеріологічні, гідробіологічн і хімічні. Іншою формою класифікації показників якості води є їх поділ на загальні і специфічні. До загального відносять показники, характерні для будь-яких водних об'єктів. Присутність у воді специфічних показників обумовлено місцевими природними умовами, а також особливостями антропогенного впливу на водний об'єкт.
До основних фізичних показників якості води відносяться:
Температура води. У водних об'єктах температура є результатом одночасної дії сонячної радіації, теплообміну з атмосферою, переносу тепла течіями, перемішування водних мас і надходження підігрітих вод із зовнішніх джерел. Температура впливає практично на всі процеси, від яких залежать склад і властивості води. Температура води виміряється в градусах Цельсия (°С).
Запах. Запах води створюється специфічними речовинами, що надходять у воду в результаті життєдіяльності гідробіонтів, розкладання органічних речовин, хімічної взаємодії компонентів, що утримуються у воді, і надходження з зовнішніх (алохтонних) джерел. Запах води вимірюється в балах.
Прозорість. Прозорість води залежить від ступеня розсіювання сонячного світла у воді речовинами органічного і мінерального походження, що знаходяться у воді в зваженому і колоїдному стані. Прозорість визначає протікання біохімічних процесів, що вимагають освітленості (первинне продукування, фотоліз). Прозорість виміряється в сантиметрах.
Кольоровість. Кольоровість води обумовлюється вмістом органічних забарвлених сполук. Речовини, що визначають забарвлення води, надходять у воду унаслідок вивітрювання гірських порід, внутрішньоводоймових продукційних процесів, з підземним стоком, з антропогенних джерел. Висока кольоровість знижує органолептичні властивості води, зменшує вміст розчиненого кисню. Кольоровість виміряється в градусах.
Вміст зважених речовин. Джерелами зважених речовин можуть служити процеси ерозії ґрунтів і гірських порід, збовтування донних відкладень, продукти метаболізму і розкладання гідробіонтів, продукти хімічних реакцій і антропогенні джерела. Зважені речовини впливають на глибину проникнення сонячного світла, погіршують життєдіяльність гідробіонтів, приводять до замулювання водних об'єктів, викликаючи їх екологічне старіння (евтрофікацію). Вміст зважених речовин виміряється в г/м3 (мг/л).
Бактеріологічні показники характеризують забруднення води патогенними мікроорганізмами. До числа найважливіших бактеріологічних показників відносять: коло-індекс - кількість кишкових паличок в одному літрі води; коло-титр - кількість води в миллилитрах, у якому може бути виявлена одна кишкова паличка; чисельність лактозопозитивних кишкових паличок; чисельність коліфагів.
Гідробіологічні показники дають можливість оцінити якість води за твариними організмами і рослинністю водойм. Зміна видового складу водних екосистем може відбуватися при настільки слабкому забрудненні водних об'єктів, що не виявляється ніякими іншими методами. Тому гідробіологічні показники є найбільш чутливими. Існує кілька підходів до гідробіологічної оцінки якості води.
Оцінка якості води за рівнем сапробності. Сапробність - це ступінь насичення води органічними речовинами. Відповідно до цього підходу водні об'єкти (або їх ділянки) у залежності від вмісту органічних речовин підрозділяють на полісапробні, α-мезосапробные, β-мезо-сапробні й олігосапробні. Найбільш забрудненими є полісапробні водні об'єкти. Кожному рівню сапробности відповідає свій набір індикаторних організмів-сапробіонтів. На основі індикаторної значимості організмів і їх кількості обчислюють індекс сапробності, по якому визначається рівень сапробності.















