168932 (625224), страница 2
Текст из файла (страница 2)
де hg – максимальний шар опадів за час дощу у мм, стік від якого акумулюється цілком (для промислових підприємств першої групи приймається в межах 10...15 мм);
Ψq – коефіцієнт стоку дощових вод (для проммайданчиків Ψq≈0,3 -0,5).
Wсек приймаємо від 40 до 60 м3.
2. Знаходимо кількість секцій:
=
(шт). (3.2)
Тривалість відстоювання поверхневого стоку – не менше 1 доби. Ефект освітлення при цьому складає 80%.
3. Визначаємо кількість осаду Woc, що затримується в акумулюючій ємності протягом року, за формулою (3.1):
, (3.3)
, (м3).
де S – коефіцієнт, що враховує частину річного обсягу дощових вод, що направляються на очищення. При g20 = 0,90 л/с га S =0,68 (Україна);
hg – шар опадів, що випали, у мм, за теплий період року (387 мм);
Сср – середній вміст завислих речовин у поверхневому стоці, що надходить на очищення, г/л;
Э – ефект видалення завислих речовин з дощових вод у акумулюючій ємності, %;
γ – середня концентрація твердої фази в ущільненому осаді, кг/м3 (200 ≈ кг/м3).
При тривалості відстоювання стоку в акумулюючій ємності протягом 1...2 доби ефект зниження змісту завислих речовин дорівнює 80-90 %, що цілком достатньо для скидання освітленої води в водойму або для використання її в системі замкнутого водопостачання (для технічних цілей). Залишковий вміст завислих речовин у вистояній воді може бути прийнятий в межах 50-200 мг/л, органічних домішок БСК – 20...30 мг/л , нафтопродуктів – 0,5...5 мг/л.
При необхідності більш тонкого очищення освітлена в акумулюючій ємності вода фільтрується через найпростіші фільтри (поліуретанові, зі спіненого полістиролу) у виді крихти (чи гранул) розміром 1...2 см (2..5 мм) з товщиною шару фільтра 1...2 м. Швидкість фільтрування при цьому 20-30 м/год , ефект освітлення 90-95 %.
Після відстоювання в акумулюючій ємності освітлена вода може скидатися у водойми (через спеціальні зливні пристрої або за допомогою насосів). Осівші на дні завислі речовини видаляються або вручну, або за допомогою спеціальних пристроїв (насосами для перекачування шламів а інше). Для полегшення видалення осаду днище кожної секції влаштовується під ухилом до приямку, розташованому в центрі секції (і ≥ 0,05), а ухил стінок приямку і ≥ 45о.
Для зневоднення вилученого осаду його варто витримувати на майданчика - ущільнювачах, обгороджених земляними валами висотою до 1 м. Навантаження на 1 м2 майданчика може доходити до 3 м3 зневодненого осаду на рік. Майданчики поділяють на корти з пристроями для відводу освітленої води. Можна складувати вилучений з акумулюючої ємності осад у спеціальних ставках-мулонакопичувачах, що влаштовуються в природних западинах, випрацюваних кар'єрах.
Висоту зони відстоювання в ємності варто приймати в межах 1,5...4 м, висоту вільної зони над рівнем води – 0,3...0,5 м, висоту нейтральної зони над рівнем осаду – 0,4...0,5 м (рисунок 3.1).
Акумулюючі ємності проектуються прямокутними в плані і розділеними на секції. Корисний обсяг однієї секції слід розраховувати на прийом стоку від шару опадів 2,5...5 мм. Частина стоку, що не вмістилась в акумулюючій ємності (при сильних дощах) може прямо скидатися у водойму. Він мало забруднений, оскільки основний обсяг завислих речовин знаходиться в початковому обсязі стоку, що потрапив у акумулюючу ємність.
Варто передбачити в кожній секції пристрій для періодичного видалення нафтопродуктів, якщо вони містяться в стоці (дивись конструкцію споруджень закритого типу).
4. Визначаємо довжину секції lc:
, м. (3.4)
Висота вільної зони над рівнем води приймаємо в межах 0,3 – 0,5 м. Висоту нейтральної зони над осадом приймаємо 0,4 - 0,5 м.
5. Визначаємо товщину шару осаду:
м. (3.5)
6. Знаходимо повну глибину кожної секції:
Нс = hcв. + hc + hн.з. + hсл.ос. = 0,042 + 2 + 0,4 + 0,4 = 2,842 м. (3.6)
1.4 Розрахунок проточних горизонтальних ставків-відстійників
Горизонтальні ставки-відстійники (рисунок 4.1) призначені для очищення стічних вод від завислих речовин за рахунок їхнього осадження при малій швидкості протікання води через перетин ставка-відстійника. Для збільшення продуктивності він може складатися з декількох ізольованих секцій.
Рисунок 4.1 – Схема горизонтального ставка-відстійника
1 – колектор дощової каналізації; 2 – розподільна камера; 3 – підходящій трубопровід; 4 – відсік для збирання масло- та нафтопродуктів; 5 – секція відстійника; 6 – сміттєуловлюючі ґрати; 7 – напівзаглиблені щіти; 8 – приймач масло- та нафтопродуктів; 9 – ємність для відстоювання масло- та нафтопродуктів; 10 – водозабірний колодязь; 11 – водоскид; 12 – камера скидання очищеної води.
При розрахунку ставка-відстійника визначаються розміри спорудження та об’єм затриманих забруднень. При цьому в залежності від прийнятого розрахункового часу відстоювання в цих спорудженнях (що пов'язано зі швидкістю протікання води) можна домогтися різного ступеня очищення стічних вод (таблиця 4.1).
Таблиця 4.1 – Залежність ступеня очищення води від часу відстоювання
| Вид забруднення | Ступінь очищення води (%) від первісного рівня при часі відстоювання , год. | ||||
| 2 | 4 | 6 | 8 | 10 | |
| Завислі речовини | 80 | 85 | 90 | 95 | 95 |
| Нафтопродукти | 80 | 80 | 90 | 90 | 90 |
| Сміття, що плаває | 100 | 100 | 100 | 100 | 100 |
Біологічне споживання кисню (БСК) зменшується через 90 хв. відстоювання на 50-75 %.
Горизонтальні ставки-відстійники можуть складатися з декількох секцій.
1. Визначаємо сумарну площу горизонтальних відстійників у плані:
,
, м2, (4.1)
де Qоч – розрахункова витрата стічних вод, що надходять на очищення, м3/год;
Uo – швидкість випадання суспензій, затримуваних відстійником, мм/с;
– коефіцієнт, що враховує вплив вертикальної складової швидкості осадження часток;
=
, (4.2)
де Vcp – середня швидкість руху води в ставку-відстійнику, що складає 3...7 мм/с.
Швидкість випадання в осад завислих речовин зі стічних вод при висоті зони осадження у відстійнику 2...3,5 м приймається в залежності від необхідної ефективності освітлювання Э.
При:
Э = 50% Uo = 0,4 мм/с
Э = 75% Uo = 0,15 мм/с
Э = 85% Uo = 0,05 мм/с
2. Визначаємо довжину відстійника Lo за формулою:
м, (4.3)
де Но – висота зони осадження (2...3,5 м).
3. Знаходимо загальну ширину всіх секцій відстійника В за формулою:
м. (4.4)
Обсяг і глибина осадової частини відстійника, відповідно Wo та ho, визначається за сумарним обсягом твердого осаду Wo, за формулою (4.6). При цьому кількість опадів (дощових) у середній частині України 300 мм. З них очищенню підлягає 75 %, тобто ≈ 200мм. Виходячи з цього, обсяг вод, що очищають, з 1 га протягом року ≈ 2000 м3,
4. Визначаємо обсяг твердого стоку за рік:
м3, (4.5)
1.5. Розрахунок споруджень закритого типу
Спорудження закритого типу призначені для очищення стічних вод від завислих речовин, нафтопродуктів. Ефективність очищення є досить високою за рахунок пропуску забрудненої води через фільтри на завершальній стадії очищення (рисунок 5.1). Осадження основної завислих речовин часток відбувається на першій стадії очищення при повільному протіканні води через перетин спорудження.
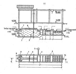
Рисунок 5.1 – Схема очисних споруд закритого типу
1 - відстійник; 2 - мазутозбірний лоток; 3 - контейнер для мазуту; 4 - фільтри; 5- насос "Гном 25/20"; 6 - пристрій скребкове для підгону мазуту; 7-водовідбійна стінка; 8 - розподільна труба ( лоток); 9 - труба, що підводить;
10 - відвідна труба.
Споруди закритого типу можуть застосовуватися при очищенні невеликих обсягів стічних вод. Проте, збільшуючи кількість секцій, з яких складаються ці спорудження, можна збільшувати і їхню продуктивність, тим самим розширюючи можливості їхнього застосування.
Розрахунки споруд закритого типу проводяться так само, як і ставків-відстійників. Відмінність тільки в чисельних значеннях окремих параметрів, що входять у розрахункові формули. Ці відмінності наступні:
- ширина секції підземного (закритого) спорудження приймається не більш 4 м;
- значення коефіцієнта ,що враховує турбулентність і отруйність потоку, для закритих споруд з фільтрами доочищення приймається рівним 1,2;
- значення швидкості підйому часток нафтопродуктів Umіn = 0,71...1,02 мм/с, що відповідає розміру часток 100...120 мкм.
Подача стічних вод у ставки-відстійники здійснюється, як правило, прямо, без яких-небудь накопичувальних (акумулюючих) ємностей. При подачі поверхневого стоку в закриті очисні споруди при малому обсязі цих споруд і великій водозбірній площі часто влаштовують резервуар, що акумулює, у якому накопичується основний обсяг забрудненого стоку, що утворився в початковий період дощу. Ця частина стоку і подається поступово на очищення. Інша, наступна частина дощового потоку, що не містить значної кількості забруднюючих домішок, скидається без очищення у водойму. Розміри акумулюючої ємності розраховуються з урахуванням вміщення дощового стоку протягом перших 20 хв. (найбільш забруднений стік) при інтенсивності дощу 4,5 л/с на 1 га.
Ефективність очищення стоку в спорудах закритого типу доходить до 90 %.
Проведемо розрахунок параметрів споруди закритого типу:















