261622 (625040), страница 2
Текст из файла (страница 2)
При выпаривании под атмосферным давлением (проводят в однокорпусных выпарных установках) вторичный пар используется и обычно удаляется в атмосферу. Такой способ выпаривания является наиболее простым, но наименее экономичным. Экономия вторичного пара может быть также достигнута в однокорпусных выпарных установках с тепловым насосом. В таких установках вторичный пар на выходе из аппарата сжимается с помощью теплового насоса (например, термокомпрессора) до давления, соответствующего температуре первичного пара, после чего он вновь возвращается в аппарат.
Многокорпусная установка позволяет значительно снизить расход тепла за счет многократного использования пара. Предельно выгодное или оптимальное число корпусов зависит одновременно от расхода пара и его стоимости, от единовременной стоимости выпарной установки, срока ее амортизации и др. На практике число корпусов обычно не превышает 5-6.
1.3 Конструкции выпарных аппаратов
Наибольшее распространение в химической и смежных отраслях промышленности получили высокопроизводительные выпарные аппараты непрерывного действия, особенно трубчатые выпарные аппараты различных типов. Нагревательные камеры таких аппаратов могут быть непосредственно соосно соединены с сепараторами в единое устройство. Возможно и устройство, состоящее из двух самостоятельных элементов: нагревательной камеры и сепаратора.
Выпарные аппараты классифицируются по различным признакам. Наиболее существенной является классификация по принципу организации циркуляции кипящего раствора в аппарате. Различают выпарные аппараты с естественной и принудительной циркуляцией раствора, пленочные и барботажные аппараты.
Хорошая циркуляция раствора в аппарате способствует интенсификации теплообмена, в первую очередь со стороны кипящей жидкости. Как известно, увеличение скорости движения жидкости приводит к уменьшению толщины теплового пограничного слоя, снижению его термического сопротивления и повышению коэффициента теплоотдачи. Кроме того, циркуляция раствора предотвращает быстрое отложение на стенках кипятильных труб твердой фазы (накипи). Появляется возможность осуществлять выпаривание кристаллизующихся и высоковязких растворов.
1.3.1 Выпарные аппараты с естественной циркуляцией
Циркуляция раствора в таких аппаратах вызывается различием плотностей парожидкостной смеси в циркуляционной трубе и кипятильных трубах. Скорость (кратность) циркуляции здесь невелика (скорость движения парожидкостной смеси составляет 0,3-0,8 м/с). Поэтому коэффициенты теплопередачи также относительно низкие. Несмотря на достаточную простоту, аппараты этого типа заменяются на другие - с более интенсивной циркуляцией.
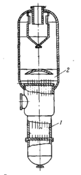
На рис. 3. показан выпарной аппарат с вынесенной циркуляционной трубой 2. В этом аппарате циркуляционная труба не обогревается, следовательно раствор в ней не кипит и парожидкостная смесь не образуется. Разность плотностей парожидкостной смеси в кипятильных трубах 1 и раствора в циркуляционной трубе больше, чем в аппаратах с центральной циркуляционной трубой, поэтому кратность циркуляции и коэффициенты теплопередачи несколько выше. Повышение скорости движения парожидкостной смеси в кипятильных трубах уменьшает возможность отложения солей, которые могут выделяться при концентрировании растворов.
Рис. 3 - Выпарной аппарат с вынесенной циркуляционной трубой: 1- нагревательная камера; 2 - циркуляционная труба; 3 - центробежный брызгоуловитель; 4 - сепарационное (паровое) пространство
Существенного снижения отложения солей можно достичь при использовании аппаратов с вынесенной зоной кипения. В таких аппаратах вследствие увеличенного гидростатического давления столба жидкости кипения в трубах нагревательной камеры не происходит, упариваемый раствор только перегревается. При выходе перегретого раствора из этих труб в трубу вскипания он попадает в зону пониженного гидростатического давления, где и происходит интенсивное его закипание.
Таким образом, предотвращается возможность отложения накипи на теплообменной поверхности труб и, следовательно, увеличиваются коэффициент теплопередачи и время эксплуатации аппарата между профилактическими ремонтами.
1.3.2 Выпарные аппараты с принудительной циркуляцией
Более высокие кратности циркуляции, соответствующие скоростям движения парожидкостной смеси более 2-2,5 м/с, достигаются в выпарных аппаратах с принудительной циркуляцией (рис. 4). Повышение кратности циркуляции обеспечивается установкой в циркуляционной трубе осевых насосов 4, обладающих высокой производительностью. В связи с более высокими скоростями движения жидкости в этих аппаратах достаточно высоки коэффициенты теплопередачи - более 2000 Вт/(м2∙К), поэтому такие аппараты могут эффективно работать при меньших полезных разностях температур (равных 3-5°С). В аппаратах с принудительной циркуляцией можно с успехом концентрировать высоковязкие или кристаллизующиеся растворы.
В ряде случаев выпарные аппараты с принудительной циркуляцией выполняют с вынесенной нагревательной камерой (см. рис. 4.). В этом случае появляется возможность производить замену нагревательной камеры при ее загрязнении, а иногда к одному сепаратору подсоединять две или три нагревательные камеры. Роль зоны вскипания выполняет труба, соединяющая нагревательную камеру и сепаратор. Достоинством выпарного аппарата с соосными греющей камерой и сепаратором (см. рис. 5.) является меньшая производственная площадь, необходимая для его размещения.
Рис. 4 - Выпарной аппарат с принудительной циркуляцией и вынесенной нагревательной камерой: 1-греющая камера; 2-сепаратор; 3-циркуляционная труба; 4 – электронасосный агрегат
Рис. 5 - Выпарной аппарат с принудительной циркуляцией и вынесенной циркуляционной трубой: 1 – греющая камера; 2 – сепаратор; 3 – циркуляционная труба; 4 - электронасосный агрегат
К общим недостаткам выпарных аппаратов с принудительной циркуляцией следует отнести повышенный расход энергии, связанный с необходимостью работы циркуляционного насоса.
Все рассмотренные выше конструкции аппаратов по структуре движения в них жидкости близки к моделям идеального перемешивания, поэтому при сравнительно большом объеме циркулирующего раствора последний находится при повышенных температурах достаточно длительное время (а отдельные частицы жидкости - бесконечно долго). Это существенно затрудняет выпаривание нетермостойких растворов. Для таких растворов можно использовать пленочные выпарные аппараты.
1.3.3 Пленочные выпарные аппараты
Их относят к группе аппаратов, работающих без циркуляции; процесс выпаривания осуществляется за один проход жидкости по кипятильным трубам, причем раствор движется в них в виде восходящей или нисходящей пленки жидкости. Как правило, эти аппараты работают при прямоточном движении раствора и образующегося вторичного пара, который занимает центральную часть труб. В связи с этим здесь отсутствует гидростатический столб парожидкостной смеси и, следовательно, гидростатическая депрессия. Для обеспечения заданных пределов изменения концентраций упариваемых растворов кипятильные трубы делают длинными (6-10 м).
Выпарной аппарат с восходящей пленкой жидкости (рис. 6) работает следующим образом. Снизу заполняют раствором трубы на 1/4 и 1/5 их высоты, подают греющий пар, который вызывает интенсивное кипение. Выделяющийся вторичный пар, поднимаясь по трубам, за счет сил поверхностного трения увлекает за собой раствор. В сепараторе пар и раствор отделяются друг от друга.
Рис. 6 - Выпарные пленочные аппараты с восходящей пленкой жидкости: 1 – греющая камера; 2 - сепоратор
В выпарном аппарате с нисходящей пленкой жидкости (рис. 7) исходный раствор подают в верхнюю часть греющей камеры 1, где обычно расположен распределитель жидкости, из которого последняя по трубам стекает вниз. Образующийся вторичный пар также движется в нижнюю часть нагревательной камеры, откуда вместе с жидкостью попадает в сепаратор 2 для отделения от раствора.
Рис. 7 - Выпарные пленочные аппараты с нисходящей пленкой жидкости: 1 – греющая камера; 2 – сепаратор
Для снижения температуры кипения раствора процесс, как правило, проводят под вакуумом. В этих аппаратах удается упаривать также растворы, склонные к интенсивному пенообразованию. Вместе с этим пленочным аппаратам свойствен ряд недостатков. Они очень чувствительны к изменениям нагрузок по жидкости, в особенности при малых расходах растворов. Существует определенный минимальный расход раствора, ниже которого не удается достигнуть полного смачивания поверхности теплопередачи. Это может приводить к местным перегревам трубок, выделению твердых осадков, резкому снижению интенсивности теплопередачи. В таких аппаратах не рекомендуется выпаривать кристаллизующиеся растворы. Для них также требуются большие производственные площади.
Всем трубчатым выпарным аппаратам свойствен существенный недостаток: в них затруднительно, а часто и практически невозможно выпаривать агрессивные растворы. Для таких растворов применяют аппараты, в которых отсутствуют теплопередающие поверхности, а процесс теплообмена осуществляют путем непосредственного соприкосновения теплоносителя (нагретых или топочных газов) с упариваемым раствором.
1.4 Патентный обзор
Этот раздел включает в себя краткое описание патентов на изобретения по теме выпаривание за 1991-2002 годы.
1.4.1 Вертикальный выпарной аппарат(1805571)
Использование: в глиноземном производстве. Сущность изобретения: аппарат состоит из греющей камеры, содержащей, в свою очередь, кожух и пучок греющих труб циркуляционной трубы, установленной внутри трубного пучка, сепаратора, трубных решеток, состыкованных с паровой и конденсатной камерами, а также патрубком для раствора, пара и конденсата. При этом греющая камера установлена внутри сепаратора с зазором относительно верхней трубной решетки, а циркуляционная труба имеет высоту, меньшую, чем греющие трубы.
1.4.2 Выпарная установка(2050908)
Изобретение относится к химической технологии и может быть использовано при регенерации воды из отработанных электролитов и концентрировании сточных вод гальванотехники. Установка содержит камеру испарения с нагревателем и камеру конденсации с охладителем. Камеры соединены замкнутым воздуховодом с вентилятором, снабжены подводящими и отводящими штуцерами и выполнены в виде аппаратов, каждый из которых включает установленные в верхней части циклоннопенное, а в нижней-теплообменное устройство. Теплообменное устройство представляет собой вертикальный концентрический пучок труб, расположенный вокруг центральной трубы, причем нижняя трубная доска пучка установлена над штуцером подвода обрабатываемого продукта в аппарат, а верхняя совпадает с нижней границей окна подвода воздуха под слой жидкости циклонно-пенного устройства.
1.4.3 Способ выпаривания алюминатных растворов и установка для его осуществления(2194559)
Изобретение относится к области производства глинозема, конкретно к процессу выпаривания алюминатных растворов в противоточных установках. При упаривании алюминатных растворов, включающем нагрев раствора, последовательное упаривание и самоиспарение, часть раствора подают из второго по ходу пара выпарного аппарата в первый с поддержанием в растворе первого корпуса концентрации каустического оксида натрия в пределах 250-290 г/л и оставшуюся часть раствора второго корпуса и раствор первого корпуса выводят на самоиспарение.
2. ОБОСНОВАНИЕ И ОПИСАНИЕ УСТАНОВКИ
2.1 Обоснование выбора технологической схемы















