161608 (623581), страница 6
Текст из файла (страница 6)
С моей точки зрения, при совершенствовании системы финансового планирования на предприятии нужно идти от содержания к организации, а не наоборот. Поэтому перед предприятием должна прежде всего ставиться задача реформирования внутренней стороны системы.
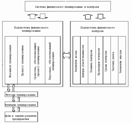
Еще одним важным элементом системы финансового планирования выступают средства, обеспечивающие процесс планирования. Они позволяют автоматизировать технологический процесс разработки плана предприятия: от сбора информации до принятия и реализации плановых решений. Сюда входит техническое, информационное, программное, организационное обеспечение. Комплексное использование этих средств позволяет создать автоматизированную систему плановых расчетов.
При изучении системы финансового планирования нельзя не отметить ее тесную связь с системой финансового контроля на предприятии. Несмотря на то что планирование и контроль — это две разные функции управления, существование их в хозяйственной деятельности предприятий отдельно друг от друга является невозможным, т.к. они взаимодополняют и обусловливают друг друга. А поэтому оценка достижения целей, поставленных в рамках финансового планирования, была бы невозможна без проведения финансового контроля. Вот почему решая задачу совершенствования системы финансового планирования на предприятии, нельзя не оставить в стороне и систему финансового контроля.
Изучая систему финансового контроля, необходимо также, как и в случае с системой финансового планирования, рассмотреть элементы исследуемой системы. Систему финансового контроля целесообразно рассматривать как систему внутреннего финансового контроля, принимая во внимание тот факт, что объектом совершенствования в данной работе выступает система финансового планирования, замкнутая в рамках предприятия.
К элементам системы внутреннего финансового контроля можно отнести:
| - | элементы входа (информационное обеспечение контроля); |
| - | центры ответственности; |
| - | технику контроля (информационно-вычислительная техника и технология); |
| - | процедуры контроля; |
| - | среду контроля; |
| - | систему учета; |
| - | элементы выхода (информация об объекте управления, полученная в результате контроля) [4]. |
Информационная база внутреннего финансового контроля создается в процессе финансового планирования и затем используется в целях контроля в ходе исполнения финансовых планов. Техника контроля представляет собой содержание, внутреннюю сторону системы финансового контроля, поэтому, с нашей точки зрения, как и в случае с системой финансового планирования, она должна подлежать реформированию в первую очередь. Процедуры финансового контроля могут быть представлены в виде следующего алгоритма:
1. определение и документальное закрепление порядка деятельности конкретного состава работников в процессе планирования и контроля на предприятии.
2. определение первичных документов, в которых отражаются данные об исполнении соответствующими работниками своих функций и о реализации планов соответствующих финансовых или хозяйственных операций.
3. Выбор порядка движения документов.
4. определение точек контроля для оценки различных аспектов реализации конкретных финансовых или хозяйственных операций и оценки наличия и состояния ресурсов предприятия; установление контролируемых параметров объектов контроля; установление критических точек контроля, где риск возникновения ошибок и искажений особенно велик.
5. выбор методов проведения контроля.
Среда внутреннего контроля определяется как внутренними, так и внешними факторами. В числе внутренних факторов можно выделить следующие:
| - | стиль работы руководителей (включая конкретные действия по организации на предприятии системы внутреннего контроля); |
| - | организационный статус отдела внутреннего контроля; |
| - | определение и документальное закрепление процедур контроля; |
| - | налаженность системы информационного обеспечения управления; |
| - | изучение руководителями выявленных в результате контроля отклонений, своевременность принятия ими решений по данным отклонениям. |
К внешним факторам, определяющим среду внутреннего финансового контроля на предприятии, относятся:
| - | уровень развития экономики; |
| - | развитие законодательной базы; |
| - | налоговая политика государства; |
| - | соблюдение действующего законодательства и работа с внешними органами контроля; |
| - | риск, присущий деятельности данного предприятия, и ряд других факторов. |
Также важными элементами внутреннего финансового контроля являются применяемые на предприятии системы бухгалтерского и управленческого учета.
Наряду с выявлением проблем в области финансового планирования на основе опыта работы консалтинговых фирм России был выявлен и ряд проблем в области финансового контроля. Так, было признано, что финансовый план только тогда будет являться эффективным инструментом управления, когда его выполнение можно оперативно контролировать на основе фактической информации, получаемой из управленческого учета. С другой стороны, организация самого финансового контроля на предприятии полностью зависит от порядка составления документов и всей схемы документооборота.
Кроме того, было установлено, что для управленческого учета характерна низкая достоверность и оперативность получаемых данных, в том числе первичных учетных документов; территориальная удаленность подразделений предприятия; несоответствие системы аналитического учета задачам управления; нехватка человеческих и материальных ресурсов.
Что же касается автоматизации финансового контроля, то данный процесс осуществляется в рамках уже разработанной системы бухгалтерского и управленческого учета, хотя очень часто учетные процедуры и регистры бухгалтерского и управленческого учета не совпадают.
Таким образом, реформирование определенных элементов системы финансового контроля приводит к реформированию соответствующих составляющих системы финансового планирования, а поэтому имеет смысл эти две системы объединить в одну (см. рис. 3).
Рис.3- Система финансового планирования и контроля
Очевидная взаимосвязь финансового планирования и финансового контроля свидетельствует о том, что для успешного функционирования единой системы нужна увязка целей и задач развития предприятия. А для этого нужно осуществить переход от традиционной схемы организации финансового планирования и контроля к использованию процессного подхода.
Мировой опыт последних десятилетий показывает, что разрабатываемые стандарты комплексного планирования и управления предприятием становятся все более ориентированными на процессы. Основным понятием процессной методики является бизнес-процесс, т.е. целенаправленная последовательность операций и событий (например, процесс формирования комплексного финансового плана). Конечной целью такого подхода является синхронизация деятельности предприятия с потребностями потребителя, что обеспечивает повышение уровня конкурентоспособности предприятия.
Подводя итог, можно сформулировать следующие выводы
| - | работу по совершенствованию организации финансового планирования и контроля на предприятии необходимо начинать с выявления существующих проблем, которые выступают в качестве факторов, ограничивающих достижение поставленных целей предприятия; |
| - | систему финансового планирования и контроля необходимо рассматривать как составной элемент всей системы планирования на предприятии, используя единый подход к выбору методов и инструментов для всех видов составляемых на предприятии планов; |
| - | предприятие, в зависимости от наличия у него тех или иных проблем в области финансового планирования, должно делать акцент на определенные функции финансового планирования, уделяя их реализации наибольшее количество сил и средств; |
| - | совершенствуя организацию финансового контроля на предприятии, необходимо также выявить проблемы предприятия в этой области и затем обозначить те элементы системы, которые подлежат оптимизации; |
| - | переход предприятия к построению своей деятельности на основе процессного подхода позволяет устранить недостатки, характерные для традиционной схемы организации. |
Заключение
Финансовое планирование является важной составляющей планирования деятельности предприятия. Финансовое планирование напрямую связано с планированием производственной деятельности предприятия. Все финансовые показатели базируются на показателях объёма производства, ассортимента продукции, себестоимости продукции.
В результате рассмотрения принципов финансового планирования и его практического применения на различных предприятиях можно сделать вывод о том, что оно является незаменимым для оценки прогнозного денежного потока организации. Для осуществления своих расходов организация должна обеспечивать адекватный приток денежной массы в виде выручки от продаж продукции, товаров (работ, услуг), поступления дивидендов на вложенный капитал, получения временных заемных денежных средств и т.д. Аппарат финансового планирования позволяет заблаговременно и с достаточным уровнем достоверности оценить будущие расходы организации с целью их покрытия за счет тех или иных источников средств.
Бюджетирование представляет собой процесс финансового планирования, оно рассматривается как составная часть перспективного плана и представляет собой конкретизацию его показателей.
Текущее планирование хозяйственной деятельности предприятия состоит в разработке плана прибылей и убытков, плана движения денежных средств, планового бухгалтерского баланса, поскольку эти формы планирования отражают финансовые цели организации. Все три плановых документа основываются на одних и тех же исходных данных и должны корреспондироваться друг с другом. Документы текущего финансового плана составляются на период, равный одному году.
В процессе практического рассмотрения процесса бюджетирования были составлены прогнозный баланс, отчет о прибылях и убытках, и план движения денежных средств ЗАО «Алтайвитамины».
Изучив направления совершенствования финансового планирования отечественных предприятий следует сказать, что
| - | работу по совершенствованию организации финансового планирования и контроля на предприятии необходимо начинать с выявления существующих проблем, которые выступают в качестве факторов, ограничивающих достижение поставленных целей предприятия; |
| - | систему финансового планирования и контроля необходимо рассматривать как составной элемент всей системы планирования на предприятии, используя единый подход к выбору методов и инструментов для всех видов составляемых на предприятии планов; |
| - | предприятие, в зависимости от наличия у него тех или иных проблем в области финансового планирования, должно делать акцент на определенные функции финансового планирования, уделяя их реализации наибольшее количество сил и средств; |
| - | совершенствуя организацию финансового контроля на предприятии, необходимо также выявить проблемы предприятия в этой области и затем обозначить те элементы системы, которые подлежат оптимизации; |
| - | переход предприятия к построению своей деятельности на основе процессного подхода позволяет устранить недостатки, характерные для традиционной схемы организации. |
Список литературы
-
Акулов В.Б. Финансовый менеджмент. — Петрозаводск: Издательство Петрозаводского государственного университета, 1997. — 136 с.
-
Анискин Ю.П., Павлова А.М. Планирование и контроллинг: учеб. по специальности «Менеджмент орг.» – 2-е изд. – М.: Омега-Л, 2005. – 280с.
-
Бондаревская Е.Н. Финансовый менеджмент для неспециалистов: перевод с английского. – СПб.: Питер, 2006. – 608 с.
-
Бурцев В.В. Система финансового контроля// Библиотека финансового менеджера/http://finmanagement.ru.
-
Бухалков М.И. Внутрифирменное планирование. — М.: ИНФРА-М, 1999. — 392 с.
-
Веснин В.Р. Менеджмент в в вопросах и ответах: учебное пособие. – М.: ТК Вэлби, Изд-во Проспект, 2006. – 176с.
-
Внутрифирменное планирование: Учебник для вузов – СПб.: Питер, 2003. – 496 с.
-
Ильин А.И. Планирование на предприятии: учебное пособие – 6-е изд., перераб. и доп. – Мн.: Новое знание, 2005. – 656с.
-
Колчина Н.В. Финансы организаций (предприятий): Учебник для вузов – 3-е изд. перераб. и доп. – М.: ЮНИТИ-ДАНА, 2004. – 368с.
-
Ковалев В.В. Анализ хозяйственной деятельности предприятия. – М.: ПБОЮЛ М.А. Захаров, 2001. – 424с.
-
Лихачева О.Н. Финансовое планирование на предприятии: Учебно-практическое пособие. – М.: ТК Вэлби, Изд-во Проспект, 2003. – 264с.
-
Платонова Н.А., Харитонова Т.В. Планирование деятельности предприятия: Учебное пособие – М.: Издательство «Дело и Сервис», 2005. – 432с.
-
Попов В.М. Финансовый бизнес-план: Учебное пособие – М.: Финансы и статистика, 2005. – 464 с.
-
Репин В.В. Финансовое планирование и управленческий учет: проблемы внедрения/http://finexpert.ru.
-
Реформирование предприятий. Типовая программа. Методические рекомендации. Опыт реструктуризации. Сб. документов. — М.: Издательский центр «Акционер», 1998. — 151 с.
-
Рогова Е.М., Ткаченко Е.А. Основы управления финансами и финансовое планирование: Учебное пособие – СПб.: Издательство Вернера Регена, 2006. – 256с.
-
Боровков П. БДР и БДДС «по-русски»// Справочник экономиста. – 2005. - № 9(27). – с. 42-48.
-
Романова М.В. Формирование финансовой политики предприятия: Управление финансами// Финансы и кредит. — 2000. — № 8. — С. 25—34.
















