151420 (621698), страница 3
Текст из файла (страница 3)
Визначаємо економічний перетин кабелю.
Знаючи повний струм навантаження, знаходимо струм кабелю.
Вибираємо найбільший перетин кабелю, а по ньому найближче стандартне й довгостроково припустимий струм по таблиці.
S = 50 мм2, I = 105 А.
Знайдемо пропускний струм лінії.
Розрахуємо активний опір.
Знаходимо коефіцієнт потужності.
Знаючи cos(, знаходимо за допомогою калькулятора sin(.
Розрахуємо втрати напруга.
Тому що втрати напруги менше п'яти відсотків значить кабель марки ААШВ-10-(3(50) обраний правильно й підходить по довгостроково припустимому струму.
Вибираємо марку й перетини четвертого кабелю.
Знайдемо повний струм навантаження.
Визначаємо економічний перетин кабелю.
Знаючи повний струм навантаження, знаходимо струм кабелю.
Вибираємо найбільший перетин кабелю, а по ньому найближче стандартне й довгостроково припустимий струм по таблиці.
S = 35 мм2, I = 85 А.
Знайдемо пропускний струм лінії.
Розрахуємо активний опір.
Знаходимо коефіцієнт потужності.
Знаючи cos(, знаходимо за допомогою калькулятора sin(.
Розрахуємо втрати напруга.
Тому що втрати напруги менше п'яти відсотків значить кабель марки ААШВ-6-(3(35) обраний правильно й підходить по довгостроково припустимому струму.
Вибираємо марку й перетини п'ятого кабелю.
Знайдемо повний струм навантаження.
Визначаємо економічний перетин кабелю.
Знаючи повний струм навантаження, знаходимо струм кабелю.
Вибираємо найбільший перетин кабелю, а по ньому найближче стандартне й довгостроково припустимий струм по таблиці.
S = 16 мм2, I = 55 А.
Знайдемо пропускний струм лінії.
Розрахуємо активний опір.
Знаходимо коефіцієнт потужності.
Знаючи cos (знаходимо за допомогою калькулятора sin).
Розрахуємо втрати напруга.
Тому що втрати напруги менше п'яти відсотків значить кабель марки АВВГ-1-(3(16+1(10) обраний правильно й підходить по довгостроково припустимому струму.
-
Вибираємо марку й перетини шостого кабелю.
Знаючи повний струм навантаження, знаходимо струм кабелю.
Визначаємо економічний перетин кабелю.
Знаючи повний струм навантаження, знаходимо струм кабелю.
Вибираємо найбільший перетин кабелю, а по ньому найближче стандартне й довгостроково припустимий струм по таблиці.
S = 16 мм2, I = 55 А.
Знайдемо пропускний струм лінії.
Розрахуємо активний опір.
Знаходимо коефіцієнт потужності.
Знаючи cos знаходимо за допомогою калькулятора sin
Розрахуємо втрати напруга.
Тому що втрати напруги менше п'яти відсотків значить кабель марки АВВГ-1-(3(16+1(10) обраний правильно й підходить по довгостроково припустимому струму.
-
Вибираємо марку й перетини сьомого кабелю.
Знайдемо повний струм навантаження.
Визначаємо економічний перетин кабелю.
Знаючи повний струм навантаження, знаходимо струм кабелю.
Вибираємо найбільший перетин кабелю, а по ньому найближче стандартне й довгостроково припустимий струм по таблиці.
S = 95 мм2, I = 155 А.
Знайдемо пропускний струм лінії.
Розрахуємо активний опір.
Знаходимо коефіцієнт потужності.
Знаючи cos знаходимо за допомогою калькулятора sin
Розрахуємо втрати напруга.
Тому що втрати напруги менше п'яти відсотків значить кабель марки АВВГ-1-(3(95+1(35) обраний правильно й підходить по довгостроково припустимому струму.
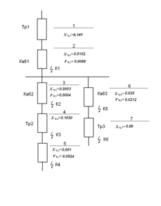
2.5 Розрахунок струмів короткого замикання
Побудуємо схему заміщення для розрахунку струмів короткого замикання.
За базисну потужність приймаємо потужність трансформатора встановленого на ГПП Sб = 16 МВА.
Тут і далі по тексту формул використані скорочення:
Sб - повна базисна потужність.
Iб - базисний струм.
U ном. - номінальна напруга.
Xб - базисний індуктивний опір.
rб - базисний реактивний опір.
Визначимо базисні струми для всіх крапок короткого замикання.
Для крапок К1; К2; K5 базисні струми рівні.
Для крапок К3 і К4 базисні струми рівні.
Для крапки К6 базисні струми рівні.
Визначаємо відносні базисні опори для елементів розрахункової схеми:
-
Для першого трансформатора враховуються тільки індуктивні опори.
-
Для першої кабельної лінії необхідно розраховувати активні й індуктивні опори.
-
Для другої кабельної лінії необхідно розраховувати активні й індуктивні опори.
-
Для третин кабельної лінії необхідно розраховувати активні й індуктивні опори.
-
Для другого трансформатора враховуються тільки індуктивні опори.
-
Для четвертого кабельної лінії необхідно розраховувати активні й індуктивні опори.
-
Для третього трансформатора враховуються тільки індуктивні опори.
Визначаємо сумарні відносні базисні опори для крапок К1, К2, К3, К4, К5, К6 і розраховуємо струми й потужності коротких замикань у цих крапках.
-
Крапка К1.
Визначаємо індуктивний опір.
Знаходимо струм у крапки К1.
Визначаємо потужність короткого замикання.
Знаходимо ударний струм.
-
Крапка К2.
Визначаємо індуктивний опір.
Розрахуємо активний опір.
- виходить, активний опір необхідно враховувати.
Повний опір буде перебуває так:
Знаходимо струм у крапці К2.
Визначаємо потужність короткого замикання.
Знаходимо ударний струм.
-
Крапка К3.
Визначаємо індуктивний опір.
Розрахуємо активний опір.
- виходить, активний опір необхідно враховувати.
Повний опір буде перебуває так.
Знаходимо струм у крапці К2.
Визначаємо потужність короткого замикання.
Знаходимо ударний струм.
-
Крапка К4.
Визначаємо індуктивний опір.
Розрахуємо активний опір.
- виходить, активний опір не враховується.
Знаходимо струм у крапці К2.
Визначаємо потужність короткого замикання.
Знаходимо ударний струм.
-
Крапка К5.
Визначаємо індуктивний опір.
Розрахуємо активний опір.
- виходить, активний опір необхідно враховувати.
Повний опір буде перебувати так.
Знаходимо струм у крапці К2.
Визначаємо потужність короткого замикання.
Знаходимо ударний струм.
-
Крапка К6.
Визначаємо індуктивний опір.
Знаходимо струм у крапки К1.
Визначаємо потужність короткого замикання.
Знаходимо ударний струм.
2.6 Перевірка обраних кабелів на термічну стійкість К струмів короткого замикання
Мінімальний перетин кабелю по термічній стійкості й струмам короткого замикання визначається по формулі.
(- коефіцієнт термічної стійкості, для алюмінію він дорівнює дванадцяти.
Iк - струм короткого замикання наприкінці кабелю.
tn - наведений час яке визначається по кривих.
tn = (( t, (" ).
Тому що крапки короткого замикання перебувають на великому відстань від джерела харчування те можна вважати Iк = I( = I" = In
(" = 1
t - дійсний час протікання струму короткого замикання від моменту виникнення К моменту відключення короткого замикання, цей час складається із часу спрацьовування захисту й часу спрацьовування вимикача.
t = t захисту + t вим.
Захист повинний бути виконаний по східчастій ознаці, тобто кожний наступний захист, уважаючи від споживача до джерела харчування повинне бути більше за часом на щабель часу ((t).
Приймемо (t = 0,5 с.
Приймемо час спрацьовування захисту першого щабля t зах.1=0,5 с.
Орієнтуючись на використання вакуумних високовольтних вимикачів приймемо власний час спрацьовування вимикача при відключення t вим. = 0,1 з, тоді дійсний час першого щабля захисту буде t1 = t зах. + t вим. = 0,5 + 0,1 = 0,6 с.
Час другого щабля захисту t2 = t1 + (t + t вим. 0,6+0,5+0,1=1,2с.
Дійсний час третин захисту t3 = t2 + (t + t вим. = 1.2+0.5+0.1=1.8 c.
Користуючись кривими для визначення наведеного часу, знаходимо його.
Для першого щабля tn1 = 0,68 з,
другого щабля tn2 = 0.92 з,
третин щабля tn3 = 1,22 с.
Визначимо мінімальний перетин першого кабелю по термічній стійкості.
По термічній стійкості перший кабель марки
ААШВ-10-3 (3(185) підходить, тому що 107<3(185.
Визначимо мінімальний перетин другого кабелю по термічній стійкості.
По термічній стійкості перший кабель марки
ААШВ-10-2 (3(240) підходить, тому що 79<3(240.
Визначимо мінімальний перетин третього кабелю по термічній стійкості.
По термічній стійкості перший кабель марки
ААШВ-10- (3(50) не підходить, тому що 53>50 значить вибираємо кабель марки ААШВ-10-(3(70).
Визначимо мінімальний перетин четвертого кабелю по термічній стійкості.
По термічній стійкості перший кабель марки
ААШВ-6- (3(35) не підходить, тому що 60>35 значить вибираємо кабель марки ААШВ-6- (3(70).
2.7 Вибір апаратури й устаткування розподільних підстанцій
-
Вибір апаратури й устаткування на РУ-10 кВ.
Ввод 1
Ввод 2
РУ – 10 кВ
Секція 1
Секція 2
резерв
НТМИ - 10
РУ – 6 кВ
РУ – 0,4 кВ
(n штук)
3>3>















