150996 (621529), страница 2
Текст из файла (страница 2)
VN2=VN2I+Х∙VN2II=8,378+1,9∙7.8=23,198 м/кг;
VRO2=VRO2I+Х∙VRO2II=1,6+1,9∙1.053=3,6 м/кг;
VН2O=VН2OI+Х∙VН2OII=1,45+1,9∙2,2=5,63м/кг;
Расчёт действительных объёмов.
VN2=VN2+(–1)∙Vв=23,198+(1.1–1)∙29,22=26,12 м/кг;
VН2O=VН2O+0.0161∙(–1)∙Vв=5,63+0.0161∙(1.1–1)∙29,22=5,68м/кг;
Vr=VRO2+VN2+VН2O=3,6+26,12+5,68=35,4 м/кг;
Объёмные доли трёхатомных газов.
rRO2=VRO2/Vr=3,6/35,4=0.102
rН2O=VН2O/Vr=5,68/35,4=0.16
rn=rRO2+rН2O=0.102+0.16=0.3
Концентрация золы в продуктах сгорания
=А ∙ун/(100·Gr)=0,1∙0.95/(100·42,98)=0,000022 кг/кг;
Gr=1-A/100+1.306∙· Vв=1-0,1/100+1.306·1.1·29,22=42,98кг/кг;
2.4 Энтальпии воздуха и продуктов сгорания.
Iв=Vв∙(сt)в=29.22∙1436=41959,92 кДж/кг;
Ir=VRO2∙(с)RO2+VN2∙(с)N2+VН2О∙(с)Н2О=3,6∙2202+23,198∙1394+5,63∙1725=49826,41кДж/кг;
Ir=Ir+(–1)∙Iв+Iзл;
т.к. (А ∙ун/Qн)∙10=(0,1∙0.95/110368,7)∙10=0,0008<1.5,
то Iзл – не учитывается;
Ir=Ir+(–1)∙Iв=49826,41+(1.1–1)∙41959,92=54023,34 кДж/кг.
Полученные результаты после проверки на компьютере и уточнения офор- мим в виде даблицы 2.3
Таблица 2.3 Результаты расчёта топлива.
| Для твёрдого топлива | Для газообразного топлива | Для смеси топлив | Энтальпии при t=1000 °С |
| VвI=10,6 VN2I=8,378 VRO2I=1,6 VН2OI=1,45 | VвII=9.84844 VN2II=7.8 VRO2II=1.053 VН2OII=2,2 | VвII=29,22 VN2II=23,09 VRO2II=3,6 VН2OII=5,63 | Воздуха: Iв=41959,92 Газа: Ir=49826,41 Ir=54023,34 Золы: Iзл=0.00 |
При т=1.1, t=1000°С.
Значение коэффициентов избытка воздуха на выходе из топки и присосов воздуха в элементах и газоходах котельной установки принимаем по таблице 5.
Таблица 2.4 Присосы воздуха по газовому тракту.
| Участки газового тракта. | ∆ | Температура, °С. | |
| Топка | 0.1 | 1,1 | 100–2200 |
| Пароперегреватель | 0,05 | 1,15 | 600–1200 |
| Экономайзер | 0,08 | 1,23 | 200–900 |
| Воздухоподогреватель | 0,06 | 1,29 | 100–600 |
Данные расчётов энтальпии продуктов сгорания топлива при различных температурах газов в различных газоходах сведены в таблицу 2.5.
Таблица 2.5 Энтальпии продуктов сгорания в газоходах.
| t, °С | Участки конвективных поверхностей нагрева | |||
| 1,1 | 1,15 | 1,23 | 1,29 | |
| 100 | 4846,011 | 5578,849 | ||
| 200 | 9777,533 | 10787,96 | 11254,31 | |
| 300 | 14848,19 | 16379,02 | 17085,56 | |
| 400 | 20056,08 | 22114,92 | 23065,15 | |
| 500 | 25386,66 | 27984,91 | 29184,09 | |
| 600 | 30833,56 | 32046,19 | 33986,4 | 35441,56 |
| 700 | 36421,62 | 37851,94 | 40140,45 | |
| 800 | 42190,41 | 43841,34 | 46482,83 | |
| 900 | 48048,5 | 49920,04 | 52914,51 | |
| 1000 | 54023,34 | 56121,33 | ||
| 1100 | 60024,26 | 62354,56 | ||
| 1200 | 66042,61 | 68605,21 | ||
| 1300 | 72270,49 | |||
| 1400 | 78520,91 | |||
| 1500 | 84770,96 | |||
| 1600 | 91118,2 | |||
| 1700 | 97503,2 | |||
| 1800 | 103939,3 | |||
| 1900 | 110453,8 | |||
| 2000 | 116932,3 | |||
| 2100 | 123509,7 | |||
| 2200 | 130060,2 | |||
Таблица 2.6. Характеристики продуктов сгорания в поверхностях нагрева.
| Величина | Един-ица | Топка | Участки конвективных поверхностей нагрева | ||
| 1.1 | 1.125 | 1.19 | 1.26 | ||
| VRO2 | м/кг | 3,6 | 3,6 | 3,6 | 3,6 |
| VN2=VN2+(-1)∙Vв | –//– | 26,12 | 26,85 | 28,75 | 30,8 |
| VН2O=VН2O+ +0.0161∙(-1)∙Vв | –//– | 5,68 | 5,69 | 5,72 | 5,75 |
| Vr=VRO2+VN2+VН2O | –//– | 35,4 | 36,14 | 38,1 | 40,15 |
| rRO2=VRO2/Vr | –//– | 0,102 | 0.1 | 0.09 | 0.089 |
| rН2O=VН2O/Vr | –//– | 0.16 | 0.157 | 0.15 | 0.14 |
| rn=rRO2+rН2O | –//– | 0.3 | 0.26 | 0.24 | 0.229 |
| 10∙А ∙ун/Qн | кг/МДж | 0,03 | 0,03 | 0,025 | 0,024 |
| м= А ∙ун/(100·Gr) | кг/кг | 0,000022 | 0,000022 | 0,00002 | 0,000021 |
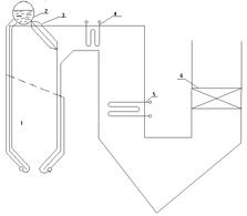
На рис.1 представлена схема котла ГМ-50-1
Рис. 1 Схема котла ГМ-50-1.
1-Топочная камера
2-Барабан
3-Фестон
4-Пароперегреватель
5-Экономайзер
6-Воздухоподогреватель
3. Расчёт теплового баланса парогенератора и расход топлива
Расчёт теплового баланса парогенератора и расход топлива преждставлен в таблице 3
ТАБЛИЦА 3.
| Величина | Единица | Расчёт | |||
| Наименование | Обозначение | Расчётная формула или способ определение | |||
| Располагаемая теплота топлива |
|
| кДж/кг |
| |
| Потеря теплоты от химической неполноты сгорания топлива | | По таблице 4–3 | % | 0,5 | |
| Потеря теплоты от механической неполноты сгорания топлива | | По таблице 4–3 | % | 0 | |
| Температура уходящих газов |
| По заданию | С | 140 | |
| Энтальпия уходящих газов |
| По –таблице | кДж/кг | 7849,0334 | |
| Температура воздуха в котельной |
| По выбору | С | 30 | |
| Энтальпия воздуха в котельной |
| По –таблице | кДж/кг | 1139,58 | |
| Потеря теплоты с уходящими газами |
|
| % |
| |
| Потеря теплоты от наружного охлаждения |
| По рис. 3–1 | % | 0,9 | |
| Сумма теплов.пот. |
|
| % |
| |
| К.п.д. парогенератора |
|
| % |
| |
| Коэффициент сохранения теплоты |
|
| — |
| |
| Паропроизводительность агрегата | D | По заданию | кг/с | 49 | |
| Давление пара в барабане |
| По заданию | МПа | 44,4 | |
| Температура перегретого пара |
| По заданию | С | 450 | |
| Температура питательной воды |
| По заданию | С | 145 | |
| Удельная энтальпия перегретого пара |
| По табл. VI–8 | кДж/кг | 3342 | |
| Удельная энтальпия питательной воды |
| По табл. VI–6 | кДж/кг | 611 | |
| Значение продувки | p | По выбору | % | 70 | |
| Полезно используемая теплота в агрегате |
|
| кВт |
| |
| Полный расход топлива |
|
| кг/с |
| |
| Расчётный расход топлива |
|
| кг/с |
| |
4 Расчет теплообмена в топке
Расчёт полной площади стен топочной камеры и сумарной лучевоспринимающей поверхности топки представлен в таблицах 4.1 ,4.2, 4.3
На рис.2 представлена схема топочной камеры
ТАБЛИЦА 4.1 Расчет полной площади стен топочной камеры (Fст) и суммарной лучевоспринимающей поверхности топки (Hл)
| Наименование | Обоз-наче-ние | Еди-ница | Фр.и свод | Боко-вые | Задн | Вых. окно | |
| Полная площадь стены и выходного окна | FСТ | м2 | 56.2 | 63.5 | 44.28 | 13,48 | 177.46 |
| Расстояние между осями крайних труб | b | м | 5.2 | 3.66 | 5.2 | 5.2 | |
| Освещённая длина труб | L | м | 10.3 | 8.28 | 8.165 | 2.05 | |
| Площадь, занятая лучевоспринимающей поверхностью | F | м2 | 53.56 | 60.61 | 42.46 | 10.66 | 167.29 |
| Наружный диаметр труб | d | мм | 60 | 60 | 60 | 60 | |
| Шаг труб | s | мм | 70 | 70 | 70 | 70 | |
| Расстояние от оси труб до кладки (стены) | e | мм | 100 | 60 | 100 | ||
| Отношение | s/d | - | 1,1667 | 1,1667 | 1.1667 | ||
| Отношение | e/d | - | 1,667 | 1 | 1,667 | ||
| Угловой коэффициент | x | - | 0.99 | 0.99 | 0.99 | 0.99 | |
| Площадь лучевоспринимающей поверхности открытых экранов | HЛОТК | м2 | 53.02 | 60 | 42 | 10.55 | 165.57 |
ТАБЛИЦА 4.2 Расчёт конструктивных характеристик топки
| Величина | Единица | Расчёт | ||
| Наименование | Обозначение | Расчётная формула или способ определения | ||
| Активный объём топочной камеры |
| По конструктивным размерам | м3 | 150 |
| Тепловое напряжение объёма топки: расчётное допустимое |
|
| кВт/м3 кВт/м3 |
|
| Количество горелок | n | По табл. III–10 | шт. | 6 |
| Тепло производительность горелки |
|
| МВт |
|
| Тип горелки | — | По табл. III–6 | — | ГМГ-7 |
Рис.2 Топочная камера
ТАБЛИЦА 4.3 Поверочный расчёт теплообмена в топке
| Величина | Единица | Расчёт | ||||
| Наименование | Обозначение | Расчётная формула или способ определение | ||||
| Суммарная площадь лучевоспринимающей поверхности |
| По конструктивным размерам | м2 | 165.57 | ||
| Полная площадь стен топочной камеры |
| По конструктивным размерам | м2 | 177.46 | ||
| Коэффициент тепловой эффективности лучевоспринимающей поверхности |
|
| — |
| ||
| Эффективная толщина излучающего слоя пламени |
|
| м |
| ||
| Полная высота топки |
| По конструктивным размерам | м | 8 | ||
| Высота расположения горелок |
| По конструктивным размерам | м | 1.85 | ||
| Относительный уровень расположения горелок |
|
| — |
| ||
| Параметр забалансированности топочных газов | rн |
| — |
| ||
| Коэффициент M0 | M0 | По нормативному методу | — | 0,4 | ||
| Параметр, учитывающий характер распределения температуры в топке | М |
| — |
| ||
| Коэффициент избытка воздуха на выходе из топки |
| По табл. 4–3 | — | 1,1 | ||
| Присос воздуха в топке |
| По табл. 2–2 | — | 0,1 | ||
| Присос воздуха в системе пылеприготовления |
| По табл. 2–1 | — | 0 | ||
| Температура горячего воздуха |
| По предварительному выбору | С | 250 | ||
| Энтальпия горячего воздуха | По –таблице | кДж/кг | 9774,09 | |||
| Энтальпия присосов воздуха |
| По –таблице | кДж/кг | 1139,58 | ||
| Полезное тепловыделение в топке |
|
| кДж/кг |
| ||
| Адиабатическая температура горения |
| По –таблице | С | 2045,86 | ||
| Температура газов на выходе из топки |
| По предварительному выбору | С | 1144 | ||
| Энтальпия газов на выходе из топки | По –таблице | кДж/кг | 62672.34 | |||
| Средняя суммарная теплоёмкость продуктов сгорания |
|
| кДж/кг |
| ||
| Объёмная доля: водяных паров трёхатомных газов |
| По табл. 1–2 По табл. 1–2 | — — | 0,16 0,102 | ||
| Суммарная объёмная доля трёхатомных газов |
|
| — |
| ||
| Произведение |
|
| м·МПа |
| ||
| Коэффициент ослабления лучей: трёхатомными газами |
|
| 1/(мЧЧМПа) |
| ||
| Коэффициент излучения сажестых частиц Для мазута Для газа |
|
| — |
| ||
|
| 1- | — |
| |||
| Коэффициент заполнения | m |
| — |
| ||
| Коэффициент ослабления лучей топочной средой |
|
| 1/(мЧЧМПа) |
| ||
| Критерий Бургера |
|
| — |
| ||
| Критерий Бургера |
|
| — |
| ||
| Температура газов на выходе из топки |
|
| С |
| ||
| Энтальпия газов на выходе из топки |
| По –таблице | кДж/кг | 62718.46 | ||
| Общее тепловосприятие топки |
|
| кДж/кг |
| ||
| Средняя удельная тепловая нагрузка лучевоспринимающих поверхностей |
|
| кВт/м2 |
| ||
5. Расчёт фестона
Конструктивные размеры и поверочный расчёт фестона представлен в таблицах 5.1 и 5.2
На рис 3 представлена схема фестона
Рис. 3 Схема фестона
ТАБЛИЦА 5.1
| Показатели | Еди-ница | Фес-тон | |
| Наименования | Обозначение | ||
| Диаметр труб : | |||
| наружный | d | м | 0.06 |
| внутренний | dвн | м | 0.054 |
| Кол-во труб в ряду | Z1 | шт. | 23 |
| Кол-во рядов труб | Z2 | 3 | |
| Общее кол-во труб в рассчитваыемом участке | Z | шт. | 70 |
| Средняя длина труб | lср | м | 1.8 |
| Расчетна площадь поверхности нагрева | H | м2 | 23.74 |
| Расположение труб | - | - | ш |
| Шаг труб : | |||
| поперек движения газов | S1 | 520 | |
| Вдоль движения газов | S2 | 210 | |
| Относительный шаг труб : | |||
| поперечный | S1/d | 8.66 | |
| продольный | S2/d | 3.5 | |
| Размер сечения газохода поперек | А | м | 1.85 |
| движения газов | В | м | 5 |
| Площадь живого сечения для прохода газов | F | м2 | 6.766 |
ТАБЛИЦА 5.2 Поверочный расчёт фестона
| Величина | Единица | Расчёт | ||
| Наименование | Обозначение | Расчётная формула или способ определения | ||
| Полная площадь поверхности нагрева | Н | По конструктивным размерам | м2 | 23.74 |
| Дополнительна поверхностья | H доп | » | м2 | 2.5 |
| Диаметр труб | d | » | мм | 60x3 |
| Относительный шаг труб: поперечный продольный |
| » » | — — | 8.66 3,5 |
| Количество рядов труб по ходу газов |
| » | шт. | 3 |
| Количество труб в ряду |
| » | шт. | 23 |
| Площадь живого сечения для прохода газов | F | | м2 | |
| Эффективная толщина излучающего слоя | s |
| м |
|
| Температура газов перед фестоном |
| Из расчёта топки | °С | 1144.77 |
| Энтальпия газов перед фестоном |
| То же | кДж/кг | 62718 |
| Температура газов за фестоном |
| По предварительному выбору | °С | 1076 |
| Энтальпия газов за фестоном |
| По –таблице | кДж/кг | 58584 |
| Количество теплоты, отданное фестону |
|
| кДж/кг |
|
| Температура кипения при давлении в барабане рб=4.4 МПа |
| По таблице VI–7 | °С | 256 |
| Средняя температура газов |
|
| °С |
|
| Средний температурный напор |
|
| °С |
|
| Средняя скорость газов |
|
| м/с |
|
| Коэффициент теплоотдачи конвекцией |
| По рис. 6–5 | кВт/(м2·К) | 59*0.88*1*0.85=44.13 |
| Суммарная поглощательная способность трёхатомных газов |
|
| м·МПа |
|
| Коэффициент ослабления лучей трёхатомными газами |
|
| 1/(м·МПа) |
|
| Суммарная оптическая толщина запылённого газового потока |
|
| — |
|
| Степень черноты излучающей среды |
| По рис. 5–4 или формуле (5–22) | — | 0,31 |
| Температура загрязнённой стенки трубы |
|
| °С |
|
| Коэффициент теплоотдачи излучением |
| По рис. 6–12 (л=н а) | Вт/(м2·К) | 220·0,31=68.2 |
| Коэффициент использования поверхности нагрева | | По § 6–2 | — | 1 |
| Коэффициент теплоотдачи от газов к стенке |
|
| Вт/(м2·К) |
|
| Коэффициент теплопередачи |
|
| Вт/(м2·К) |
|
| Тепловосприятие фестона по уравнению теплопередачи |
|
| кДж/кг |
|
| Тепловосприятие настенных труб |
|
| кДж/кг |
|
| Суммарное тепловосприятие газоходов фестона |
|
| кДж/кг | 3694.8+389.1=4083.85 |
| Расхождение расчетных тепловосприятий |
|
| % |
|
6. Расчёт пароперегревателя
Конструктивные размеры конструктивный расчёт перегревателя представлен в таблицах 6.1 и 6.2
На рис. 4 представлена схема пароперегревателя
Рис.4 Схема пароперегревателя
ТАБЛИЦА 6.1 Конструктивные размеры и характеристики перегревателя
| Показатели | Номера ступени участков по ходу пара | ||
| Наименование | Обозна- | Еди-ница | I ступень |
| чение | |||
| Наружный диаметр | d | мм | 32 |
| Внутренний диаметр трубы | dвн | мм | 26 |
| Кол-во труб в ряду | Z1 | шт. | 68 |
| Кол-во рядов по ходу | Z2 | шт. | 18 |
| Средний поперечный шаг | S1 | мм | 75 |
| Средний продольный шаг | S2 | мм | 55 |
| Расположение труб (шахматное, коридорное) | - | - | шахматное |
| Характер омывания (поперечное, продольное, смешанное) | - | - | Перекрёстный ток |
| Средняя длина змеевика | L | м | 2,44 |
| Суммарная длина труб | ∑L | м | 29,94 |
| Площадь полной поверхности нагрева | H | м2 | 226,01 |
| Площадь живого сечения на входе | F’ | м2 | 5,363 |
| То же, на выходе | F” | м2 | 5,363 |
| Средняя площадь живого сечения газохода | Fср | м2 | 5,363 |
| Кол-во змеевиков, вкл. параллельно (по пару) | m | шт. | 68 |
| Живое сечение для прохода пара | f | м2 | 0.0361 |
ТАБЛИЦА 6.2 Конструктивный расчёт перегревателя.
| Величина | Единица | Расчёт | ||||
| Наименование | Обозначение | Расчётная формула или способ определения | ||||
| Диаметр труб |
| По конструктивным размерам | мм | 32/26 | ||
| Параметр пара на входе в ступень: давление температура паросодержание |
|
| МПа єС — | 4,4 256 0,985 | ||
| Удельная энтальпия: кипящей воды сухого насыщенного пара |
|
| кДж/кг кДж/кг | 1115,5 2797,2 | ||
| Удельная энтальпия пара на входе в ступень |
|
| кДж/кг |
| ||
| Параметры пара на выходе из ступени: давление температура удельная энтальпия |
|
| МПа єС кДж/кг | 4.0 450 3378.14 | ||
| Тепловосприятие пароохладителя |
| По выбору | кДж/кг | 70 | ||
| Тепловосприятие ступени | Q | | кДж/кг | | ||
| Энтальпия газов на входе в ступень |
| Из расчёта фестона | кДж/кг | 58584 | ||
| Температура газов на входе в ступень |
| То же | єС | 1076 | ||
| Энтальпия газов на выходе из ступени |
|
| кДж/кг |
| ||
| Температура газов на выходе из ступени |
| По – таблице | єС | 637.42 | ||
| Средняя температура газов в ступени |
|
| єС |
| ||
| Средняя скорость газов в ступени |
|
| м/с |
| ||
| Коэффициент теплоотдачи конвекцией |
| По рис. 6–5
| Вт/(м2·К) |
| ||
| Средняя температура пара |
|
| єС |
| ||
| Объём пара при средней температуре |
| По табл. VI–8 | м3/кг | 0,061 | ||
| Средняя скорость пара |
|
| м/с |
| ||
| Коэффициент теплоотдачи от стенки к пару |
| По рис. 6–7 | Вт/(м2·К) |
| ||
| Эффективная толщина излучающего слоя | s |
| м |
| ||
| Суммарная поглощательная способность трёхатомных газов |
|
| м·МПа |
| ||
| Коэффициент ослабления лучей трёхатомными газами |
| По рис. 5–5 | 1/(м·МПа) | 3.34 | ||
| Суммарная оптическая толщина запылённого газового потока |
|
| — |
| ||
| Степень черноты излучающей среды | a | По рис. 5–5 | — | 0,0395 | ||
| Коэффициент загрязнения |
| По § 6–2 | м2·К/Вт | 0,01 | ||
| Температура загрязнённой стенки трубы |
|
| єС |
| ||
| Коэффициент теплоотдачи излучением |
| По рис. 6–12 | Вт/(м2·К) |
| ||
| Коэффициент | A | По § 6–2 | — | 0,3 | ||
| Глубина по ходу газов: ступени (пучка) объём перед ступенью |
| По конструктивным размерам То же | м м | 0,935 1,35 | ||
| Коэффициент теплоотдачи излучением с учётом излучения газового объёма перед ступенью |
|
| Вт/(м2·К) |
| ||
| Коэффициент теплоотдачи от газов к стенке |
|
| Вт/(м2·К) |
| ||
| Коэффициент тепловой эффективности |
| По табл. 6–2 | — | 0,7 | ||
| Коэффициент теплоотдачи | k |
| Вт/(м2·К) |
| ||
| Разность температур между газами и паром: наибольшая наименьшая |
|
| єС єС |
| ||
| Температурный напор при противотоке |
|
| єС |
| ||
| Полный перепад температур газового потока в ступени |
|
| єС |
| ||
| Полный перепад температур потока пара |
|
| єС |
| ||
| Параметр | R | | — | | ||
| То же | P | | — | | ||
| Коэффициент перехода к сложной схеме |
| По рис. 6–15 | — | 0.99 | ||
| Температурный перепад |
|
| єС |
| ||
| Площадь поверхности нагрева ступени | H | | м2 | | ||
Т.к. невязка составляет больше 2% то добавляем дополнительную площадь к перегревателю =38 м2
7 Расчёт хвостовых поверхностей нагрева
Конструктивные размеры а также расчёты ступеней хвостовых поверхностей нагрева представлены в таблицах 7.1 – 7.4
На рис. 5 прежставлена схема хвостовых поверхностей нагрева
Рис. 5 схема хвостовых поверхностей нагрева
ТАБЛИЦА 7.1 Конструктивные размеры и характеристики стального трубчатого экономайзера
| Показатели | Еди-ница | Ступень | |
| Наименования | Обозначение | I | |
| Диаметр труб : | |||
| наружный | d | м | 28 |
| внутренний | dвн | м | 22 |
| Кол-во труб в ряду | Z1 | шт. | 25 |
| Кол-во рядов труб | Z2 | 40 | |
| Расчетна площадь поверхности нагрева | H | м2 | 461.06 |
| Расположение труб | - | - | ш |
| Шаг труб : | |||
| поперек движения газов | S1 | м | 70 |
| Вдоль движения газов | S2 | м | 50 |
| Относительный шаг труб : | |||
| поперечный | S1/d | - | 2.5 |
| продольный | S2/d | - | 1.79 |
| Размер сечения газохода поперек | А | м | 1.78 |
| движения газов | В | м | 5.4 |
| Площадь живого сечения для прохода газов | F | м2 | 5.972 |
| Кол-во параллельно включенных труб (по воде) | Z0 | шт. | 50 |
| Площадь живого сечения для прохода воды | f | м2 | 0.019 |
ТАБЛИЦА 7.2 Конструктивный расчёт экономайзера
| Величина | Единица | Расчёт | ||||
| Наименование | Обозначение | Расчётная формула или способ определения | ||||
| Площадь поверхности нагрева ступени | H | По конструктивным размерам | м2 | 461.06 | ||
| Площадь живого сечения для прохода газов |
| То же | м2 | 5.972 | ||
| То же, для прохода воды | f | м2 | 0,019 | |||
| Температура газов на входе в ступень |
| Из расчёта перегревателя | єС | 637,42 | ||
| Энтальпия газов на входе в ступень |
| То же | кДж/кг | 36289,2 | ||
| Температура газов на выходе из ступени |
| По выбору | єС | 371 | ||
| Энтальпия газов на выходе из ступени |
| По – таблице | кДж/кг | 20451,5 | ||
| Тепловосприятие ступени (теплота, отданная газами) |
|
| кДж/кг |
| ||
| Удельная энтальпия воды на выходе из ступени |
|
| кДж/кг |
| ||
| Температура воды на выходе из ступени |
| По табл. VI–6 | єС | 256 | ||
| Паросодержание смеси | x |
|
| |||
| Удельная энтальпия воды на входе в ступень |
|
| кДж/кг | 610 | ||
| Температура воды на входе в ступень |
|
| єС | 145 | ||
| Средняя температура воды | tср |
| єС |
| ||
| Скорость воды в трубах |
|
| м/с |
| ||
| Средняя температура газов |
|
| єС |
| ||
| Средняя скорость газов |
|
| м/с |
| ||
| Коэффициент теплоотдачи конвекцией |
| По рис. 6–5
| Вт/(м2·К) | 60 | ||
| Эффективная толщина излучающего слоя | s |
| м |
| ||
| Суммарная поглощательная способность трёхатомных газов |
| м·МПа |
| |||
| Коэффициент ослабления лучей трёхатомными газами |
| По рис. 5–5 | 1/(м·МПа) | 3.4 | ||
| Суммарная оптическая толщина запылённого газового потока |
|
| — |
| ||
| Степень черноты газов | а | По рис. 5–4 | — | 0,009 | ||
| Температура загрязнённой стенки трубы |
|
| єС |
| ||
| Коэффициент теплоотдачи излучением |
| По рис. 6–12
| Вт/(м2·К) | 0.855 | ||
| Коэффициент | А | По § 6–2 | — | 0,3 | ||
| Глубина по ходу газов: ступени объём перед ступенью | | По конструктивным размерам То же | м м | 1,9 2 | ||
| Коэффициент теплоотдачи излучением с учётом излучения газового объёма перед степенью |
|
| Вт/(м2·К) |
| ||
| Коэффициент теплоотдачи от газов к стенке |
|
| Вт/(м2·К) |
| ||
| Коэффициент теплоотдачи |
|
| Вт/(м2·К) |
| ||
| Разность температур между средами: наибольшая наименьшая |
|
| єС єС |
| ||
| Отношение |
|
| — |
| ||
| Температурный напор |
|
| єС |
| ||
| Площадь поверхности нагрева ступени |
|
| м2 |
| ||
Т.к. невязка составляет меньше 2% то внесение конструктивных изменений не требуется
ТАБЛИЦА 7.3 Воздухоподогреватель
| Показатели | Еди-ница | Ступень | ||
| Наименования | Обозначение | I | ||
| Диаметр труб : | ||||
| наружный | d | м | 40 | |
| внутренний | dвн | м | 37 | |
| Длина труб | l | м | 5.514 | |
| Кол-во ходов по воздуху | n | м | 3 | |
| Кол-во труб в ряду поперек движения воздуха | Z1 | шт. | 72 | |
| Кол-во рядов труб вдоль движения воздуха | Z2 | шт. | 33 | |
| Расположение труб | - | - | ш | |
| Шаг труб : | ||||
| поперечный (поперек потока воздуха) | S1 | м | 56 | |
| продольный (вдоль потока воздуха) | S2 | м | 42 | |
| Относительный шаг труб : | ||||
| поперечный | S1/d | - | 1.4 | |
| продольный | S2/d | - | 1.05 | |
| Площадь живого сечения для прохода газов | Fг | м^2 | 2,56 | |
| Кол-во параллельно включенных труб (по газам) | Z0 | шт. | 2376 | |
| Ширина сечения воздушного канала | b | м | 4,144 | |
| Средняя высота воздушного канала | h | м | 2,1 | |
| Площадь среднего сечения воздушного канала | Fв | м^2 | 2,65 | |
| Площадь поверхности нагрева | H | м^2 | 1500 | |
ТАБЛИЦА 7.4 Конструктивный расчёт воздухоподогревателя
| Величина | Единица | Расчёт | ||
| Наименование | Обозначение | Расчётная формула или способ определения | ||
| Диаметр труб |
| По конструктивным размерам | мм | 40 |
| Относительный шаг: поперечный продольный |
| То же » » | — — | 1,4 1,05 |
| Количество рядов труб |
| » » | шт. | 33 |
| Количество ходов по воздуху |
| » » | — | 3 |
| Площадь живого сечения для прохода газов |
| » » | м2 | 2.56 |
| То же, для прохода воздуха |
| » » | м2 | 2.65 |
| Площадь поверхности нагрева |
| » » | м2 | 1500 |
| Температура газов на входе в ступень |
| Из расчёта второй ступени экономайзера | єС | 371 |
| Энтальпия газов на входе в ступень |
| То же | кДж/кг | 21290.66 |
| Температура воздуха на выходе из ступени |
| По выбору | єС | 250 |
| Энтальпия воздуха на выходе из ступени |
| По –таблицы | кДж/кг | 9774.09 |
| Отношение количества воздуха на выходе из ступени к теоретически необходимому |
|
| — |
|
| Температура воздуха на входе в ступень |
| По выбору | єС | 30 |
| Энтальпия воздуха на входе в ступень |
| По –таблицы | кДж/кг | 1139,58 |
| Тепловосприятие ступени |
|
| кДж/кг | 8893,545 |
| Средняя температура воздуха |
|
| єС |
|
| Энтальпия воздуха при средней температуре |
| По –таблицы | кДж/кг | 5049,2 |
| Энтальпия газов на выходе из ступени |
| По –таблицы | кДж/кг | 7849 |
| Температура газов на выходе из ступени |
| По заданию | єС | 140 |
| Средняя температура газов |
|
| єС |
|
| Средняя скорость газов |
|
| м/с |
|
| Коэффициент теплоотдачи с газовой стороны |
| По рис. 6–7
| Вт/(м2·К) | 36 |
| Средняя скорость воздуха |
|
| м/с |
|
| Коэффициент теплоотдачи с воздушной стороны |
| По рис. 6–5
| Вт/(м2·К) | 53 |
| Коэффициент использования поверхности нагрева |
| По табл. 6–3 | — | 0,7 |
| Коэффициент теплоотдачи |
|
| Вт/(м2·К) |
|
| Разность температур между средами: наибольшая наименьшая |
|
| єС єС |
|
| Средний температурный напор при противотоке |
|
| єС |
|
| Перепад температур: наибольший наименьший |
|
| єС єС |
|
| Параметр |
|
| — |
|
| То же |
|
| — |
|
| Коэффициент |
| По рис. 6–16 | — | 0,95 |
| Температурный напор |
|
| єС |
|
| Площадь поверхности нагрева ступени |
|
| м2 |
|
Т.к. невязка составляет более 2% то вносим конструктивные ихменения. Добавляем к воздухоподогревателю дополнительно 498 м2
8 Расчёт невязки теплового баланса парогенератора
Расчёт невязки теплового баланса представлен в таблице 8
ТАБЛИЦА 8
| Величина | Величина | Расчёт | ||||
| Наименование | Обозначение | Расчётная формула или способ определения | ||||
| Расчётная температура горячего воздуха |
| Из расчёта воздухоподогревателя | єС | 250 | ||
| Энтальпия горячего воздуха при расчётной температуре |
| То же | кДж/кг | 9774 | ||
| Лучистое тепловосприятие топки |
| Из расчёта топки | кДж/кг | 56657,7 | ||
| Расчётная невязка теплового баланса |
|
| кДж/кг |
| ||
| Невязка | — |
| % |
| ||
ВЫВОДЫ
В ходе выполнения курсового проекта был проведен тепловой расчет промышленного парогенератора ГМ-50-1 при совестном сжигании жидкого и газообразного топлива.
Расчет проводился по жидкому топливу, с учетом тепла, вносимого в топку, за счет сжигания газообразного топлива.
Последовательно был проведен поверочный расчет всех поверхностей нагрева котла: экранов топки, фестона, пароперегревателя, водяного экономайзера, воздухоподогревателя. С учетом того, что парогенератор спроектирован на сжигание другого вида топлива, возникла необходимость в проведении поверочно-конструктивного расчета.
При поверочном расчете поверхности нагрева приходится задаваться изменением температуры одной из теплообменивающихся сред (разностью температур на входе и выходе). Этим определяется тепловосприятие поверхности в первом приближении. Далее можно вычислить температуры другой среды на концах поверхности нагрева, температурный напор, скорости газового потока и рабочей среды и все другие величины, необходимые для вычисления тепловосприятия во втором приближении. При расхождении принятого и расчетного тепловосприятий выше допустимого повторяют расчет для нового принятого тепловосприятия. Таким образом, поверочный расчет поверхности нагрева выполняется методом последовательных приближений.
Тепловой расчет парогенератора заканчивается определением невязки теплового баланса. В курсовом проекте величина невязки составляет 0,95 %.
СПИСОК ЛИТЕРАТУРЫ
1. Тепловой расчет промышленных парогенераторов. / Под ред. В.И. Частухина. – Киев: Вища шк., 1980. – 184 с.
2. Сидельковский Л.Н., Юренев В.Н. Котельные установки промышленных предприятий: Учебник для вузов. – М.: Энергоатомиздат, 1988. – 528 с.
3. Компоновка и тепловой расчет парового котла: Учеб. пособие для вузов/ Ю.М. Липов, Ю.Ф. Самойлов, Т.В. Виленский. – М.: Энергоатомиздат, 1988. – 208 с.
4. Расчет паровых котлов в примерах и задачах: Учеб. пособие для вузов/ А.Н. Безгрешнов, Ю.М. Липов, Б.М. Шлейфер; Под общ. ред. Ю.М. Липова. – М.: Энергоатомиздат, 1991. – 240 с.
5. Методические указания "Расчет объемов и энтальпий воздуха и продуктов сгорания для смеси топлив с применением ЭВМ" по курсу "Котельные установки промышленных предприятий". / Сост.: А.А. Соловьев, В.Н. Евченко. – Мариуполь: ММИ, 1991. – 17 с.
6. Методические указания к выполнению курсового проекта по курсу "Котельные установки промышленных предприятий" для студентов специальности (7.090510)/ Сост.: А.А. Соловьев, В.М. Житаренко – Мариуполь: ПГТУ, 1998. – 40 с.
1>















