150995 (621527), страница 2
Текст из файла (страница 2)
=0.0476∙[(1+0.25∙4)∙93.2+(2+0.25∙6)∙2.6+(3+0.25∙8)∙1.2+(4+0.25∙10)∙0.7+]=9.8079 м/м;
VN2II=0.79∙VвII+0.01∙N2=0.79∙9.8079+0.01∙2=7.76 м/м;
VRO2II=0.01∙(СО2+СО+Н2S+∑m∙СmНn)=0.01∙(0.3+1∙93.2+2∙2.6+3∙1.2+4∙0.7)=1.051 м/м;
VН2OII=0.01∙(Н2S+Н2+∑0.5∙n∙СmНn+0.124∙dr)+0.0161∙Vв=0.01∙(0.5∙4∙93.2+0.5∙6∙2.6+0.5∙8∙1.2+0.5∙10∙0.7+0.124∙10)+0.0161∙9.8079=2.16031 м/м;
-
Для смеси топлив:
Vв=VвI+Х∙VвII=4.7593+0.21∙9.8079=6.81896 м/кг;
VN2=VN2I+Х∙VN2II=3.7638+0.21∙7.76=5.3952 м/кг;
VRO2=VRO2I+Х∙VRO2II=0.8658+0.21∙1.051=1.0865 м/кг;
VН2O=VН2OI+Х∙VН2OII=0.551+0.21∙2.16031=1.004665 м/кг;
Расчёт действительных объёмов.
VN2=VN2+(–1)∙Vв=5.3952+(1.2–1)∙6.818=6.7589 м/кг;
VН2O=VН2O+0.0161∙(–1)∙Vв=1.005+0.0161∙(1.2–1)∙6.819=1.027 м/кг;
Vr=VRO2+VN2+VН2O=1.0865+6.76+1.03=8.8725 м/кг;
Объёмные доли трёхатомных газов.
rRO2=VRO2/Vr=1.0865/8.8725=0.122462
rН2O=VН2O/Vr=1.33/8.8725=0.1157
rn=rRO2+rН2O=0.122462+0.1157=0.2382
Концентрация золы в продуктах сгорания.
=А ∙ун/(100·Gr)=33.8∙0.95/(100·11.35)=0.03574 кг/кг;
Gr=1-A/100+1.306∙· Vв=1-33.8/100+1.306·1.2·6.819=11.35 кг/кг;
2.4 Энтальпии воздуха и продуктов сгорания
Iв=Vв∙(сt)в=6.819∙1436=9792.08 кДж/кг;
Ir=VRO2∙(с)RO2+VN2∙(с)N2+VН2О∙(с)Н2О=1.0865∙2202+5.3952∙1394+1.005∙1725=11655.63 кДж/кг;
Ir=Ir+(–1)∙Iв+Iзл;
т.к. (А ∙ун/Qн)∙10=(33.8∙0.95/26077)∙10=1.23<1.5,
то Iзл – не учитывается;
Ir=Ir+(–1)∙Iв=11655.63+(1.2–1)∙9792.08=13614.04 кДж/кг.
Полученные результаты после проверки на компьютере и уточнения офор- мим в виде даблицы 2.3
Таблица 2.3 Результаты расчёта топлива.
| Для твёрдого топлива | Для газообразного топлива | Для смеси топлив | Энтальпии при t=1000 °С |
| VвI=4.7593 VN2I=3.7638 VRO2I=0.8658 VН2OI=0.551 | VвII=9.8079 VN2II=7.76 VRO2II=1.051 VН2OII=2.16031 | VвII=6.81896 VN2II=5.3952 VRO2II=1.0865 VН2OII=1.0047 | Воздуха: Iв=9792.08 Газа: Ir=11655.63 Ir=13614.04 Золы: Iзл=0.00 |
При т=1.2, t=1000°С.
Значение коэффициентов избытка воздуха на выходе из топки и присосов воздуха в элементах и газоходах котельной установки принимаем по таблице 2.4.
Таблица 2.4 Присосы воздуха по газовому тракту.
| Участки газового тракта. | ∆ | Температура, °С. | |
| Топка | 0.1 | 1,2 | 100–2200 |
| Пароперегреватель I ст. | 0,05 | 1,25 | 600–1200 |
| Экономайзер II ст. | 0,04 | 1,29 | 400–900 |
| Воздухоподогреватель II ст. | 0,03 | 1,32 | 300–600 |
| Экономайзер I ст. | 0,04 | 1,36 | 200–500 |
| Воздухоподогреватель I ст. | 0,03 | 1,39 | 100–400 |
Данные расчётов энтальпии продуктов сгорания топлива при различных температурах газов в различных газоходах сведены в таблицу 2.5
Таблица 2.5 Энтальпии продуктов сгорания в газоходах.
Таблица 2.6 Характеристики продуктов сгорания в поверхностях нагрева.
| Величина | Един-ица | Топка | Участки конвективных поверхностей нагрева | ||||
| 1.200 | 1.225 | 1.27 | 1.305 | 1.34 | 1.375 | ||
| VRO2 | м/кг | 1.087 | 1.087 | 1.087 | 1.087 | 1.087 | 1.087 |
| VN2=VN2+(-1)∙Vв | –//– | 6.759 | 6.929 | 7.24 | 7.47 | 7.714 | 7.95 |
| VН2O=VН2O+ 0.0161∙(-1)∙Vв | –//– | 1.027 | 1.029 | 1.034 | 1.038 | 1.042 | 1.046 |
| Vr=VRO2+VN2+VН2O | –//– | 8.872 | 9.045 | 9.357 | 9.599 | 9.842 | 10.09 |
| rRO2=VRO2/Vr | –//– | 0.122 | 0.12 | 0.116 | 0.113 | 0.11 | 0.108 |
| rН2O=VН2O/Vr | –//– | 0.116 | 0.114 | 0.11 | 0.108 | 0.106 | 0.104 |
| rn=rRO2+rН2O | –//– | 0.238 | 0.234 | 0.227 | 0.221 | 0.216 | 0.211 |
| = А ∙ун/(Gr·100) | кг/кг | 0.0357 | 0.0358 | 0.0359 | 0.0359 | 0.036 | 0.036 |
| 10∙А ∙ун/Qн | кг/МДж | 1.231 | 1.231 | 1.231 | 1.231 | 1.231 | 1.231 |
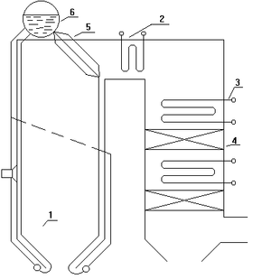
На рис.1 представлена схема котла К-50-40-1
Рис.1 Схема котла К-50-40-1
1-Торочная камера
2-Пароперегреватель
3-Экономайзер
4-Воздухоподогреватель
5-Фестон
6-барабан
3. Расчёт теплового баланса парогенератора и расход топлива
Расчёт теплового баланса парогенератора и расход топлива преждставлен в таблице 3
ТАБЛИЦА 3.
| Величина | Единица | Расчёт | ||
| Наименование | Обозначение | Расчётная формула или способ определение | ||
| Располагаемая теплота топлива |
|
| кДж/кг |
|
| Потеря теплоты от химической неполноты сгорания топлива |
| По таблице 4–3 | % | 0,5 |
| Потеря теплоты от механической неполноты сгорания топлива |
| По таблице 4–3 | % | 2 |
| Температура уходящих газов |
| По заданию | С | 140 |
| Энтальпия уходящих газов |
| По –таблице | кДж/кг | 1955,4 |
| Температура воздуха в котельной |
| По выбору | С | 30 |
| Энтальпия воздуха в котельной |
| По –таблице | кДж/кг | 265,94 |
| Потеря теплоты с уходящими газами |
|
| % |
|
| Потеря теплоты от наружного охлаждения |
| По рис. 3–1 | % | 0,9 |
| Сумма тепловых потерь |
|
| % |
|
| К.п.д. парогенератора |
|
| % |
|
| Коэффициент сохранения теплоты |
|
| — |
|
| Паропроизводительность агрегата | D | По заданию | кг/с | 48 |
| Давление пара в барабане |
| По заданию | МПа | 4,4 |
| Температура перегретого пара |
| По заданию | С | 445 |
| Температура питательной воды |
| По заданию | С | 140 |
| Удельная энтальпия перегретого пара |
| По табл. VI–8 | кДж/кг | 3313 |
| Удельная энтальпия питательной воды |
| По табл. VI–6 | кДж/кг | 611 |
| Значение продувки | p | По выбору | % | 70 |
| Полезно используемая теплота в агрегате |
|
| кВт |
|
| Полный расход топлива |
|
| кг/с |
|
| Расчётный расход топлива |
|
| кг/с |
|
4. Расчет теплообмена в топке
Расчёт полной площади стен топочной камеры и сумарной лучевоспринимающей поверхности топки представлен в таблицах 4.1 ,4.2, 4.3
На рис.2 представлена схема топочной камеры
ТАБЛИЦА 4.1 Расчет полной площади стен топочной камеры (Fст) и суммарной лучевоспринимающей поверхности топки (Hл)
| Наименование | Обоз-наче-ние | Еди-ница | Фр.и свод | Боко-вые | Задн | Вых. окно | |
| Полная площадь стены и выходного окна | FСТ | м2 | 84.6 | 130 | 66.53 | 16.63 | 297.76 |
| Расстояние между осями крайних труб | b | м | 5.11 | 5,88 | 5.11 | 5.11 | |
| Освещённая длина труб | L | м | 15,08 | 8,625 | 12,08 | 2,97 | |
| Площадь, занятая лучевоспринимающей поверхностью | F | м2 | 77.05 | 120 | 61.73 | 15.18 | 273.96 |
| Наружный диаметр труб | d | мм | 60 | 60 | 60 | 60 | |
| Шаг труб | s | мм | 70 | 70 | 70 | 70 | |
| Расстояние от оси труб до кладки (стены) | e | мм | 125 | 75 | 125 | 125 | |
| Отношение | s/d | - | 1.17 | 1.17 | 1.17 | 1.17 | |
| Отношение | e/d | - | 2.1 | 1.25 | 2.1 | 2.1 | |
| Угловой коэффициент | x | - | 0.98 | 0.98 | 0.98 | 0.98 | |
| Площадь лучевоспринимающей поверхности открытых экранов | HЛОТК | м2 | 75.51 | 117,6 | 60.5 | 14.88 | 268.5 |
ТАБЛИЦА 4.2 Расчёт конструктивных характеристик топки
| Величина | Единица | Расчёт | ||
| Наименование | Обозначение | Расчётная формула или способ определения | ||
| Активный объём топочной камеры |
| По конструктивным размерам | м3 | 222 |
| Тепловое напряжение объёма топки: расчётное допустимое |
| По табл. 4–3 | кВт/м3 кВт/м3 |
|
| Количество горелок | n | По табл. III–10 | шт. | 4 |
| Тепло производительность горелки |
|
| МВт |
|
| Тип горелки | — | По табл. III–6 | — | ГУ-1-Л |
Рис.2 Топочная камера
ТАБЛИЦА 4.3 Поверочный расчёт теплообмена в топке
| Величина | Единица | Расчёт | ||||
| Наименование | Обозначение | Расчётная формула или способ определение | ||||
| Суммарная площадь лучевоспринимающей поверхности |
| По конструктивным размерам | м2 | 268,5 | ||
| Полная площадь стен топочной камеры |
| По конструктивным размерам | м2 | 297,76 | ||
| Коэффициент тепловой эффективности лучевоспринимающей поверхности |
|
| — |
| ||
| Эффективная толщина излучающего слоя пламени |
|
| м |
| ||
| Полная высота топки |
| По конструктивным размерам | м | 9.75 | ||
| Высота расположения горелок |
| По конструктивным размерам | м | 3.75 | ||
| Относительный уровень расположения горелок |
|
| — |
| ||
| Параметр забалансированности топочных газов | rн |
| — |
| ||
| Коэффициент M0 | M0 | По нормативному методу | — | 0,4 | ||
| Параметр, учитывающий характер распределения температуры в топке | М |
| — |
| ||
| Коэффициент избытка воздуха на выходе из топки |
| По табл. 4–3 | — | 1,2 | ||
| Присос воздуха в топке |
| По табл. 2–2 | — | 0,1 | ||
| Присос воздуха в системе пылеприготовления |
| По табл. 2–1 | — | 0,04 | ||
| Температура горячего воздуха |
| По предварительному выбору | С | 350 | ||
| Энтальпия горячего воздуха | По –таблице | кДж/кг | 3213 | |||
| Энтальпия присосов воздуха |
| По –таблице | кДж/кг | 265,94 | ||
| Полезное тепловыделение в топке |
|
| кДж/кг |
| ||
| Адиабатическая температура горения |
| По –таблице | С | 1972 | ||
| Температура газов на выходе из топки |
| По предварительному выбору | С | 1035 | ||
| Энтальпия газов на выходе из топки | По –таблице | кДж/кг | 14140 | |||
| Средняя суммарная теплоёмкость продуктов сгорания |
|
| кДж/кг |
| ||
| Объёмная доля: водяных паров трёхатомных газов |
| По табл. 1–2 По табл. 1–2 | — — | 0,116 0,122 | ||
| Суммарная объёмная доля трёхатомных газов |
|
| — |
| ||
| Произведение |
|
| м·МПа |
| ||
| Коэффициент ослабления лучей: трёхатомными газами золовыми частицами газами кокса |
|
| 1/(мЧ ЧМПа) | 0.2 | ||
| Коэффициент излучения сажестых частиц |
|
| — |
| ||
|
| 1- | — |
| |||
| Коэффициент заполнения | m | По Н.М. | — | 0.1 | ||
| Коэффициент ослабления лучей топочной средой |
|
| 1/(мЧ ЧМПа) |
| ||
| Критерий Бургера |
|
| — |
| ||
| Критерий Бургера |
|
| — |
| ||
| Температура газов на выходе из топки |
|
| С |
| ||
| Энтальпия газов на выходе из топки |
| По –таблице | кДж/кг | 14197 | ||
| Общее тепловосприятие топки |
|
| кДж/кг |
| ||
| Средняя удельная тепловая нагрузка лучевоспринимающих поверхностей |
|
| кВт/м2 |
| ||
5 Расчёт фестона
Конструктивные размеры и поверочный расчёт фестона представлен в таблицах 5.1 и 5.2
На рис 3 представлена схема фестона
Рис. 3 Схема фестона
ТАБЛИЦА 5.1 Конструктивные размеры и характеристики поверхностей нагрева фестона
| Показатели | Еди-ница | Фес-тон | |
| Наименования | Обозначение | ||
| Диаметр труб : | |||
| наружный | d | м | 0.06 |
| внутренний | dвн | м | 0.054 |
| Кол-во труб в ряду | Z1 | шт. | 9 |
| Кол-во рядов труб | Z2 | 4 | |
| Общее кол-во труб в рассчитваыемом участке | Z | шт. | 36 |
| Средняя длина труб | lср | м | 3.135 |
| Расчетна площадь поверхности нагрева | H | м2 | 21.26 |
| Расположение труб | - | - | ш |
| Шаг труб : | |||
| поперек движения газов | S1 | 140 | |
| Вдоль движения газов | S2 | 220 | |
| Относительный шаг труб : | |||
| поперечный | S1/d | 2.33 | |
| продольный | S2/d | 3.67 | |
| Размер сечения газохода поперек | А | м | 2.541 |
| движения газов | В | м | 4.9 |
| Площадь живого сечения для прохода газов | F | м2 | 12.45 |
ТАБЛИЦА 5.2 Поверочный расчёт фестона
| Величина | Единица | Расчёт | ||
| Наименование | Обозначение | Расчётная формула или способ определения | ||
| Полная площадь поверхности нагрева | Н | По конструктивным размерам | м2 | 21.26 |
| Дополнительна поверхностья | H доп | » | м2 | 3.71 |
| Диаметр труб | d | » | мм | 60x3 |
| Относительный шаг труб: поперечный продольный |
| » » | — — | 2.33 3,67 |
| Количество рядов труб по ходу газов |
| » | шт. | 4 |
| Количество труб в ряду |
| » | шт. | 9 |
| Площадь живого сечения для прохода газов | F | | м2 | |
| Эффективная толщина излучающего слоя | s |
| м |
|
| Температура газов перед фестоном |
| Из расчёта топки | °С | 1038 |
| Энтальпия газов перед фестоном |
| То же | кДж/кг | 14197 |
| Температура газов за фестоном |
| По предварительному выбору | °С | 995 |
| Энтальпия газов за фестоном |
| По –таблице | кДж/кг | 13538.5 |
| Количество теплоты, отданное фестону |
|
| кДж/кг |
|
| Температура кипения при давлении в барабане рб=4.4 МПа |
| По таблице VI–7 | °С | 256 |
| Средняя температура газов |
|
| °С |
|
| Средний температурный напор |
|
| °С |
|
| Средняя скорость газов |
|
| м/с |
|
| Коэффициент теплоотдачи конвекцией |
| По рис. 6–5 | кВт/(м2·К) | 60*0.95*0.97*0.85=46.99 |
| Суммарная поглощательная способность трёхатомных газов |
|
| м·МПа |
|
| Коэффициент ослабления лучей трёхатомными газами |
|
| 1/(м·МПа) |
|
| Коэффициент ослабления лучей золовыми частицами |
| По рис 5-6 | 1/(м·МПа) | 0,055 |
| Суммарная оптическая толщина запылённого газового потока |
|
| — |
|
| Степень черноты излучающей среды |
| По рис. 5–4 или формуле (5–22) | — | 0,3 |
| Температура загрязнённой стенки трубы |
|
| °С |
|
| Коэффициент теплоотдачи излучением |
| По рис. 6–12 (л=н а) | Вт/(м2·К) | 220·0,3=66 |
| Коэффициент использования поверхности нагрева | |
| — | 1 |
| Коэффициент теплоотдачи от газов к стенке |
|
| Вт/(м2·К) |
|
| Коэффициент загрязнения |
| По формуле (6–8) и рис. 6–1 | м2·К/Вт | 0,0125 |
| Коэффициент теплопередачи |
|
| Вт/(м2·К) |
|
| Тепловосприятие фестона по уравнению теплопередачи |
|
| кДж/кг |
|
| Тепловосприятие настенных труб |
|
| кДж/кг |
|
| Суммарное тепловосприятие газоходов фестона |
|
| кДж/кг | 515.4+131.7=646.2 |
| Расхождение расчетных тепловосприятий |
|
| % |
|
6 Расчёт пароперегревателя
Конструктивные размеры конструктивный расчёт перегревателя представлен в таблицах 6.1 и 6.2
На рис. 4 представлена схема пароперегревателя
Рис.4 Схема пароперегревателя
ТАБЛИЦА 6.1 Конструктивные размеры и характеристики перегревателя
| Показатели | Еди-ница | Номера ступени участков по ходу пара | |
| Наименование | Обозначение | I ступень | |
| Наружный диаметр | d | мм | 32 |
| Внутренний диаметр трубы | dвн | мм | 26 |
| Кол-во труб в ряду | Z1 | шт. | 72 |
| Кол-во рядов по ходу | Z2 | шт. | 22 |
| Средний поперечный шаг | S1 | мм | 65 |
| Средний продольный шаг | S2 | мм | 75 |
| Расположение труб (шахматное, коридорное) | - | - | кор |
| Характер омывания (поперечное, продольное, смешанное) | - | - | поп |
| Средняя длина змеевика | L | м | 2 |
| Суммарная длина труб | ∑L | м | 3168 |
| Площадь полной поверхности нагрева | H | м2 | 318,3 |
| Площадь живого сечения на входе | F’ | м2 | 8.36 |
| То же, на выходе | F” | м2 | 12.52 |
| Средняя площадь живого сечения газохода | Fср | м2 | 10.03 |
| Толщина излучающего слоя | s | м2 | |
| Кол-во змеевиков, вкл. параллельно (по пару) | m | шт. | 72 |
| Живое сечение для прохода пара | f | м2 | 0.0382 |
ТАБЛИЦА 6.2 Конструктивный расчёт перегревателя
| Величина | Единица | Расчёт | ||
| Наименование | Обозначение | Расчётная формула или способ определения | ||
| Диаметр труб |
| По конструктивным размерам | мм | 32/26 |
| Параметр пара на входе в ступень: давление температура паросодержание |
|
| МПа єС — | 4,4 256 0,985 |
| Удельная энтальпия: кипящей воды сухого насыщенного пара |
|
| кДж/кг кДж/кг | 1115,5 2797,2 |
| Удельная энтальпия пара на входе в ступень |
|
| кДж/кг |
|
| Параметры пара на выходе из ступени: давление температура удельная энтальпия |
|
| МПа єС кДж/кг | 4,0 445 3367,58 |
| Тепловосприятие пароохладителя |
| По выбору | кДж/кг | 70 |
| Тепловосприятие ступени | Q | | кДж/кг | |
| Энтальпия газов на входе в ступень |
| Из расчёта фестона | кДж/кг | 14026 |
| Температура газов на входе в ступень |
| То же | єС | 995 |
| Энтальпия газов на выходе из ступени |
|
| кДж/кг |
|
| Температура газов на выходе из ступени |
| По – таблице | єС | 657 |
| Средняя температура газов в ступени |
|
| єС |
|
| Средняя скорость газов в ступени |
|
| м/с |
|
| Коэффициент теплоотдачи конвекцией |
| По рис. 6-5 | Вт/(м2·К) |
|
| Средняя температура пара |
|
| єС |
|
| Объём пара при средней температуре |
| По табл. VI–8 | м3/кг | 0,061 |
| Средняя скорость пара |
|
| м/с |
|
| Коэффициент теплоотдачи от стенки к пару |
| По рис. 6–7 | Вт/(м2·К) |
|
| Эффективная толщина излучающего слоя | s |
| м |
|
| Суммарная поглощательная способность трёхатомных газов |
|
| м·МПа |
|
| Коэффициент ослабления лучей трёхатомными газами |
| По рис. 5–5 | 1/(м·МПа) | 8,75 |
| Суммарная оптическая толщина запылённого газового потока |
|
| — |
|
| Степень черноты излучающей среды | a | По рис. 5–5 | — | 0,04 |
| Коэффициент загрязнения |
| По § 6–2 | м2·К/Вт | 0,01 |
| Температура загрязнённой стенки трубы |
|
| єС |
|
| Коэффициент теплоотдачи излучением |
| По рис. 6–12 | Вт/(м2·К) |
|
| Коэффициент | A | По § 6–2 | — | 0,4 |
| Глубина по ходу газов: ступени (пучка) объём перед ступенью |
| По конструктивным размерам То же | м м | 0,225 1,155 |
| Коэффициент теплоотдачи излучением с учётом излучения газового объёма перед ступенью |
|
| Вт/(м2·К) |
|
| Коэффициент теплоотдачи от газов к стенке |
|
| Вт/(м2·К) |
|
| Коэффициент тепловой эффективности |
| По табл. 6–2 | — | 0,7 |
| Коэффициент теплоотдачи | k |
| Вт/(м2·К) |
|
| Разность температур между газами и паром: наибольшая наименьшая |
|
| єС єС |
|
| Температурный напор при противотоке |
|
| єС |
|
| Полный перепад температур газового потока в ступени |
|
| єС |
|
| Полный перепад температур потока пара |
|
| єС |
|
| Параметр | R | | — | |
| То же | P | | — | |
| Коэффициент перехода к сложной схеме |
| По рис. 6–15 | — | 1 |
| Температурный перепад |
|
| єС |
|
| Площадь поверхности нагрева ступени | H | | м2 | |
Т.к. невязка составляет меньше 2% то добавлять змеевеки не требуется
7 Расчёт хвостовых поверхностей нагрева
Конструктивные размеры а также расчёты ступеней хвостовых поверхностей нагрева представлены в таблицах 7.1 – 7.6
На рис. 5 прежставлена схема хвостовых поверхностей нагрева
Рис. 5 схема хвостовых поверхностей нагрева
ТАБЛИЦА 7.1 Конструктивные размеры и характеристики стального трубчатого экономайзера (ступени).
| Показатели | Еди-ница | Ступень | ||
| Наименования | Обозначение | I | II | |
| Диаметр труб : | ||||
| наружный | d | м | 28 | 28 |
| внутренний | dвн | м | 22 | 22 |
| Кол-во труб в ряду | Z1 | шт. | 16 | 14 |
| Кол-во рядов труб | Z2 | 26 | 32 | |
| Расчетна площадь поверхности нагрева | H | м2 | 236 | 230 |
| Расположение труб | - | - | ш | ш |
| Шаг труб : | ||||
| поперек движения газов | S1 | м | 70 | 90 |
| Вдоль движения газов | S2 | м | 50 | 50 |
| Относительный шаг труб : | ||||
| поперечный | S1/d | - | 2.5 | 3.21 |
| продольный | S2/d | - | 1.79 | 1.79 |
| Размер сечения газохода Поперек движения газов | А | м | 5.72 | 5.72 |
| В | м | 1.12 | 1.215 | |
| Площадь живого сечения для прохода газов | F | м2 | 6.41 | 6.98 |
| Кол-во параллельно включенных труб (по воде) | Z0 | шт. | 32 | 28 |
| Площадь живого сечения для прохода воды | f | м2 | 0.0122 | 0.011 |
ТАБЛИЦА 7.2 Воздухоподогреватель
| Показатели | Еди-ница | Ступень | ||
| Наименования | Обозначение | I | II | |
| Диаметр труб : | ||||
| наружный | d | м | 40 | 40 |
| внутренний | dвн | м | 37 | 37 |
| Длина труб | l | м | 5.514 | 2.525 |
| Кол-во ходов по воздуху | n | м | 3 | 1 |
| Кол-во труб в ряду поперек движения воздуха | Z1 | шт. | 48 | 50 |
| Кол-во рядов труб вдоль движения воздуха | Z2 | шт. | 26 | 30 |
| Расположение труб | - | - | ш | ш |
| Шаг труб : | ||||
| поперечный (поперек потока воздуха) | S1 | м | 54 | 54 |
| продольный (вдоль потока воздуха) | S2 | м | 42 | 42 |
| Относительный шаг труб : | ||||
| поперечный | S1/d | - | 1.35 | 1.35 |
| продольный | S2/d | - | 1.05 | 1.05 |
| Площадь живого сечения для прохода газов | Fг | м^2 | 2.7 | 3.2 |
| Кол-во параллельно включенных труб (по газам) | Z0 | шт. | 1248 | 15000 |
| Средняя высота воздушного канала | h | м | 1.838 | 2.525 |
| Площадь среднего сечения воздушного канала | Fв | м^2 | 2.5 | 3.5 |
| Площадь поверхности нагрева | H | м^2 | 1750 | 731 |
ТАБЛИЦА 7.3 Поверочный расчёт второй ступени экономайзера
| Величина | Единица | Расчёт | ||
| Наименование | Обозначение | Расчётная формула или способ определения | ||
| Площадь поверхности нагрева ступени | H | По конструктивным размерам | м2 | 230 |
| Площадь живого сечения для прохода газов |
| То же | м2 | 6,98 |
| То же, для прохода воды | f | м2 | 0,011 | |
| Температура газов на входе в ступень |
| Из расчёта перегревателя | єС | 656.7 |
| Энтальпия газов на входе в ступень |
| То же | кДж/кг | 8705 |
| Температура газов на выходе из ступени |
| По выбору | єС | 437 |
| Энтальпия газов на выходе из ступени |
| По – таблице | кДж/кг | 5930 |
| Тепловосприятие ступени (теплота, отданная газами) |
|
| кДж/кг |
|
| Удельная энтальпия воды на выходе из ступени |
|
| кДж/кг |
|
| Температура воды на выходе из ступени |
| По табл. VI–6 | єС | 225 |
| Удельная энтальпия воды на входе в ступень |
|
| кДж/кг |
|
| Температура воды на входе в ступень |
| По табл. VI–6 | єС | 160 |
| Средняя температура воды | tср |
| єС |
|
| Скорость воды в трубах |
|
| м/с |
|
| Средняя температура газов |
|
| єС |
|
| Средняя скорость газов |
|
| м/с |
|
| Коэффициент теплоотдачи конвекцией |
| По рис. 6–5 | Вт/(м2·К) | 77 |
| Эффективная толщина излучающего слоя | s |
| м |
|
| Суммарная поглощательная способность трёхатомных газов |
| м·МПа |
| |
| Коэффициент ослабления лучей трёхатомными газами |
| По рис. 5–5 | 1/(м·МПа) | 6,3 |
| Коэффициент ослабления лучей золовыми частицами |
| По рис. 5–6 | 1/(м·МПа) | 0,062 |
| Суммарная оптическая толщина запылённого газового потока |
|
| — |
|
| Степень черноты газов | а | По рис. 5–4 | — | 0,054 |
| Температура загрязнённой стенки трубы |
|
| єС |
|
| Коэффициент теплоотдачи излучением |
| По рис. 6–12 | Вт/(м2·К) |
|
| Температура в объёме камеры перед ступенью |
| Из расчёта перегревателя | єС | 657 |
| Коэффициент | А | По § 6–2 | — | 0,4 |
| Глубина по ходу газов: ступени объём перед ступенью | | По конструктивным размерам То же | м м | 1,1 1,9 |
| Коэффициент теплоотдачи излучением с учётом излучения газового объёма перед степенью |
|
| Вт/(м2·К) |
|
| Коэффициент теплоотдачи от газов к стенке |
|
| Вт/(м2·К) |
|
| Поправка к коэффициенту загрязнения |
| По табл. 6–1 | м2·К/Вт | 0,002 |
| Коэффициент загрязнения |
| По формуле (6–8) | м2·К/Вт | 0,0056 |
| Коэффициент теплоотдачи |
|
| Вт/(м2·К) |
|
| Разность температур между средами: наибольшая наименьшая |
|
| єС єС |
|
| Отношение |
| — |
| |
| Температурный напор |
|
| єС |
|
| Тепловосприятие ступени по уравнению теплообмена |
|
| кДж/кг |
|
| Расхождение расчётных тепловосприятий |
|
| % |
|
ТАБЛИЦА 7.4 Поверочный расчёт второй ступени воздухоподогревателя
| Величина | Единица | Расчёт | ||||
| Наименование | Обозначение | Расчётная формула или способ определения | ||||
| Диаметр труб |
| По конструктивным размерам | мм | 40 | ||
| Относительный шаг: поперечный продольный |
| То же » » | — — | 1,35 1,05 | ||
| Количество рядов труб |
| » » | шт. | 30 | ||
| Количество ходов по воздуху |
| » » | — | 3 | ||
| Площадь живого сечения для прохода газов |
| » » | м2 | 3,2 | ||
| То же, для прохода воздуха |
| » » | м2 | 3,5 | ||
| Площадь поверхности нагрева |
| » » | м2 | 731 | ||
| Температура газов на входе в ступень |
| Из расчёта второй ступени экономайзера | єС | 437 | ||
| Энтальпия газов на входе в ступень |
| То же | кДж/кг | 6038 | ||
| Температура воздуха на выходе из ступени |
| По выбору | єС | 350 | ||
| Энтальпия воздуха на выходе из ступени |
| По –таблицы | кДж/кг | 3213 | ||
| Отношение количества воздуха на выходе из ступени к теоретически необходимому |
|
| — |
| ||
| Температура воздуха на входе в ступень |
| По выбору | єС | 287 | ||
| Энтальпия воздуха на входе в ступень |
| По –таблицы | кДж/кг | 2608,8 | ||
| Тепловосприятие ступени |
|
| кДж/кг | 649,5 | ||
| Средняя температура воздуха |
|
| єС |
| ||
| Энтальпия воздуха при средней температуре |
| По –таблицы | кДж/кг | 2920,8 | ||
| Энтальпия газов на выходе из ступени |
|
| кДж/кг |
| ||
| Температура газов на выходе из ступени |
| По –таблицы | єС | 398 | ||
| Средняя температура газов |
|
| єС |
| ||
| Средняя скорость газов |
|
| м/с |
| ||
| Коэффициент теплоотдачи с газовой стороны |
| По рис. 6–7 | Вт/(м2·К) | 35 | ||
| Средняя скорость воздуха |
|
| м/с |
| ||
| Коэффициент теплоотдачи с воздушной стороны |
| По рис. 6–5
| Вт/(м2·К) | 58 | ||
| Коэффициент использования поверхности нагрева |
| По табл. 6–3 | — | 0,85 | ||
| Коэффициент теплоотдачи |
|
| Вт/(м2·К) |
| ||
| Разность температур между средами: наибольшая наименьшая |
|
| єС єС |
| ||
| Средний температурный напор при противотоке |
| єС |
| |||
| Перепад температур: наибольший наименьший |
|
| єС єС |
| ||
| Параметр |
|
| — |
| ||
| То же |
|
| — |
| ||
| Коэффициент |
| По рис. 6–16 | — | 0,82 | ||
| Температурный напор |
|
| єС |
| ||
| Тепловосприятие по уравнению теплообмена |
|
| кДж/кг |
| ||
| Расхождение расчётных тепловосприятий |
|
| % |
| ||
ТАБЛИЦА 7.5 Конструктивный расчёт первой ступени экономайзера
| Величина | Единица | Расчёт | |||
| Наименование | Обозначение | Расчётная формула или способ определения | |||
| Площадь поверхности нагрева ступени | H | По конструктивным размерам | м2 | 236 | |
| Площадь живого сечения для прохода газов |
| То же | м2 | 6,41 | |
| То же, для прохода воды | f | То же | м2 | 0,0122 | |
| Температура газов на входе в ступень |
| Из расчёта 2 ст. воздухоподогревателя | єС | 398 | |
| Энтальпия газов на входе в ступень |
| То же | кДж/кг | 5616,6 | |
| Температура газов на выходе из ступени |
| По выбору | єС | 307 | |
| Энтальпия газов на выходе из ступени |
| По – таблице | кДж/кг | 4281,79 | |
| Тепловосприятие ступени (теплота, отданная газами) |
|
| кДж/кг |
| |
| Удельная энтальпия воды на выходе из ступени |
| Из расчёта 2 ст. экономайзера | кДж/кг | 669,6 | |
| Температура воды на выходе из ступени |
| То же | єС | 160 | |
| Удельная энтальпия воды на входе в ступень |
| По табл. VI–6 | кДж/кг | 610 | |
| Температура воды на входе в ступень |
| По заданию | єС | 145 | |
| Средняя температура воды | tср |
| єС |
| |
| Скорость воды в трубах |
|
| м/с |
| |
| Средняя емпература газов |
|
| єС |
| |
| Средняя скорость газов |
|
| м/с |
| |
| Коэффициент теплоотдачи конвекцией |
| По рис. 6–5
| Вт/(м2·К) | 61 | |
| Эффективная толщина излучающего слоя | s |
| м |
| |
| Суммарная поглощательная способность трёхатомных газов |
| м·МПа |
| ||
| Коэффициент ослабления лучей трёхатомными газами |
| По рис. 5–5 | 1/(м·МПа) | 5 | |
| Коэффициент ослабления лучей золовыми частицами |
| По рис. 5–6 | 1/(м·МПа) | 0,055 | |
| Суммарная оптическая толщина запылённого газового потока |
|
| — |
| |
| Степень черноты газов | а | По рис. 5–4 | — | 0,0356 | |
| Температура загрязнённой стенки трубы |
|
| єС |
| |
| Коэффициент теплоотдачи излучением |
| По рис. 6–12
| Вт/(м2·К) | 1,2 | |
| Температура в объёме камеры перед ступенью |
| Из расчёта перегревателя | єС | 398 | |
| Коэффициент | А | По § 6–2 | — | 0,4 | |
| Глубина по ходу газов: ступени объём перед ступенью | | По конструктивным размерам То же | м м | 1,1 1,9 | |
| Коэффициент теплоотдачи излучением с учётом излучения газового объёма перед степенью |
|
| Вт/(м2·К) |
| |
| Коэффициент теплоотдачи от газов к стенке |
|
| Вт/(м2·К) |
| |
| Поправка к коэффициенту загрязнения |
| По табл. 6–1 | м2·К/Вт | 0,002 | |
| Коэффициент загрязнения |
| По формуле (6–8) | м2·К/Вт | 0,0056 | |
| Коэффициент теплоотдачи |
|
| Вт/(м2·К) |
| |
| Разность температур между средами: наибольшая наименьшая |
|
| єС єС |
| |
| Отношение |
| — |
| ||
| Температурный напор |
|
| єС |
| |
| Площадь поверхности нагрева ступени |
|
| м2 |
| |
Т.к. невязка составляет меньше 2% то внесение конструктивных изменений не требуется
ТАБЛИЦА 7.6 Конструктивный расчёт первой ступени воздухоподогревателя
| Величина | Единица | Расчёт | ||||
| Наименование | Обозначение | Расчётная формула или способ определения | ||||
| Диаметр и толщина стенки труб |
| По конструктивным размерам | мм | 40х0,3 | ||
| Относительный шаг труб: поперечный продольный |
| То же » » | — — | 1,35 1,05 | ||
| Количество рядов труб |
| » » | шт. | 30 | ||
| Количество ходов по воздуху |
| » » | — | 1 | ||
| Площадь живого сечения для прохода газов |
| » » | м2 | 2,7 | ||
| То же, для прохода воздуха |
| » » | м2 | 2,5 | ||
| Площадь поверхности нагрева | Н | » » | м2 | 1750 | ||
| Температура газов на выходе из ступени |
| По заданию | єС | 140 | ||
| Энтальпия газов на выходе из ступени |
| По –таблице | кДж/кг | 1871.14 | ||
| Температура воздуха на входе в ступень |
| По выбору | єС | 30 | ||
| Энтальпия теоретического количества холодного воздуха |
| По –таблице | кДж/кг | 265.94 | ||
| Температура воздуха на выходе из ступени |
| Из 2 ст воздухоподогревателя | єС | 287 | ||
| Энтальпия теоретического количества воздуха на выходе из ступени |
| По –таблице | кДж/кг | 2608,8 | ||
| Отношение |
|
| — |
| ||
| Тепловосприятие ступени |
|
| кДж/кг |
| ||
| Средняя температура воздуха в ступени |
|
| єС |
| ||
| Энтальпия теоретического количества воздуха присосов при средней температуре |
| По –таблице | кДж/кг | 1406,8 | ||
| Температура газов на входе в ступень |
| Из расчёта 1 ст. экономайзера | єС | 307 | ||
| Энтальпия газов на входе в ступень |
| По –таблице | кДж/кг | 4366,22 | ||
| Средняя температура газов |
|
| єС |
| ||
| Средняя скорость газов |
|
| м/с |
| ||
| Коэффициент теплоотдачи от газов к стенке |
| По рис. 6–7 | Вт/(м2·К) | 34 | ||
| Средняя скорость воздуха |
|
| м/с |
| ||
| Коэффициент теплоотдачи с воздушной стороны |
| По рис. 6–4
| Вт/(м2·К) | 55 | ||
| Коэффициент использования поверхности нагрева |
| По табл. 6–3 | — | 0,85 | ||
| Коэффициент теплопередачи |
|
| Вт/(м2·К) |
| ||
| Разность температур между средами: наибольшая наименьшая |
|
| єС єС |
| ||
| Температурный напор при противотоке |
|
| єС |
| ||
| Перепад температур: наибольший наименьший |
|
| єС єС |
| ||
| Параметр | Р | | — | | ||
| То же | R | | — | | ||
| Коэффициент |
| По рис. 6–16 | — | 0,82 | ||
| Температурный перепад |
|
| єС |
| ||
| Площадь поверхности нагрева ступени |
|
| м2 |
| ||
Т.к. невязка составляет более 2% то вносим конструктивные ихменения. Добавляем к воздухоподогревателю дополнительно 2713 м2
8 Расчёт невязки теплового баланса парогенератора
Расчёт невязки теплового баланса представлен в таблице 8
ТАБЛИЦА 8
| Величина | Величина | Расчёт | ||||
| Наименование | Обозначение | Расчётная формула или способ определения | ||||
| Расчётная температура горячего воздуха |
| Из расчёта воздухоподогревателя | єС | 350 | ||
| Энтальпия горячего воздуха при расчётной температуре |
| То же | кДж/кг | 3213 | ||
| Лучистое тепловосприятие топки |
| Из расчёта топки | кДж/кг | 14605.3 | ||
| Расчётная невязка теплового баланса |
|
| кДж/кг |
| ||
| Невязка | — |
| % |
| ||
ВЫВОДЫ
В ходе выполнения курсового проекта был проведен тепловой расчет промышленного парогенератора К-50-40-1 при совестном сжигании твердого и газообразного топлива. Расчет также включает в себя выбор системы пылеприготовления и типа мельниц.
Расчет проводился по твердому топливу, с учетом тепла, вносимого в топку, за счет сжигания газообразного топлива.
Последовательно был проведен поверочный расчет всех поверхностей нагрева котла: экранов топки, фестона, пароперегревателя , водяного экономайзера (две ступени), воздухоподогревателя (две ступени). С учетом того, что парогенератор спроектирован на сжигание другого вида топлива, возникла необходимость в проведении поверочно-конструктивного расчета.
При поверочном расчете поверхности нагрева приходится задаваться изменением температуры одной из теплообменивающихся сред (разностью температур на входе и выходе). Этим определяется тепловосприятие поверхности в первом приближении. Далее можно вычислить температуры другой среды на концах поверхности нагрева, температурный напор, скорости газового потока и рабочей среды и все другие величины, необходимые для вычисления тепловосприятия во втором приближении. При расхождении принятого и расчетного тепловосприятий выше допустимого повторяют расчет для нового принятого тепловосприятия. Таким образом, поверочный расчет поверхности нагрева выполняется методом последовательных приближений.
Тепловой расчет парогенератора заканчивается определением невязки теплового баланса. В курсовом проекте величина невязки составляет 1,83 %.
СПИСОК ЛИТЕРАТУРЫ
1. Тепловой расчет промышленных парогенераторов. / Под ред. В.И. Частухина. – Киев: Вища шк., 1980. – 184 с.
2. Сидельковский Л.Н., Юренев В.Н.Котельные установки промышленных предприятий: Учебник для вузов. – М.: Энергоатомиздат, 1988. – 528 с.
3. Компоновка и тепловой расчет парового котла: Учеб. пособие для вузов/ Ю.М. Липов, Ю.Ф. Самойлов, Т.В. Виленский. – М.: Энергоатомиздат, 1988. – 208 с.
4. Расчет паровых котлов в примерах и задачах: Учеб. пособие для вузов/ А.Н. Безгрешнов, Ю.М. Липов, Б.М. Шлейфер; Под общ. ред. Ю.М. Липова. – М.: Энергоатомиздат, 1991. – 240 с.
5. Методические указания "Расчет объемов и энтальпий воздуха и продуктов сгорания для смеси топлив с применением ЭВМ" по курсу "Котельные установки промышленных предприятий". / Сост.: А.А. Соловьев, В.Н. Евченко. – Мариуполь: ММИ, 1991. – 17 с.
6. Методические указания к выполнению курсового проекта по курсу "Котельные установки промышленных предприятий" для студентов специальности (7.090510)/ Сост.: А.А. Соловьев, В.М. Житаренко – Мариуполь: ПГТУ, 1998. – 40 с.
1>















