150573 (621291), страница 3
Текст из файла (страница 3)
а) Якщо після включення комп'ютера буде чути одноразовий короткий гудок і на екрані з'явиться зображення, значить відеокарта справна.
б) Якщо після включення комп'ютера буде чутно сигнал, який буде складатися з одного довгого і двох коротких гудків, значить відеокарта несправна або несправний роз'єм відеокарти на материнській платі.
в) Якщо після включення комп'ютера вентилятори завращаются і через кілька секунд зупиняться, значить відеокарта несправна (відеочіп згорів від перегріву або завищеного напруги, або ж присутня коротке замикання в системі живлення відеокарти).
г) Примітка Якщо під час перевірки БП (див. п.2) проблем не виникло, а при підключенні відеокарти до ПК блок живлення все-ж вимикається відразу після включення, це також може свідчити про недостатню потужність БЖ для вашої відеокарти (вона при цьому може бути справна).
5.2 Стрелка маніпулятора "миша" рухається ривками
Маніпулятор "миша" потрібно тримати в чистоті. Якщо маніпулятор "миша" засмітився всередині, то бруд може стати причиною проблем з рівномірним пересуванням стрілки маніпулятора "миша". Є два типи маніпуляторів миша за принципом дії: лазерна та кулькова. Якщо маніпулятор "миша" кульковий, то кулька "миші" може збирати бруд і сміття, які потрапляють на сенсорні ролери, які знаходяться всередині "миші". Вирішення цієї проблеми - профілактика маніпулятора "миша", тобто очищення від бруду і від сміття внутрішніх частин. У лазерних (оптичних)"мишей" треба тримати в чистоті оптичні сенсори. Частково розібрати кульковий маніпулятор "миша" можна без викрутки.
1. Переверніть маніпулятор "миша" і подивіться (рис.1) на ободок навколишній кульку, часто на ньому показується напрямок повороту для відкривання кришки.
Рис.1. Нижня площину маніпулятора "миша"
Поверніть кришку за напрямком стрілок або якщо напрям не вказано, то поверніть кришку по ходу годинникової стрілки і зніміть її.
Вийміть кульку (рис.2) і вимийте його м'яким милом, прополощіть і висушіть.
Якщо гумова поверхня кульки стала жорсткою, слизькій і миття не допомогло, то треба протерти кульку технічним спиртом.
Ще необхідно заглянути всередину корпусу маніпулятора "миша", там знаходяться три ролики (у більшості маніпуляторів). Необхідно очистити ці ролики від намотався на них бруду за допомогою технічного спирту.
Переконатися в плавності руху роликів.
Поставте на місце кульку і закрийте кришку і перевірте роботу маніпулятора "миша", якщо стрілка все одно рухається ривками, треба перевірити поверхню корпусу "миші" яка стикається при русі по килимку.
Треба тримати в чистоті не лише маніпулятор "миша", але і килимок.
Килимок необхідно помити з милом, прополоскати, висушити його і після цього використовувати.
Рис.2. Извлечение ободка
5.3 Не працює монітор
Певні конфігурації монітора можуть призвести до проблем із завантаженням.
Перевірте:
Підключено чи монітор до електромережі і включений.
Кабель монітора чи надійно підключений до монітора і системного блоку.
Налаштування яскравості та контрасту на моніторі. Зображення на моніторі може бути сірим і неможливим.
Індикатор. На більшості моніторів встановлений індикатор, який вказує на поточний стан монітора.
Зелений колір індикатора означає наявність живлення і вхідного відеосигналу.
Жовтий колір вказує на наявність живлення монітора, але відсутність вхідного відеосигналу. Це означає, що проблема, швидше за все, в системному блоці.
Якщо індикатор взагалі не включається, значить, несправність, ймовірно, в самому моніторі. Переконайтеся, що монітор підключений до працюючої електричної розетки. Якщо несправність все ще не усунуто, спробуйте замінити монітор на свідомо справний.
5.4 Питання за номером варіанту
5.4.1 Яку функцію виконує протокол TCP
Головною метою протоколу TCP є забезпечення надійного, безпечного сервісу для логічних ланцюгів чи з'єднань між парами процесів. Щоб забезпечити такий сервіс, базуючись на менш надійних комунікаціях Internet, система повинна мати можливості для роботи в наступних областях:
базова передача даних
достовірність
керування потоком
поділ каналів
робота із з'єднаннями
пріоритет і безпека
Основні дії протоколу TCP у кожній з цих областей описані у наступних параграфах.
Базова передача даних.
Протокол TCP здатний передавати неперервні потоки октетів між своїми клієнтами в обох напрямках, пакуючи певну кількість октетів у сегменти для передачі через системи Internet. У загальному випадку протоколи TCP вирішують за своїм розсудом, коли проводити блокування та передачу даних.
Іноді користувачам буває необхідно переконатися в тому, що всі дані, передані ними протоколу TCP, вже відправлені. Для цієї мети визначена функція проштовхування (push). Щоб переконатися в тому, що дані, відправлені протоколу TCP, дійсно передані, відправник вказує, що їх слід проштовхнути до одержувача.
Проштовхування призводить до того, що програми протоколу TCP одразу здійснюють відправлення і, відповідно, одержання залишаються даних. Правильно здійснене проштовхування може бути невидиме для отримувача, а сама функція проштовхування може не мати маркера межі запису.
Достовірність.
Протокол TCP повинен мати захист від руйнування даних, втрати, дублювання і порушення черговості одержання, що викликаються комунікаційною системою Internet. Це досягається присвоєнням чергового номера кожному передається октету, а також вимогою підтвердження (ACK) від програми TCP, яка приймає дані. Якщо підтвердження не отримано протягом контрольного інтервалу часу, то дані посилаються знову. З боку одержувача номери черги використовуються для відновлення черговості сегментів, які можуть бути отримані у неправильному порядку, а також для обмеження можливості появи дублікатів.
Пошкодження фіксуються шляхом додавання до кожного сегменту передається контрольної суми, перевірки її при отриманні та подальшої ліквідації дефектних сегментів.
До тих пір, поки програми протоколу TCP продовжують функціонувати коректно, а система Internet не розвалилася повністю на складові частини, помилки пересилання не будуть впливати на правильне отримання даних. Протокол TCP захищає від помилок комунікаційної системи Internet.
Управління потоком.
Протокол TCP дає кошти одержувачу керувати кількістю даних, що надсилаються йому відправником. Це досягається поверненням так званого "вікна" (window) разом з кожним підтвердженням, яке вказує діапазон прийнятних номерів, наступних за номером останнього успішно прийнятого сегменту. Вікно визначає кількість октетів, яке відправник може послати до отримання подальших вказівок.
Поділ каналів.
Щоб дозволити на окремо взятому комп'ютері багатьом процесам одночасно використовувати комунікаційні можливості рівня TCP, протокол TCP надає на кожному хост-комп'ютері набір адрес чи портів. Разом з адресами мереж та хост-комп'ютерів на комунікаційному рівні Internet вони утворюють сокет (socket - роз'єм).
Кожне з'єднання унікальним чином ідентифікується парою сокетів. Таким чином, будь-який сокет може одночасно використовуватися в багатьох з'єднаннях.
Співвіднесення портів та процесів здійснюється кожним хост-комп'ютером самостійно. Проте виявляється корисним зв'язувати часто використовувані процеси (такі як "logger" чи сервіс з розподіленням часу) з фіксованими документовані сокетами.
Цей сервіс можна згодом використовувати через відомі адреси. Встановлення та налаштування адрес портів для інших процесів може включати більш динамічні механізми.
Робота з сполуками.
Механізми управління потоком та забезпечення достовірності, описані вище, вимагають, щоб програми протоколу TCP ініціалізувати і підтримували певну інформацію про стан кожного потоку даних. Набір такої інформації, що включає сокети, номери черги, розміри вікон, називається з'єднанням. Кожне з'єднання унікальним чином ідентифікується парою сокетів на двох кінцях.
Якщо два процеси бажають обмінюватись інформацією, відповідні програми протоколу TCP повинні спочатку встановити з'єднання (на кожній стороні ініціалізувати інформацію про статус). По завершенні обміну інформацією з'єднання повинно бути розірвана або закрито, щоб звільнити ресурси для надання іншим користувачам.
Оскільки з'єднання повинні встановлюватися між ненадійними хост-комп'ютерами та через ненадійну комунікаційну систему Internet, то, щоб уникнути помилкової ініціалізації з'єднань використовується механізм підтвердження зв'язку з хронометрірованнимі номерами черги.
Пріоритет і безпека.
Користувачі протоколу TCP можуть вимагати для свого з'єднання пріоритет і безпеку. Передбачені прийняті за замовчуванням характеристики з'єднань, коли такі параметри не потрібні.
Висновок
Підчас проходження переддипломної практики я провила порівняльній аналіз декількох способів реалізації укажчиків фаз. Розглянула вже існуючі аналоги даного пристрою.
Завдяки цьому я прийшла до висновку, що мій прилад буде служити контролю за станом бортової мережі автомобіля і дозволяє істотно продовжити термін служби акумуляторної батареї, не допускаючи її розряд більш ніж на 50%.
Пристрій з високою точністю контролює рівень напруги акумулятора та інформує про його стан, а також дозволяє вчасно помітити несправність електромеханічного регулятора напруги автомобіля.
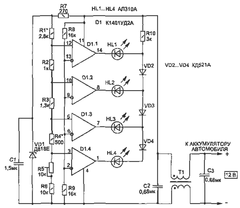
Пристрій буде зібрано на мікросхемі К1401УД2А і складається з чотирьох компараторів, виконаних на операційних підсилювачах, які за допомогою світлодіодів HL1... HL4 дозволяють інформувати про знаходження рівня напруги в одному з п'яти інтервалів з світінням відповідного індикатора. За світінням відразу двох світлодіодів (або їх "перемаргіванію") можна точно визначити момент знаходження напруги на кордоні між відповідними інтервалами.
Також під час проходження практики я зробила економічний аналіз вартості приладу, технічну розробку проекту, вирішила етапи рішення задач дипломного проекту.
Список літератури
1. Васюра, Ю.Ф., Черепанова, Г.А., Палашева, С. Є. // Електротехніка та енергетика: СБ науч. тр. ВятГТУ (№ 2) / ВятГТУ. - Кіров, 1997. - С.141-144.
2. Інструкція по застосуванню і випробуванню засобів захисту, які використовуються в електроустановках. Міністерство енергетики Російської Федерації. М.: Електроком, 2003.
3. Кім, К.К. Сигналізатори напруги для повітряних ЛЕП 6...35 кВ / Кім К.К., Червоних А.А., Морозов А.С. // Безпека життєдіяльності. - 2003. - № 6. - С.24-27.
4. Червоних, А.А. Безконтактні покажчики напругою понад 1000 В / Червоних, А.А., Хлєбников, В. А, Морозов, А.С. // Наука - виробництво - технології - екологія: Всеросійська науково-технічна конференція: СБ матеріалів у 5 т. - Кіров, 2003. - Т.4 (ЕТФ). - С.22-23.
5. Червоних, А.А., Литвинов, Д.Г., Машковцев, І.І. Прилад для вимірювання електричного поля та визначення допустимого часу перебування персоналу в електричному полі. // Електротехніка та енергетика: СБ науч. тр. ВятГТУ (№ 2) / ВятГТУ. - Кіров, 1997. - С.7-9.
6. Червоних, А.А. Особливості застосування пристроїв для перевірки покажчиків напругою вище 1000 В в польових умовах / Червоних, А.А., Хлєбников, В. А // Наука - виробництво - технології - екологія: Всеросійська науково-технічна конференція: СБ матеріалів у 5 т. - Кіров, 2003. - Т.4 (ЕТФ). - С. 19-22
7. Червоних, А.А. Сигналізатори напруги індивідуальні / Червоних, А.А., Морозов, А.С. // Наука - виробництво - технології - екологія: Всеросійська науково-технічна конференція: СБ матеріалів у 5 т. - Кіров, 2003. - Т.4 (ЕТФ). - С.27-28.
8. Червоних, А.А. Покажчики напруги для електроустановок напруги вище 1000 В / Червоних, А.А., Хлєбников, В. А // Наука - виробництво - технології - екологія: Всеросійська науково-технічна конференція: СБ матеріалів у 5 т. - Кіров, 2003. - Т.4 (ЕТФ). - С.17-19.
9. Червоних, А.А. Покажчики напруги до 1000 В / Червоних, А.А., Литвинов, Д.Г., Феофілактов, С.А. // Наука - виробництво - технології - екологія: Всеросійська науково-технічна конференція: СБ матеріалів у 5 т. - Кіров, 2003. - Т.4 (ЕТФ). - С.29-30.
10. Кривошеїн, І.Л. Малогабаритний пристрій для перевірки покажчиків високої напруги в польових умовах / Кривошеїн, І.Л., Машковцев, І.І., Булатов, А.С. // Щорічна регіональна науково-технічна конференція ВятГТУ "Наука - виробництво - технології - екологія": СБ матеріалів / ВятГТУ. - Кіров, 2000. - Т.3. - С.78-79.
11. Морозов, А.С. Системи сигналізації для пристроїв контролю наявності напруги // Наука - виробництво - технології - екологія: Всеросійська науково-технічна конференція: СБ матеріалів у 5 т. - Кіров, 2002. - Т.4 (ЕТФ). - С.31-32.
12. Попов, В.А. Аналіз факторів, що впливають на наведення напруги при ремонті повітряних ліній / Попов, В.А., Медов, Р.В., Бессоніцин, А.В. // Наука - виробництво - технології - екологія: Всеросійська науково-технічна конференція: СБ матеріалів у 5 т. - Кіров, 2004. - Т.4 (ЕТФ). - С. 209-210.















