130538 (619060), страница 3
Текст из файла (страница 3)
Когда факторы коррелируют между собой, существующие между ними интеркорреляции можно подвергнуть тому же статистическому анализу, который мы применяем к интеркорреляциям между тестами. Иными словами, у нас есть возможность “факторизовать факторы” и получить факторы второго порядка. Этот способ обработки данных был использован в ряде исследований таких переменных, как способности и черты личности. В некоторых исследованиях с использованием тестов способностей был получен единственный общий фактор второго порядка. Как правило, американские исследователи, применяющие факторный анализ, начинают с объяснения как можно большей части общей дисперсии групповыми факторами и только затем выявляют общий фактор как фактор второго порядка, если данные подтверждают его наличие. У английских психологов, напротив, принято начинать с общего фактора, которому приписывается основная доля общей дисперсии, а затем возвращаться к групповым факторам для объяснения остаточной корреляции. Эта разница в методиках является следствием теоретических различий.
2.3. Основные теории факторного анализа.
На протяжении более полувека предпринимались многочисленные попытки с помощью статистических методов факторного анализа понять природу и организацию способностей, связанных с разнообразной человеческой деятельностью. Тем не менее эти методы до сих пор остаются наиболее тесно связанными с изучением когнитивных способностей, или “интеллекта”, направлением, в рамках которого и зародился факторный анализ. Рассмотрим лишь некоторые широко известные теории интеллекта, выбор которых обусловлен их воздействием на конструирование и использование тестов.
Двухфакторная теория. Первой теорией организации черт, основанной на статистическом анализе показателей тестов, была двухфакторная теория, развитая английским психологом Чарльзом Спирменом (Spearman, 1904; 1927). В своем первоначальном виде эта теория утверждала, что все виды интеллектуальной активности используют долю единого общего фактора, названного генеральным, или фактором g (от англ. general - общий). Кроме того, в теории Спирмена постулировалось наличие многочисленных специфических, или s-факторов (от англ. specific), каждый из которых сказывается на выполнении только одной из интеллектуальных функций. Положительная корреляция между любыми двумя функциями приписывалась, таким образом, действию фактора g. Чем больше эти две функции были “насыщены” (saturated) фактором g, тем выше должна бы быть корреляция между ними. Напротив, присутствие специфических факторов вело к снижению корреляции между функциями.
Несмотря на постулирование Спирменом двух типов факторов – генерального и специфических, фактор g рассматривается в его теории как единственная причина корреляции. Поэтому, в отличие от других теорий связи черт, эту теорию было бы точнее называть однофакторной, однако она сохранила свое первоначальное название. Рис. 2 иллюстрирует основополагающий принцип корреляций тестов согласно этой теории. Из этой схемы видно, что, в соответствии с теорией Спирмена, тесты 1 и 2 должны высоко коррелировать между собой, поскольку каждый сильно насыщен фактором g, о чем свидетельствуют заштрихованные участки. Незаштрихованным частям каждого теста соответствуют специфический фактор и дисперсия ошибок. Тест 3 должен слабо коррелировать с каждым из двух других тестов, поскольку включает очень малую долю фактора g.
Рис. 2. Принципиальная модель корреляции в двухфакторной теории
Согласно двухфакторной теории, целью психологического тестирования должно быть измерение величины фактора g у каждого индивидуума. Если этот фактор пронизывает все способности, тогда он дает нам единственную основу для предсказания результатов деятельности индивидуума в разных ситуациях. Специфические факторы измерять бесполезно, так как каждый из них, по определению, сказывается только на какой-то одной функции. Вот почему Ч.Спирмен предложил заменить разнородную совокупность заданий, встречаемых в тестах интеллекта, единственным, пусть односторонним, тестом, но при этом высоко насыщенным фактором g. Он полагал, что тесты на абстрактные отношения, по всей вероятности, лучше всех других измеряют g и поэтому могут быть использованы для этой цели. Примерами тестов, разработанных для измерения g, являются Прогрессивные матрицы Равена и Культурно-свободный тест интеллекта Кэттелла (Cattell’s Culture Fair Intelligence Test).
С самого начала Спирмен понимал, что двухфакторная теория нуждается в уточнении. Когда сравниваемые деятельности достаточно похожи, корреляция между ними может достигать величины, превышающей степень связи между переменными, объяснимую действием фактора g. Поэтому в добавление к генеральному и специфическим факторам, вероятно, существует промежуточный класс факторов, не столь универсальных, как g, но и не столь специфичных, как s-факторы. Такой фактор, общий только для группы (а не для всех вообще) интеллектуальных функций, был назван групповым фактором. В первых вариантах своей теории Спирмен допускал возможность весьма узких и пренебрежительно малых групповых факторов. Позднее, под давлением фактов, полученных в исследованиях некоторых его учеников, он стал использовать в своих теоретических построениях гораздо более широкие групповые факторы, такие как арифметические, технические и лингвистические способности.
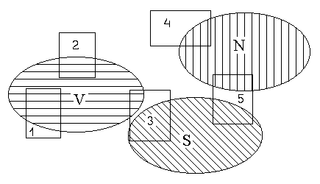
Многофакторные теории. Преобладавший в американской психологии взгляд на организацию черт, основанный на ранних факторно-аналитических исследованиях, заключался в признании ряда довольно широких групповых факторов, каждый из которых мог входить с разными весами в различные тесты. Например, вербальный фактор мог бы иметь значительный вес в словарном тесте, несколько меньший вес – в тесте словесных аналогий, и еще меньший – в тесте на арифметическое рассуждение. На рис. 3 в наглядной форме представлены интеркорреляции пяти тестов с точки зрения многофакторной модели. Корреляции тестов 1, 2 и 3 друг с другом – следствие их общих нагрузок вербальным фактором (V). Аналогично этому, корреляция между тестами 3 и 5 – результат действия пространственного фактора (S), а между тестами 4 и 5 – числового (N). Тесты 3 и 5 отличаются сложной факторной композицией: каждый имеет существенные нагрузки более чем по одному фактору (тест 3 – по факторам V и S, а тест 5 – по факторам S и N). Обращаясь к рассмотренной в предыдущем разделе основной теореме факторного анализа, мы можем сделать некоторые выводы об относительной величине этих интеркорреляций. Например, тест 3 будет сильнее коррелировать с тестом 5, чем с тестом 2, потому что веса фактора S в тестах 3 и 5 (области с диагональной штриховкой) больше, чем веса фактора V в тестах 2 и 3 (области с горизонтальной штриховкой).
Рис. 3. Принципиальная модель корреляции в многофакторных теориях
Публикация программной книги Т. Келли Crossroads in the mind of man (T.L. Kelly, 1928) подготовила почву для большого числа исследований, нацеленных на выявление групповых факторов. Важнейшими среди предложенного Келли набора факторов были следующие: манипулирование пространственными отношениями, легкость оперирования числами, легкость оперирования словесным материалом, а также память и скорость. Этот перечень был позднее переработан и дополнен исследователями, использовавшими более современные методы факторного анализа, рассмотренные в предыдущем разделе.
Одним из ведущих представителей многофакторной теории был Л.Л. Терстоун. Основываясь на обширных исследованиях, как своих собственных, так и учеников, Терстоун выделил около дюжины групповых факторов, которые он назвал “первичными умственными способностями”. К факторам, чаще всего подтверждавшимся в работах самого Терстоуна и других независимых исследователей (French, 1951; Harman, 1975; Thurstone, 1938; Thurstone, & Thurstone, 1941), относятся следующие:
V. Вербальное понимание (Verbal Comprehension). Главный фактор в таких тестах, как понимание прочитанного, словесные аналогии, восстановление порядка слов в предложениях, вербальное рассуждение и подбор пословиц. Данный фактор наиболее адекватно измеряется словарными тестами.
W. Беглость речи (Word Fluency). Выявляется в таких тестах, как анаграммы, подбор рифм или называние слов данной категории (например, мужские имена или слова, начинающиеся с буквы Т).
N. Числовой (Number). Почти полностью отождествляется со скоростью и точностью простых арифметических вычислений.
S. Пространственный (Space). Может представлять собой два разных фактора. Один связан с восприятием фиксированных пространственных или геометрических отношений, другой с манипулированием зрительными образами, при котором изменение положения или трансформацию объекта необходимо представить зрительно (Mc Gee, 1979; Portegal, 1982).
M. Ассоциативная память (Associative Memory). В основном обнаруживается в тестах, требующих механической памяти на ассоциативные пары. Есть некоторые основания предполагать, что этот фактор может отражать степень использования опор памяти (Christal, 1958), а противоречит существованию более широкого фактора, присутствующего во всех тестах памяти. Некоторые исследования подтверждают наличие ограниченных факторов памяти, таких как память на временные последовательности и положение в пространстве.
Р. Перцептивная скорость (Perceptual Speed). Быстрое и точное зрительное восприятие деталей, сходства и различий. Возможно, это тот же фактор, что и фактор скорости, выявленный Т.Л. Келли и другими предшественниками, по крайней мере, он относится к ряду факторов, идентифицированных позднее в задачах на восприятие (Thurstone, 1944).
I (или R). Индукция (или Общий вывод) – (Induction, or General Reasoning). Этот фактор установлен наименее четко. Терстоун первоначально предположил наличие индуктивного и дедуктивного факторов. Последний лучше всего измерялся тестами на силлогистический вывод, а первый – тестами, требующими от испытуемого найти принцип (правило, закономерность и т.п.), как в тестах на завершение числовых последовательностей. Доказательства наличия дедуктивного фактора оказались, однако, гораздо слабее доказательств в пользу существования индуктивного фактора. Кроме того, некоторые исследователи исходили из предположения, что фактор логического мышления лучше всего измеряется тестами на арифметическое мышление.
Следует отметить, что различия между общими, групповыми и специфическими факторами не столь существенны, как может показаться в первый момент. Если число или разнообразие тестов в батарее невелико, одним общим фактором можно объяснить все корреляции между ними. Но когда те же самые тесты включены в батарею с более разнородным составом тестов, исходный общий фактор может выделиться как групповой, т.е. общий только для некоторых, но не для всех тестов. Аналогично этому, некоторый фактор может быть представлен только одним тестом в исходной батарее, но разделяться несколькими тестами в более крупной батарее. Такой фактор был бы идентифицирован как специфический в первой батарее, но оказался бы групповым в более полной, комплексной батарее. Поэтому вряд ли нужно удивляться, что интенсивные факторные исследования специальных областей выявили множество факторов вместо одной или двух первичных умственных способностей, первоначально идентифицированных в каждой такой области. Именно это и произошло в исследованиях вербальных и перцептивных тестов, тестов памяти и тестов на логическое рассуждение.
Складывается впечатление, что факторные исследования привели к ошеломительному “размножению” факторов. Число когнитивных факторов, описанных на сегодняшний день различными исследователями, перевалило за 100. Относительного порядка в этой сфере удалось достичь путем перекрестной идентификации факторов, описанных разными исследователями и зачастую под разными названиями (Ekstrom, French, & Harman, 1979; French, 1951; Harman, 1975). Такую перекрестную идентификацию можно выполнить только в тех случаях, когда в сравниваемых исследованиях используется ряд общих тестов.















