112804 (616604), страница 6
Текст из файла (страница 6)
3. Индивидуальные практические упражнения по картинкам-заданиям.
Задание: перечертите фронтальную проекцию детали. С помощью проекционного аппарата, руководствуясь фронтальной проекцией, постройте горизонтальную проекцию.
VI. Домашнее задание (2 мин).
-
Задание 2.2. С. 45-46 (Преображенская).
-
Упр. 12, 13, 14, 15 из РТ
VII. Заключительная часть (2 мин).
Итоги урока.
Вопрос: Что вы узнали, чему научились?
Урок 19
Тема: Проецирование на три плоскости проекции. Виды, их расположение.
Цели:
- познакомить учащихся со случаями проецирования предмета на три плоскости проекций, расположением видов (проекций) и их названиями; разобрать типичные ошибки учащихся;
- формировать пространственные представления и мышление; познавательный интерес;
- воспитывать ответственное отношение к урокам черчения, чувство времени и аккуратность.
Тип урока: комбинированный.
Методы проведения: решение проблемной ситуации, объяснение, беседа, показ ошибок, упражнения.
Материальное обеспечение: таблицы «Проблемная ситуация», «Проецирование на три плоскости проекций», «Типичные ошибки», таблицы для устных упражнений, трехгранный угол, модель предмета, карточки-задания.
Литература:
Ботвинников А.Д., Виноградов В.Н., Вышнепольский И.С. Черчение: Учеб. для 7-8 кл. общеообразоват. учреждений М.: Просвещение, 1999.
Ход урока
I. Организационная часть (0,5 мин).
Просмотр готовности к уроку. Проверка отсутствующих.
II. Решение проблемной ситуации (3 мин).
Трое учащихся выполняют на доске по две проекции трех разных предметов. (Выполняют от руки в течение 1 мин).
Вопрос: Какой вывод можно сделать из полученного графического решения? (Ответы учащихся.)
Обобщение. Вы правы в том, что различные по своей конструкции модели проецируются на две плоскости (фронтальную и горизонтальную) совершенно одинаково.
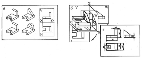
Рис. 6
Поэтому при изображении таких деталей пользуются не двумя, а тремя плоскостями проекций (см. рис. 6).
III. Сообщение темы, целей урока (0,5 мин).
Тема урока: «Проецирование на три плоскости проекций. Виды». К концу урока мы должны научиться проецировать предметы на три плоскости проекций, узнать названия и расположение видов.
IV. Изучение нового материала (12 мин).
1. Знакомство с профильной плоскостью проекций, ее расположением, обозначением.
Третью плоскость проекций располагают перпендикулярно плоскостям проекций: фронтальной и горизонтальной. Ее называют профильной, а полученную на ней проекцию - профильной проекцией предмета (от фр. слова профиль, что означает вид сбоку). Ее обозначают буквой W. В пересечении с плоскостью H она образует ось Y, а с плоскостью V - ось Z.
(Демонстрация трехгранного угла.)
2. Показ процесса проецирования предмета на три плоскости проекций (с использованием трехгранного угла, модели предмета).
Проецируемый предмет поместим в пространстве трехгранного угла, образованного V, Н, W, и рассмотрим с трех сторон - спереди, сверху и слева.
Через характерные точки предмета проведем проецирующие лучи до пересечения с плоскостями проекций. Точки пересечения соединим прямыми или кривыми линиями. Полученные фигуры будут проекциями предмета на плоскостях V, Н, W.
Для получения чертежа предмета плоскость W поворачиваем на 90° градусов вправо, а Н - на 90° градусов вниз. Полученный таким образом чертеж содержит три прямоугольные проекции предмета: фронтальную, горизонтальную и профильную. Оси проекций и проецирующие лучи на чертеже здесь также не показывают.
Итак, давайте сформулируем этапы проецирования предмета на три плоскости проекций. (Ответы учащихся.)
Обобщение:
-
Предмет в системе плоскостей проекций V, Н, W.
-
Проецирующие лучи перпендикулярны V и направляются спереди, получается фронтальная проекция.
-
Лучи перпендикулярны Н и направляются сверху, получается горизонтальная проекция.
-
Лучи перпендикулярны W и направляются слева, получается профильная проекция.
-
Совмещаем V, Н, W в одну плоскость.
Чертеж, состоящий из нескольких прямоугольных проекций, называют чертежом в системе прямоугольных проекций или комплексным чертежом.
3. Беседа о расположении и названии видов (проекций). Разбор типичных ошибок учащихся (4 мин).
На технических чертежах проекции на плоскостях V, Н, W называют видами.
Вид - это изображение обращенной к наблюдателю видимой части поверхности предмета.
Изображение на фронтальной плоскости проекций называется видом спереди. Это изображение принимается на чертеже за главное. Поэтому такой вид еще называют главным.
Изображение на горизонтальной плоскости проекций называется видом сверху.
Изображение на профильной плоскости проекций называется видом слева.
Кроме видов спереди, сверху и слева для изображения предмета могут применяться виды справа, снизу и сзади.
Вид сверху располагается под главным видом, а справа от главного вида и на одной с ним высоте - вид слева.
На видах можно показывать невидимые части предмета с помощью штриховых линий.
В зависимости от геометрической формы предмета он может быть представлен одним, двумя или тремя видами. Об этом мы еще будем говорить.
При построении трех видов вы можете допускать ошибки нарушения проекционной связи и расположения изображений.
V. Закрепление изученного материала (25 мин).
1. Фронтальное устное упражнение по таблице. Задание: рассмотрите проецирование предмета на три плоскости проекций и назовите элементы проецирования, обозначенные цифрами и буквами (см. рис. 7, а, б).
Рис. 7
-
Построение трех видов по модели. (Один ученик выполняет на доске с поэтапным комментарием, остальные ребята следят и задают вопросы.)
-
Индивидуальные практические упражнения по карточкам-заданиям.
Задание: перечертить главный вид и вид сверху и, пользуясь проекционным аппаратом, построить вид слева.
VI. Домашнее задание (2 мин).
-
Ботвинников А.Д., Виноградов В.Н., Вышнепольский И.С. Черчение: Учеб. для 7-8 кл
VII. Заключительная часть (2 мин).
Итоги урока. Обобщение основных моментов урока.
Урок 20
Тема: Главный вид. Определение необходимого и достаточного количества видов на чертеже.
Цели:
- выяснить рациональные положения деталей для главного вида; формировать умения выполнять чертежи в необходимом и достаточном количестве видов;
- развивать познавательный интерес, пространственное мышление;
- воспитывать ответственное отношение к черчению, аккуратность в графических построениях.
Тип урока: комбинированный.
Методы проведения: упражнения, беседа, чтение чертежей.
Материальное обеспечение: модели деталей, карточки-задания, таблицы «Положения деталей для главного вида», «Необходимое и достаточное количество видов».
Литература:
Ботвинников А.Д., Виноградов В.Н., Вышнепольский И.С. Черчение: Учеб. для 7-8 кл. общеообразоват. учреждений М.: Просвещение, 1999.
Ход урока
I. Организационная часть (0,5 мин).
II. Повторение пройденного материала о комплексном чертеже
(5 мин).
Учитель предлагает учащимся вспомнить материал, изученный ранее.
Задание: по моделям выполните чертеж: 1 -й ряд - деталь 1, 2-й ряд - деталь 2, 3-й ряд - деталь 3.
(Выполнение работы эскизно в течение 3 минут.)
Вопрос: Какую особенность в построенных чертежах можно заметить? (Ответы учащихся.)
Обобщение. Совершенно верно, на чертеже есть одинаково изображаемые виды. Эти построения являются нецелесообразными, нерациональными.
Сегодня на уроке мы получим ответ на вопрос о количестве видов на чертеже.
III. Сообщение темы, целей урока (0,5 мин).
Тема сегодняшнего урока: «Главный вид. Определение необходимого и достаточного количества видов». На уроке учащиеся должны научиться правильно выбирать положение детали для главного вида, выполнять чертежи в минимальном числе видов.
IV. Изучение нового материала (7 мин).
1. Беседа о выборе положения детали для главного вида.
Вопрос: Как вы думаете, каким образом необходимо располагать детали разной геометрической формы и конструкции на главном виде? (Мнения учащихся.)
Обобщение. Предмет располагают относительно фронтальной плоскости проекций так, чтобы изображение на ней (главный вид) давало наиболее ясное представление о форме и размерах предмета.
Детали, находящиеся при работе в различных положениях, вычерчивают на главном виде в положении, которое преобладает в процессе изготовления. Поэтому такие детали, как валы, оси, шпиндели, шкивы, штифты и другие, имеющие цилиндрическую или коническую форму и обрабатываемые на токарных станках в горизонтальном положении, изображают с горизонтально расположенной осью. (Показ деталей и таблицы «Положения деталей на главном виде».)
Корпусные детали (кронштейны, передние и задние бабки станков, корпуса редукторов, насосов, вентилей) на главном виде показывают в рабочем положении, т. е. положении, которое деталь занимает при эксплуатации.
Предмет располагают так, чтобы на чертеже большая часть его элементов изображалась как видимая.
Задание: рассмотрите таблицу с изображениями деталей и предпочтительными положениями для главного вида. (Показ таблицы - см. рис. 8.)
Рис. 8
Вывод: надо правильно выбирать положение детали для главного вида.
2. Беседа о количестве видов на чертеже.
Выбрав положение для главного вида, определяют необходимое число изображений, которое должно быть минимальным, но достаточным, чтобы обеспечить полное выявление формы предмета.
На таблице (см. рис. 9) приведены примеры деталей, для выявления формы которых требуется различное число видов.
Рис. 9
Давайте рассмотрим эти примеры. (Ответы учащихся.)
Обобщение. Для выявления формы и конструкции деталей 1 и 2 достаточно одного вида (см. рис. 10).
Рис. 10
Чтобы стала ясна форма деталей 3 и 4, необходимо два вида (см. рис. 11)
Рис. 11
Вывод: при выполнении чертежей деталей надо правильно определять необходимое число видов.
V. Закрепление изученного материала (30 мин).
Закрепим изученные сведения в ходе выполнения упражнений.
1. Фронтальные устные упражнения по таблицам
1) Рассмотрите изображения деталей (см. рис. 12, 13) и определите, в каком положении на главном виде лучше изобразить детали: в первом, во втором или третьем?
Рис. 12
Рис. 13
2) Даны (см. рис. 14) наглядные изображения семи деталей. В каком направлении - А, Б или В - надо смотреть на деталь, чтобы правильно выбрать ее положение для главного вида?
Рис. 14
3) Чертежи деталей (см. рис. 15) содержат один, два или три вида. Скажите, какие чертежи выполнены наиболее рационально, и объясните почему.















