94022 (613074), страница 2
Текст из файла (страница 2)
Ще більшій зміні піддаються вони при збереженні, помалу утрачаючи свої лікарські якості. Більшість рослин стає неякісними через кілька років, але деякі псуються протягом року і стають непридатними до вживання.
Наша фармакопея вимагає щорічного заготовляння свіжих матеріалів:
Листів беладони,
Листів наперстянки,
Листів белени,
Листів дурману,
суцвіть (шишок) хмелю,
бульб аконіту,
бульб болиголова,
кореневищ папороті,
ріжків (грибниць) ріжка
насінь льна.
Дуже рідкий приклад поліпшення якостей при збереженні представляє кора жостеру, що використовується дворічної схоронності.
Для збереження добре висушеного матеріалу мають велике значення: Місце збереження і тара, чи упакування.
Найбільше потрібно остерігатися сирого приміщення і збереження в закритому виді; усмоктуючи вологу, заготовлений матеріал руйнується, змінюючись у кольорі, і одержує затхлий запах.
У результаті діяльності мікроорганізмів, що потрапили на його, зокрема цвілевих грибків, прискорюється псування матеріалу.
Приміщення повинне бути сухе, добре провітрюване, доступне частому огляду; тому під комору чи склад лікарських рослин не можна відводити сарай чи підвал. Гарним складом може бути неопалювана кімната при житловому приміщенні.
Ті з рослинних лікарських матеріалів, що містять сильно ароматичні ефірні олії, повинні зберігатися осторонь від інших матеріалів. Всі отруєні матеріали повинні зберігатися безумовно в окремому приміщенні при повній гарантії неможливості змішання їх з іншими. Якщо в практиці будуть зустрічатися спеціальні особливості в упакуванні для збереження, про неї буде мова при описі окремих рослин по видах.
Розділ 2. Класифікація зборів
Збори класифікують на: дозовані (Species divisae) та недозовані (Species indivisae).
Дозовані збори можна підрозділити на: звичайні, пресовані, розчинні чаї.
По складу збори можуть бути прості і складні.
Прості складаються з одного виду лікарської рослинної сировини, складні — з декількох рослин і інших лікарських засобів.
Крім того, збори класифікують по способі застосування на збори для: внутрішнього застосування, зовнішнього застосування, курильні (інгаляційні) збори.
Збори для внутрішнього застосування підрозділяють на: в'язкі, жовчогінні, потогінні, гіркі (апетитні), грудні, заспокійливі, проносні, вітамінні і т.д.
До зборів для зовнішнього застосування відносять: збори для полоскань, для припарок чи пом'якшувальні, для ванн і т.д.
Курильні збори використовуються для безпосереднього введення диму, що містить летучі діючі речовини, у легені.
Розділ 3. Технологія промислового виробництва зборів
3.1 Стадії технологічного процесу
В даний час збори в основному виготовляють на фармацевтичних підприємствах. Виготовлення зборів складається з наступних стадій:
ДР-1. Підготовка приміщень, устаткування і персоналу.
ТП-2. Здрібнювання лікарської рослинної сировини.
ТП-3. Просівання лікарської рослинної сировини.
ТП-4. Змішування лікарської рослинної сировини.
ТП-5. Уведення лікарських речовин (ефірних олій і солей).*
ТП-5.1. Обприскування і перемішування
ТП-5.2. Підсушування
ПМВ-6. Фасовка, упакування і маркірування.
КЯ -7.Оцінка якості і браку.
ПВ-8. Переробка відходів.
* – стадія ТП-5 виконується лише при введенні в збори ефірних олій і солей.
3.2 Стадія ДР-1. Підготовка приміщень, устаткування і персоналу
Дана стадія проводиться відповідно до вимог ДСТ 42-510-98 «Правила організації виробництва і контролю якості лікарських засобів (GMP)».
Метою даної стадії є здійснення заходів, спрямованих на забезпечення належних санітарних умов виробництва зборів і в остаточному підсумку мікробіологічної чистоти готового продукту. Крім того, обов'язково проводиться весь комплекс підготовчих робіт, що дозволяють надалі устаткуванню працювати в оптимальному режимі.
3.3 Стадія ТП-2. Здрібнювання лікарської рослинної сировини
Частини лікарських рослин можуть бути введені в збори:
у цілому виді – дрібні квітки і квіткові кошики (наприклад, ромашки, бузини, деревію, коров’яку), а також деякі насіння і ягоди;
у порізаному чи роздробленому виді – усі корені і кореневища, кори, трави, великі листи і деякі квіти (липовий колір);
у стовченому чи крупноздрібненому виді – плоди, насіння, а також деякі дрібні і тендітні листи (наприклад, мучниці).
Ступінь здрібнювання нормований і визначається призначенням збору.
Збори для готування настоїв і відварів (Species ad infusum et decoctum), призначені для прийому усередину (чай), полоскань, примочок і т.д., повинні мати наступний розмір часток:
листи і трави – 4-6 мм;
стебла, кора і корені – 3 мм;
плоди і насіння – 0,5 мм;
курильні збори (Species fumales) – 3 мм;
збори для ванн (Species pro balneo) – 2 мм.
Рослинний матеріал подрібнюють на траво- і корнерізках, також можуть бути застосовані дискові пилки. При необхідності сировину попередньо зволожують (при різанні коренів на кубики), а потім підсушують отриманий продукт.
Траворізки-соломорізки. Найпростішими по устрою траворізками є січкарні, широко застосовувані при здрібнюванні грубих кормів (солома, стебла кукурудзи й ін.).
Розрізняють січкарні дискові і барабанні.
У дискових січкарнях масивні ножі, що мають криволінійне лезо, прикріплені до спиць маховика. Маховик з ножами приводиться в обертальний рух вручну. Лікарська сировина (трав'яниста), зібрана в пучки, подається під ножі по лотку.
У барабанних січкарнях (рис. 1) є вигнуті ножі з лезами, розташованими по гвинтових лініях з кутом підйому до 30°. Трав'яниста сировина подається по лотку-транспортері 1, наприкінці якого встановлені живильні валики 2, що подають сировину до ножового барабана 4. Порізана сировина вивантажується по лотку 6. Установка змонтована на станині 7 і приводиться в дію від електромотора за допомогою шківа 5. На одному валу зі шківом посаджена зубчатка, що приводить у дію велику шестірню 8, що обертає живильні валики. З іншої сторони на валу посаджений маховик 3 для забезпечення плавності роботи січкарні.
Рис. 1. Барабанна січкарня
Корнерізки. Для нарізування щільних і дерев'янистих частин рослин (корені, кореневища, кора) найчастіше застосовуються корнерізки і подібні з ними тютюнокрошильні машини з гільотинними ножами, устрій яких показаний на рис. 2. Ніж у цій машині дуже масивний, і, падаючи вниз, своєю масою підсилює ріжучий ефект. Ніж робить зворотно-поступальний рух нагору і вниз за допомогою кривошипного механізму чи колінчатого вала. Рослинна сировина подається за допомогою транспортера 2, що представляє собою брезентову стрічку чи металеву сітку, натягнуту на два валики, з яких один робить обертальний рух, що забезпечує переміщення стрічки. Транспортер міститься в глибокому лотку 1 для створення напрямку руху матеріалу. Пресуючі і направляючі валики з рифленою поверхнею 3, яких буває дві чи три пари, і обертаються назустріч один одному, створюють компактний шар матеріалу і просувають його на визначену довжину. Електродвигун (на рис. не зазначений) приводить в обертання маховик 5 кривошипного вала 4. Кривошипом приводиться в рух гільотинний ніж 6, що робить зворотно-поступальний рух; рослинна сировина подається між нижнім нерухомим 7 і верхнім 6 падаючим ножем, розрізається на шматки визначеної регульованої величини.
Рис. 2. Корнерізка з гільотинними ножами
В описаних траво- і корнерізках (крім ручної січкарні) рух стрічкового транспортера, що живить валики і ножі відбувається узгоджено, при цьому рослинна маса виступає вперед на визначену довжину відповідно до заданого ступеня здрібнювання. Потрібно враховувати, що номінальну довжину звичайно мають тільки шматочки трави, що ріжеться. Що стосується коренів і кори, то, оскільки вони тендітні, при падінні на них ножа виступаючі ділянки можуть обламуватися. У результаті цього виходить значна кількість шматочків меншого розміру і великого порошку.
При виготовленні зборів виникає необхідність додання шматочкам кори квадратної, а шматочкам коренів і кореневищ – кубічної форми (очищений солодковий і алтейний корені), що виробляється на спеціальних машинах.
Машини з дисковими пилками. Серед рослинної сировини є особливо тверді об'єкти (наприклад, корені елеутерококу), для здрібнювання яких виявилися придатними малогабаритні дискові пилки. Корені, подавані під обертову пилку, розпилюють на часточки, що потім уже вдається здрібнити на дробарках. При розпилюванні одночасно виходять об’ємні обпилювання – великий порошок здрібнених коренів.
3.4 Стадія ТП-3. Просівання лікарської рослинної сировини
Однорідність здрібненого матеріалу досягається за допомогою ситових механізмів (трясунків). При цьому використовуються хитні сита різної конструкції.
Хитні сита (трясунки). Ці механізми різної конструкції роблять примусове хитання сита, що забезпечується твердим зв'язком колінчатого вала, кривошипно-шатунного чи ексцентрикового механізмів з корпусом сита. Сито встановлюється в горизонтальному чи нахиленому положенні (7-14°) на роликах, що рухаються по направляючим, іноді вони кріпляться на шарнірних чи кривошипних опорах або їх підвішують на шарнірних підвісах. Число хитань у хвилину складає від 50 до 400, а амплітуда коливань від 5 до 200 мм. На рис. 3 показані хитні сита (трясунки), у яких короб із ситом робить зворотно-поступальний рух, будучи підвішеним на шарнірних підвісах (а), або за допомогою шарнірних чи кривошипних опор (б), або в сполученні тих і інших (в) (рис. 3).
Рис. 3. Схеми хитних сит
Устрій однієї з різновидів хитного сита представлене на рис. 4. Матеріал, що підлягає просіванню, насипається на робочу поверхню 3 через лійку 1. Просіяний порошок зсипається в лійку 7, а відтіля в тару 8. Щоб уникнути розпилення матеріалу під час роботи тара встановлюється в спеціальний кожух, прикріплений до корпуса 2 і зачиняючих дверцят 9. Короб сита встановлений на чотирьох роликах 5, що рухаються по направляючим 4. Сито приводиться в рух електродвигуном 10 за допомогою шківа 11 і колінчатого вала 6.
Рис. 4. Хитне сито
Багатоярусні хитні сита. Багатоярусні сита мають кілька сіток, розташованих одна над іншою, причому верхня має найбільші отвори, а нижня – найменші. Такі сита дозволяють розділити матеріал, що просівається, по розміру часток на окремі фракції.
При всіх ступенях здрібнювання пил відсівається крізь сито з отвором розміром 0,2 мм.
3.5 Стадія ТП-4. Змішування
Складові частини збору змішують у змішувачах з обертовим корпусом різної конструкції.
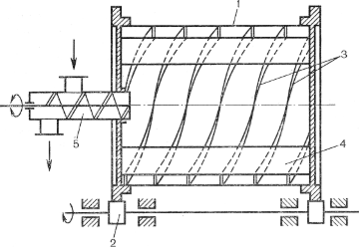
Один з найбільш розповсюджених змішувачів – барабанний змішувач (рис. 5), що являє собою циліндричний корпус 1, що обертається на опорних роликах 2 зі швидкістю 6-8 об./хв. Для кращого змішування матеріалу на внутрішніх стінках барабана укріплені спіральні перегородки 3, а усередині нього – кілька подовжніх полиць 4 з перегородками. Барабанний змішувач є апаратом періодичної дії. Завантаження і вивантаження здійснюється за допомогою шнека 5, що при завантаженні обертається в одному напрямку, а при вивантаженні – у протилежному.
Рис. 5. Змішувальний барабан
Барабанні змішувачі бувають також із призматичної, кубічної чи іншої форми корпусом, що обертається в цапфах на горизонтальному валу (рис. 6). Змішувачі прості по пристрої, але вимагають значного часу для змішування, обчислювального годинами.
Рис. 6. Змішувачі з обертовим корпусом: а – кульовий млин; б – V-образний змішувач; в – двохконусний змішувач; г – кубічний змішувач; д – турбула
Одержання однорідної по складу суміші представляє визначених труднощів, тому що окремі частки збору мають різну величину, форму, масу і тому ясно виражену схильність до розшарування.
3.6 Стадія ТП-5. Уведення лікарських речовин (ефірних олій і солей) ТП-5.1. Обприскування і перемішування
При введенні до складу зборів лікарських речовин (ефірних чи олій солей), їх попередньо розчиняють:
ефірні олії – у спирті етиловому,















