47612 (608315), страница 2
Текст из файла (страница 2)
1.2.5 Периферійні пристрої
Набор периферійних пристроїв, що є у складі того або іншого мікроконтролера, залежить від конкретної моделі і може бути визначений по вільній таблиці. Взагалі ж у складі мікроконтролерів сімейства зустрічаються наступні периферійні пристрої:
-
8-розрядний таймер/лічильник з передільником (таймер ТЕ);
-
другий 8-розрядний таймер/лічильник з передільником (таймер Т1);
-
сторожовий таймер WDT;
-
одноканальний генератор сигналу з ШИМ розрядністю 8 біт (один з режимів роботи таймера Т1);
-
аналоговий компаратор;
-
10-розрядний АЦП (4 канали);
-
апаратний модулятор.
Периферійний пристрій - частина технічного забезпечення, конструктивно відокремлена від основного блоку обчислювальної системи.
Периферійні пристрої мають власне управління і функціонують по командах центрального процесора.
Периферійні пристрої призначені для зовнішньої обробки даних, що забезпечує їх підготовку, введення, зберігання, управління, захист, вивід і передачу на відстань по каналах зв'язку.
Периферія - це сукупність периферійних пристроїв, підключених до комп'ютера, пристрої, які не представляють для комп'ютера особливої важливості і він сповна обходитися без них. Правда, відсутність деяких з периферійних пристроїв на комп'ютері обмежує можливості користувача. Наприклад, без мишки користувач не може поворушити курсором і відповідно не може повноцінно працювати на комп'ютері, оскільки миша на сучасному ПК є практично найголовнішим елементом управління ПК.
Які чинники впливають на те, що периферійні пристрої відносять до групи периферійних ?
-
такі пристрої прості в установці і налаштуванні;
-
вони, як правило, є зовнішніми, тобто підключаються не зсередини, а зовні системного блоку;
-
їх призначення чітко визначене;
-
вони практично не підлягають жодній модернізації і розгону;
-
такі пристрої завжди дешеві і у них є величезна кількість виробників, чого не скажеш, наприклад, про процесори або про вінчестери;
-
більшість периферійних пристроїв підключаються до одних і тих же роз'ємів на системній платі або на контроллерах;
-
деякі периферійні пристрої для зберігання даних управляються на системній платі спеціальними мікросхемами управління - Super I/O;
-
Характеристики підсистеми введення/виводу
-
Основними характеристиками підсистеми введення/виводу є:
-
програмна конфігурація і вибір портів введення/виводу;
-
виводи можуть бути запрограмовані як вхідні або як вихідні незалежно один від одного;
-
вхідні буфери з тригером Шмітта на всіх виводах;
-
можливість підключення до входів внутрішніх підтягуючих резисторів (опір резисторів складає 35.120 кОм).
1.2.6 Енергозберігаючі режими роботи мікроконтролеру
Для запуску режиму зниженого енергоспоживання повинен бути встановлений в стан I біт SE регістру MCUCR і повинна бути виконана команда SLEEP. Якщо під час перебування в режимі зниженого споживання відбувається одне з дозволених переривань, процесор починає працювати, виконує підпрограм обробки переривання і продовжує виконання програми з команди, наступного за SLEEP. Вміст регістровий файлу та пам'яті введення / виводу не змінюється. Якщо в режимі зниженого споживання відбувається скидання, процесор починає виконання програми, вектора скидання.
Якщо для виведення з економічного режиму використовується переривання за рівнем, низький рівень повинен утримуватися на час, достатній для запуску генератора тактовим імпульсів, - на 16 мс. Інакше прапор переривання може повернутися в 0 до того, як процесор почне роботу.
Режим холостого ходу
Коли біт SM скинутий, команда SLEEP перекладає процесор до режиму холостого ходу (Idle mode). ЦПУ зупиняється, але таймери / лічильники, сторожовий таймер і система переривань продовжують працювати. Це дозволяє процесору відновляти роботу як від зовнішніх переривань, так і за переповнення таймерів / лічильників або за скидання від сторожового таймера. Якщо переривання від аналогового компаратор не потрібно, аналоговий компаратор може бути відключений встановленням біта ACD регістру ACSR. Це зменшує споживану потужність.
Економічний режим
Коли біт SM = 1, команда SLEEP переводить процесор в економічний режим (Power Down Mode). У цьому режимі зупиняється генератор тактовим імпульсів. Програміст може дозволити рабо ¬ ту сторожового таймера в цьому режимі. Якщо сторожовий таймер раз ¬ вирішено, процесор виходить з економічного режиму після відпрацювання періоду сторожового таймера. Якщо сторожовий таймер заборонений, вихід з економічного режиму може відбутися тільки за зовнішнього скидання або зовнішнього переривання по рівню.
1.3 Розробка структурної схеми пристрою
Мікроконтролер - це мікропроцесорна система на одному кристалі. Така мікросхема містить всі складові частини мікропроцесорної системи.
Схема управління має на увазі під собою комутаційний пристрій-кнопка.
Джерело живлення - радіоелектронний пристрій, призначений для забезпечення різних пристроїв електричним живленням.
Розрізняють первинні та вторинні джерела живлення. До первинних відносять перетворювачі різних видів енергії в електричну, прикладом може служити акумулятор, що перетворить хімічну енергію. Вторинні джерела самі не генерують електроенергію, а слугують лише для її перетворення з метою забезпечення необхідних параметрів (напруги, струму, пульсацій напруги і т. п.)
Блок вихідних пристроїв через оптопару – безпосереднє виконавчий пристрій на, який підсистема передає свій вплив. (рис. 1.3.)
Блок
керування
МПС
Блок індикації
Блок живлення
Мал. 1.3. Структурна схема лічильника, який рахує число імпульсів готової продукції.
1.4 Розробка принципіальної схеми пристрою
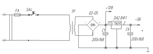
1.4.1 Блок Живленная
Блок живлення зібраний на простій і не дорогій конструкції. Малогабаритний індукційний трансформатор Тр1 іноземного виробництва які застосовуються в сучасній аудіо техніці. Первинна обмотка трансформатора розрахована на змінний струм від мережі U1=220Вт. Вторинна обмотка розрахована на напругу 12Вт і сили струму навантаження I2=1.5А. Випрямний ланцюг зібраний на кременевих діодах середньої потужності VD1-VD4 КД201 включених за типом «міст». Як фільтр був використаний електролітичний конденсатор С1 з ємкістю 100mF на напругою живлення 24В. Як стабілізатор була використана мікросхема КР142ЕН5А. Мікросхема КР142ЕН5А трьохвивідний стабілізатор з фіксованою вихідною напругою 5 вольт можуть знайти вживання в широкому спектрі радіоелектронних пристроїв в якості джерелах живлення логічних систем, вимірювальній техніці, пристроїв високоякісного відтворення і інших радіоелектронних пристроїв.
Таким чином, ми отримуємо не дорогий, малогабаритний і якісний блок живлення з двома вихідними напругами +12В і +5В і максимальною силою струму в 1А. 12В використаний для живлення електронного ключа, а 5В для живлення мікроконтролера. Схема приведена рис.1.4.1
Рис.1.4.1. Блок живлення від мережі змінного струму 220В
1.4.2 Блок вихідних пристроїв
В своєму пристрої в якості блоку індикації я використала Семисегментний індикатор АЛС324Б1 (рис 1.4.2).
Семисегментний індикатор представляє собою мікросхему, на верхній поверхні якої розташовуються світло діоди. Ці індикатори є дуже зручним та простим у використанні пристроєм відображення числової інформації. Всередині них, як правило, всі світло діоди з'єднані разом або катодом (загальний катод), або анодом (загальний анод).
Всі індикатори однієї серії мають однакову распіновку і відрізнятися можуть лише кольором. Це дозволяє, встановивши індикатор у панельки для мікросхем, легко замінити його індикатором іншого кольору.
Літери на малюнку які позначають кожен сегмент А і G. Ці назви ми будемо використовувати в коді програми для оголошення макросів. Це дозволить якнайсильніше абстрагувати програму від електричної схеми, від способу з'єднання індикатора та МК.
Отже, "ніжки" 3 і 8 потрібно підключити до шини +5 В (або, в крайньому разі, подати на них 5 В від МК, але так робити не рекомендується), а решта - до будь-якого порту МК. При цьому не дуже-то важливо, в якому порядку, оскільки в разі помилки Ви просто побачите на індикатор не цифру, а яку-небудь букву "зю". Тоді доведеться або підключити по-іншому, або внести невеликі зміни в програму. В загальному, символ, відображений на індикаторі, залежить від того, яке число відправити в порт. Всього існує 255 комбінацій, і всі вони можливі незалежно від способу підключення. Я використав порт D для підключення індикатора.
Рис 1.4.2 Схема виводів індикатора АЛС324Б1
1.4.3 Блок керування
В я кості блоку керування в пристрої я використала так званий «Датчик тіні» (Рис. 1.4.3.). Пристрій який складеться з двох світлодіодів та двох фото резисторів.
Діє пристрій наступним чином. Світлодіод світить на фото транзистор, фото транзистор закритий, як тільки між фото резистором та фотодіодом встає перешкоду через яку не проходить світло, резистор відкривається і через нього проходить напруги.
Рис.1.4.3. Схема «Датчика тіні»
1.4.4 Розрахунок виводу МК
Оптопара споживає малий струм. Для свого проекту я використала вітчизняну оптопару АОУ103В. З її даних я дізналася, що її максимальна робоча напруга складає 1,5В, а струм 10млА.
Для того щоб визначити величини припустимих струмів мого МК ATtiy2313 скористаємось графіком залежності напруги на виході МК від струму, який протікає крізь вивід МК (Додаток ), який візьмемо у даташит .
Для того щоб визначити величини припустимих струмів скориставшись фірмовою документацією на МК АТtiny2313, є наступні обмеження:
Сумарний струм навантаження при «0» на виході не повинен перевищувати
, причому сумарний струм ліній
не більш
. Струм ліній
не повинен перевищувати
. Як-що навантажити всі виходи струмом
можна перевищити припустимий струм, що може зашкодити мікросхемі.
Вибираємо струм 10мА, який є оптимальний для нашої оптопари. За допомогою R, вимірюємо падіння напруги на ній.
За графіком із ДШ визначаємо яка напруга буде на виводі UМК при струмі 10мА. Вона дорівнює 0,5В.
Знаходимо напругу резистора:
=5-(2,5+0,5)=2В
















