1391-1 (607630), страница 3
Текст из файла (страница 3)
Трансивер - это часть сетевого адаптера, которая выполняет следующие функции:
прием и передача данных с кабеля на кабель,
определение коллизий на кабеле,
электрическая развязка между кабелем и остальной частью адаптера,
защита кабеля от некорректной работы адаптера.
Последнюю функцию часто называют контролем болтливости (jabber control). При возникновении неисправностей в адаптере может возникнуть ситуация, когда на кабель будет непрерывно выдаваться последовательность случайных сигналов. Так как кабель - это общая среда для всех станций, то работа сети будет заблокирована одним неисправным адаптером. Чтобы этого не случилось, на выходе передатчика ставится схема, которая проверяет количество битов, переданных в пакете. Если максимальная длина пакета превышается, то эта схема просто отсоединяет выход передатчика от кабеля.
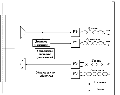
Упрощенная структурная схема трансивера показана на рисунке 7. Детектор коллизий определяет наличие коллизии в коаксиальном кабеле по повышенному уровню постоянной составляющей сигналов. Если постоянная составляющая превышает определенный порог, то значит на кабель работает более чем один передатчик.
К достоинствам стандарта 10Base-5 относятся:
хорошая защищенность кабеля от внешних воздействий,
сравнительно большое расстояние между узлами,
возможность простого перемещения рабочей станции в пределах длины кабеля AUI.
Рис. 7. Структурная схема трансивера
К недостаткам следует отнести:
высокую стоимость кабеля,
сложность его прокладки из-за большой жесткости,
наличие специального инструмента для заделки кабеля,
при повреждении кабеля или плохом соединении происходит останов работы всей сети,
необходимо заранее предусмотреть подводку кабеля ко всем возможным местам установки компьютеров.
Стандарт 10Base-2
Стандарт 10Base-2 использует в качестве передающей среды коаксиальный кабель с диаметром центрального медного провода 0,89 мм и внешним диаметром около 5 мм ("тонкий" Ethernet, волновое сопротивление кабеля 50 Ом). Максимальная длина сегмента без повторителей составляет 185 м, сегмент должен иметь на концах согласующие терминаторы 50 Ом.
Станции подключаются к кабелю с помощью T-коннектора, который представляет из себя тройник, один отвод которого соединяется с сетевым адаптером, а два других - с двумя концами разрыва кабеля. Максимальное количество станций, подключаемых к одному сегменту, 30. Минимальное расстояние между станциями - 1 м.
Этот стандарт очень близок к стандарту 10Base-5. Но трансиверы в нем объединены с сетевыми адаптерами за счет того, что более гибкий тонкий коаксиальный кабель может быть подведен непосредственно к выходному разъему платы сетевого адаптера, установленной в шасси компьютера. Кабель в данном случае "висит" на сетевом адаптере, что затрудняет физическое перемещение компьютеров.
Топология сегмента сети стандарта 10Base-2 показана на рисунке 8.
Рис. 8. Сеть стандарта 10Base-2
Реализация этого стандарта на практике приводит к наиболее простому решению для кабельной сети, так как для соединения компьютеров требуются только сетевые адаптеры и Т-коннекторы. Однако этот вид кабельных соединений наиболее сильно подвержен авариям и сбоям: кабель восприимчив к помехам, в моноканале имеется большое количество механических соединений (каждый T-коннектор дает три механических соединения, два из которых имеют жизненно важное значение для всей сети), пользователи имеют доступ к разъемам и могут нарушить целостность моноканала. Кроме того, эстетика и эргономичность этого решения оставляют желать лучшего, так как от каждой станции через T-коннектор отходят два довольно заметных провода, которые под столом часто образуют моток кабеля - запас, необходимый на случай даже небольшого перемещения рабочего места.
Общим недостатком стандартов 10Base-5 и 10Base-2 является отсутствие оперативной информации о состоянии моноканала. Повреждение кабеля обнаруживается сразу же (сеть престает работать), но для поиска отказавшего отрезка кабеля необходим специальный прибор - кабельный тестер.
Стандарт 10Base-T
Стандарт принят в 1991 году как дополнение к существующему набору стандартов Ethernet и имеет обозначение 802.3i.
Использует в качестве среды двойную неэкранированную витую пару (Unshielded Twisted Pair, UTP). Соединения станций осуществляются по топологии "точка - точка" со специальным устройством - многопортовым повторителем с помощью двух витых пар. Одна витая пара используется для передачи данных от станции к повторителю (выход Tx сетевого адаптера), а другая - для передачи данных от повторителя станции (вход Rx сетевого адаптера). На рисунке 9 показан пример трехпортового повторителя.
Многопортовые повторители в данном случае обычно называются концентраторами (англоязычные термины - hub или concentrator). Концентратор осуществляет функции повторителя сигналов на всех отрезках витых пар, подключенных к его портам, так что образуется единая среда передачи данных - моноканал (шина). Повторитель обнаруживает коллизию в сегменте в случае одновременной передачи сигналов по нескольким своим Rx входам и посылает jam-последовательность на все свои Tx выходы. Стандарт определяет битовую скорость передачи данных 10 Мб/с и максимальное расстояние отрезка витой пары между двумя непосредственно связанными узлами (станциями и концентраторами) не более 100 м при использовании витой пары качества не ниже категории 3.
_
Рис. 9. Сеть 10Base-T - один домен коллизий
Tx - передатчик, Rx - приемник
Возможно иерархическое соединение концентраторов в дерево (рис. 10). Для обеспечения синхронизации станций при реализации процедур доступа CSMA/CD и надежного распознавания станциями коллизий в стандарте определено максимально число концентраторов между любыми двумя станциями сети.
Рис. 2.10. Повторители (концентраторы)
Общее количество станций в сети 10Base-T не должно превышать 1024.
Сети, построенные на основе стандарта 10Base-T, обладают по сравнению с коаксиальными вариантами Ethernet'а многими преимуществами. Эти преимущества связаны с разделением общего физического кабеля на отдельные кабельные отрезки, подключенные к центральному коммуникационному устройству. И хотя логически эти отрезки попрежнему образуют общий домен коллизий, их физическое разделение позволяет контролировать их состояние и отключать в случае обрыва, короткого замыкания или неисправности сетевого адаптера на индивидуальной основе. Это обстоятельство существенно облегчает эксплуатацию больших сетей Ethernet, так как концентратор обычно автоматически выполняет такие функции, уведомляя при этом администратора сети о возникшей проблеме.
Стандарт 10Base-F
Стандарт 10Base-F использует в качестве среды передачи данных оптоволокно. Функционально сеть стандарта 10Base-F состоит из тех же элементов, что и сеть стандарта 10Base-T - сетевых адаптеров, многопортового повторителя и отрезков кабеля, соединяющих адаптер с портом повторителя. Как и при использовании витой пары, для соединения адаптера с повторителем используется два оптоволокна - одно соединяет выход Tx адаптера со входом Rx повторителя, а другое - вход Rx адаптера с выходом Tx повторителя.
Стандарт FOIRL (Fiber Optic Inter-Repeater Link) - это первый стандарт комитета 802.3 для использования оптоволокна в сетях Ethernet. Он гарантирует длину оптоволоконной связи между повторителями до 1 км при общей длине сети не более 2500 м. Максимальное число повторителей - 4.
Стандарт 10Base-FL предназначен для соединения конечных узлов с концентратором и работает с сегментами оптоволокна длиной не более 2000 м при общей длине сети не более 2500 м. Максимальное число повторителей - 4.
Стандарт 10Base-FB предназначен для магистрального соединения повторителей. Он позволяет иметь в сети до 5 повторителей при максимальной длине одного сегмента 2000 м и максимальной длине сети 2740 м. Повторители, соединенные по стандарту 10Base-FB постоянно обмениваются специальными последовательностями сигналов, отличающимися от сигналов кадров данных, для обнаружения отказов своих портов. Поэтому, концентраторы стандарта 10Base-FB могут поддерживать резервные связи, переходя на резервный порт при обнаружении отказа основного с помощью тестовых специальных сигналов. Концентраторы этого стандарта передают как данные, так и сигналы простоя линии синхронно, поэтому биты синхронизации кадра не нужны и не передаются. Стандарт 10Base-FB поэтому называют также синхронный Ethernet.
Стандарты 10Base-FL и 10Base-FB не совместимы между собой.
Правило 4-х повторителей
При описании топологии сети стандарта 10Base-5 приводились ограничения на длину одного непрерывного отрезка коаксиального кабеля, используемого в качестве общей шины передачи данных для всех станций сети. Отрезок кабеля, завершающийся на обоих концах терминаторами и имеющий общую длину не более 500 м называется физическим сегментом сети. Однако при расчете окна коллизий общая максимальная длина сети 10Base-5 считалась равной 2500 м. Противоречия здесь нет, так как стандарт 10Base-5 (впрочем как и остальные стандарты физического уровня Ethernet) допускает соединение нескольких сегментов коаксиального кабеля с помощью повторителей, которые обеспечивают увеличение общей длины сети.
Повторитель соединяет два сегмента коаксиального кабеля и выполняет функции регенерации электрической формы сигналов и их синхронизации (retiming). Повторитель прозрачен для станций, он обязан передавать кадры без искажений, модификации, потери или дублирования. Имеются ограничения на максимально допустимые величины дополнительных задержек распространения битов нормального кадра через повторитель, а также битов jam-последовательности, которую повторитель обязан передать на все подключенные к нему сегменты при обнаружении коллизии на одном из них. Воспроизведение коллизии на всех подключенных к повторителю сегментах - одна из его основных функций. Говорят, что сегменты, соединенные повторителями, образуют один домен коллизий (collision domain).
Повторитель состоит из трансиверов, подключаемых к коаксиальным сегментам, а также блока повторения, выполняющего основные функции повторителя.
На рисунке 5 показан пример сети, состоящей из двух сегментов, соединенных одним повторителем.
В общем случае стандарт 10Base-5 допускает использование до 4-х повторителей, соединяющих в этом случае 5 сегментов длиной до 500 метров каждый, если используемые повторители удовлетворяют ограничениям на допустимые величины задержек сигналов. При этом общая длина сети будет составлять 2500 м, и такая конфигурация гарантирует правильное обнаружение коллизии крайними станциями сети. Только 3 сегмента из 5 могут быть нагруженными, то есть сегментами с подключенными к ним трансиверами конечных станций.
Правила 4-х повторителей и максимальной длины каждого из сегментов легко использовать на практике для определения корректности конфигурации сети. Однако эти правила применимы только тогда, когда все соединяемые сегменты представляют собой одну физическую среду, то есть в нашем случае толстый коаксиальный кабель, а все повторители также удовлетворяют требованиям физического стандарта 10Base-5. Аналогичные простые правила существуют и для сетей, все сегменты которых удовлетворяют требованиям другого физического стандарта, например, 10Base-T или 10Base-F. Однако для смешанных случаев, когда в одной сети Ethernet присутствуют сегменты различных физических стандартов, правила, основанные только на количестве повторителей и максимальных длинных сегментов становятся более запутанными. Поэтому более надежно рассчитывать время полного оборота сигнала по смешанной сети с учетом задержек в каждом типе сегментов и в каждом типе повторителей и сравнивать его с максимально допустимым временем, которое для любых сетей Ethernet с битовой скоростью 10 Мб/с не должно превышать 575 битовых интервалов (количество битовых интервалов в пакете минимальной длины с учетом преамбулы). Примеры таких расчетов будут даны после рассмотрения всех физических стандартов Ethernet.
Методика расчета конфигурации сети Ethernet
Для того, чтобы сеть Ethernet, состоящая из сегментов различной физической природы, работала корректно, необходимо, чтобы выполнялись три основных условия:
Количество станций в сети не превышает 1024 (с учетом ограничений для коаксиальных сегментов).
Удвоенная задержка распространения сигнала (Path Delay Value, PDV) между двумя самыми удаленными друг от друга станциями сети не превышает 575 битовых интервалов.
Сокращение межкадрового расстояния (Interpacket Gap Shrinkage) при прохождении последовательности кадров через все повторители не более, чем на 49 битовых интервалов (напомним, что при отправке кадров станция обеспечивает начальное межкадровое расстояние в 96 битовых интервалов).















