24516-1 (600320), страница 5
Текст из файла (страница 5)
Такие домики заселяются весной в первую очередь. Возле самой воды гоголятники развешивают на высоте 3-5 м, на расстоянии от берега не менее 10 м. Леток должен быть направлен к воде. Лучше, если гнездовье вообще будет видным от воды. Гоголятники крепко закрепляют на дереве так, чтобы был небольшой наклон вперед. Там, где у берегов нет удобных деревьев, домики можно устраивать и на жердях высотой в несколько метров. Как было установлено наблюдениями в Лапландском заповеднике (Кольский полуостров), небольшие, до 2 мм, щели между досками не влияют ни на заселенность, ни на успешность размножения, наоборот, они способ ствуют быстрому высыханию гнездовой подстилки.
Гнездовой ящик для гоголя (размеры в см).
На дно гнездовья насыпают до 10 см трухи, опилок, стружки. После окончания сезона гнездования гоголятники важно проверить и почистить. Утки в следующем году не заселят гнездовья, в которых остались прошлогодние яйца или мертвые птенцы.
Гнездовья для птиц-норников
Зимородок гнездится в норках по берегам водоемов. Для привлечения его на гнездование устраивают искусственные норки в естественных обрывистых берегах или искусственные обрывы. На берегу речки, озера, вдоль которых растут деревья и кусты, лопатой расчищается вертикальная площадка - размером приблизительно 2х2 м. Дальше птицы могут загнездиться и сами, но лучше сделать несколько норок, пробив палкой отверстие диаметром 6-8 см. Гнездовые норки должны быть укрыты среди кустов и корней.
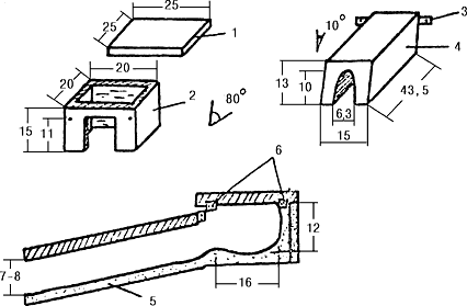
Форма для изготовления искусственного хода для зимородка (размеры в см).
Там, где нет естественных крутых берегов, можно устроить искусственный. Среди прибрежных кустов около водоема, богатого мелкой рыбешкой и удобными присадами (их также можно устроить искусственно - натыкав в дно жерди), устраивается стенка из досок, укрепленных кольями. За ней насыпается куча земли.
Все это прикрывается травой, ветками. В досках предварительно выпиливают отверстия 6-8 см в диаметре. От них внутрь кучи делают гнездовые ходы до метра в длину. Чтобы земля в них не осыпалась, в норку вставляют картонную трубочку. Она должна немного подниматься в направлении гнездовой камеры, чтобы не стекала дождевая вода. Гнездовую камеру делают из цемента или глины, обжигая ее предварительно для прочности. Внутренний размер камеры 14-18 см. Такие гнездовья очень удобны для наблюдения за гнездовой жизнью этих птиц. Для защиты от дождей над гнездовой камерой желательно приделать какой-нибудь водонепроницаемый материал - кусок пленки, толя и т.п.
А вот другой вариант гнездовья, которое можно закопать наверху естественного обрыва возле воды. Состоит оно из двух основных частей: хода и гнездовой камеры. Ход аркообразной формы делается из цемента или глины. Длина его 40-45 см, диаметр 6-7 см. Лучше всего сделать специальную форму для его изготовле ния, как указано на рисунке, гнездовая камера делается из досок, или также лепится из глины. Гнездовье закапывается в землю на 20-60 см от поверхности. Устанавливают его таким образом, что образованный каркас защищает гнездо сверху и с боков, снизу насыпается не большой слой песка. Чтобы к гнезду не могли прокопаться мыши, хорошо с самого низа под песок пристроить проволочную решетку.
Искусственное гнездовье для зимородка:
1 - крышка, 2 - гнездовая камера, 3 - металлический угольник, 4 - ход в камеру, 5 - почва, 6 - металлические скобы.
Размещение искусственного гнездовья для зимородка:
1 - отверстие для постройки гнездовья; 2 -металлическая сетка (размеры в см).
В норах гнездятся также и некоторые виды уток. Это пеганка, огарь. Для них устраиваются искусствен ные норы на крутом берегу или возвышении возле водоема. Снимается полоска дерна, которая потом используется для маскировки постройки. Лопаткой выкапывается ров длиной 1,5-2 м, шириной и глубиной - 25-40 см. От главного хода делается несколько отверстий, которые заканчиваются гнездовыми камерами размером 30х35 см и в высоту около 30 см. Сверху ров прикрывается досками, кусками шифера, хворостом и т.п., маскируется дерном, травой, ветками. Особенно надежно необходимо защищать гнездовую камеру, чтобы туда не могли проникнуть четвероногие хищники. Вход в нору должен быть размещен немного ниже гнездовой камеры, чтобы в нее не попадала дождевая вода. Для устройства ходов в норах можно использовать куски керамических, бетонных, деревянных труб диаметром около 30 см. Гнездовую камеру для надежности можно сделать в виде ящика из досок. Гнездовья такие устраивают в малопосещаемых человеком участках морского побережья, по берегам лиманов, солоноватых водоемов, на островах.
Учитель из Рязанской области М.Т. Кошелев предложил оригинальный способ устройства гнездовий для каменок. Эти птицы гнездятся в различных нишах, полостях. Норки выкапывались Г-образно загнутым металлическим прутом так, что за небольшим гнездовым ходом образовывалась просторная гнездовая камера.
Гнездовья для водно-болотных птиц
Постройка искусственных гнездовий и меры по защите гнезд открыто гнездящихся птиц важны еще и потому, что много кладок гибнет от хищников и по другим причинам. Например, значительная часть гнезд уток, куликов, крачек разоряется серой вороной, особенно в местах, где часто бывают люди. При нормальных условиях птица никогда не слетает прямо с гнезда, чтобы не выдать место его расположения - проходит или отплывает определенное расстояние в сторону. Ворона же внимательно наблюдает за человеком или скотом и замечает места, откуда вылетают испуганные птицы. Немало гнезд затапливается по берегам водоемов с непостоянным уровнем воды, прежде всего это водохранилища ГЭС, работающие в пиковом режиме. Например, перепады уровня воды в нижнем бьефе Каневской ГЭС достигают иногда 2 м! Искусственные гнездовья позволяют не только привлечь определенных птиц, но и снизить гибель гнезд.
Лучше всего разработаны меры по привлечению уток для повышения продуктивности охотничьих угодий. Этим много занимаются государственные и общественные охотничьи организации, поэтому подобными работами лучше заниматься в контакте с ними.
Гнездовья для речных уток устраиваются в зарослях по берегам водоемов, на островах. Для их постройки можно использовать самый разнообразный материал. Из тростника и камыша делают конусные шалаши и тоннели. Шалаши устанавливают на краю береговых зарослей. Вначале делают небольшую кучу из раститель ности, на ее верхушке выдавливают углубление для гнезда и выстилают его сеном. Вокруг ставят конусообразную стенку из срезанного камыша, связывая верхушки проволокой. С одной стороны оставляют широкое отверстие. По кольцу воды между гнездом и камышовой стенкой утка свободно заплывает в шалаш. Для устройства тоннеля в землю втыкают две проволочные дуги так, чтобы получился просвет 25-30 см. Расстояние между дугами 50-70 см. Сверху на них укрепляется камышовый мат, он должен прикрывать отверстие входа несвязанными концами и метелками камыша.
В затопленных прибрежных зарослях устраивают гнездовья на кольях. Это поможет птицам освоить непригодные для них водоемы с сильными перепадами уровня воды. Лучше всего такие гнездовья устраивать зимой по льду. В дно забивают четыре кола так, чтобы образовался прямоугольник метр в длину и 40 см в ширину. К кольям по длине прямоугольника прибивают две метровые планки. Поперек них посредине еще несколько планок, которые и будут основанием для гнезда. На них пристраивается гнездовая площадка из тростникового мата. Средняя его часть лежит на поперечных планках, а концы свисают в воду в виде ступенек. Их соединяют с кольями. К кольям также прикрепляются проволочные дуги, на которые ставится еще один мат в виде крыши. Свободные концы его свисают над входом и . Высота проволочных дуг - 30 см.
На кольях или заякоренном плотике можно установить ящик из досок с дном 40х40 см и высотой 30 см. Крыша делается так, что она нависает сантиметров на 10 над входом. Делают также ящики с входом снизу, подобно описанным выше тоннелям на кольях. Вместо матов используют доски. Из досок также можно сделать подобие шалаша в виде двух поставленных под углом стенок. Длина домика 70 см, ширина стенок 35 см.
В таких гнездовьях селится кряква, чирки, шилохвость и другие речные утки. То, что гнездо оказывается надежно спрятанным и защищенным, помогает значительно повысить успешность размножения этих птиц. Для хохлатой чернети ученые предложили гнездовье типа . Его выплетают из лозы, и оно напоминает разрезанный пополам кувшин. Диаметр входного отверстия - 14 см, гнездовой камеры - 35 см. За входом идет сужение длиной 30 см. Дно гнездовой камеры выстилается сеном. Устанавливают такие гнездовья на искусственных плавающих островах или плотиках.
Для гусей устраивают в зарослях искусственные островки из камней, стожки из соломы и водной растительности. Работы по привлечению этих птиц проводились в Астраханском заповеднике в низовьях Волги и на Кургальджинских озерах в Казахстане. Гнездовья делают в виде куч из снопов тростника. Устраивают их зимой на краях плавней, в зарослях тростника за 3-5 м от их края. К кучам в зарослях делаются прокосы шириной до метра. Расстояние между отдельными гнездовыми кучами должно быть не меньше 50 см. Если вдоль стены тростника тянется полоска камыша, лучше делать гнездовья в ней за 3-5 м от плеса. Гнездовье должно быть защищено от ветра и волн.
Из скошенного тростника вяжутся снопы диаметром 30-40 см. Их надламывают посредине и укладывают в избранном месте в виде сруба колодца, причем основание одного снопа укладывает ся на верхушку другого. Для устройства одной гнездовой кучи необходимо 6-8 снопов. В поперечнике куча составляет около полутора метров, в высоту - 50-70 см. Среднюю часть кучи заполняют мятым тростником, листьями камыша. Камышом также накрывают все сооружение. В центре кучи роют небольшое углубление - гнездовую ямку. Вокруг гнездовья необходимо удалить на 30-40 см растительность, чтобы птицы могли свободно двигаться. Как утверждае т ученый Б.А. Кузнецов, в устье Волги благодаря постройке гнездовых куч удалось повысить численность серых гусей в 2-3 раза.
Увеличивается также численность и лебедя-шипуна . Когда-то он был распространен по всей Украине, позже был практичес ки полностью уничтожен. Сейчас же выводки лебедей можно увидеть даже кое-где на сельских прудах. Обе птицы могут устраивать гнезда на описанных выше кучах из тростника. Постройка искусственных гнездовий для них поможет освоить новые территории. Весьма реально достичь таким путем того, что лебеди появятся в вашей местности
Из-за человеческой деятельности уменьшается количество мест, пригодных для гнездования околоводных птиц. Песчаные косы, заросли водной растительности либо оказались под водой, или из-за резких колебаний уровня воды стали непригодными для гнездования чаек, крачек, куликов. Возрастает и беспокойство птиц отдыхающими, рыбаками, скотом.
Компенсировать потерю естественных мест гнездования может устройство искусственных плавучих островков. Для черной крачки в тихих заливах, на луговых озерах, недалеко от берега островки строят в виде каркаса из жердей, досок, пластмассовых труб или из иного подобного материала с привязанными к нему пенопластовыми поплавками. Размеры такого плотика могут колебаться от 0,5х0,5 м до 1,5х3 м. Деревянный каркас выстилается матом из тростника или камыша, сверху накидывают остатки водных растений. Плотик привязывается по диагонали к двум забитым в дно кольям так, чтобы его крепление свободно перемещалось по ним. Плотик будет колебаться вместе с изменением уровня воды. Прибалтийские орнитологи установили, что успешность размножения крачек на плотиках в водоемах с нестабильным уровнем воды выше, чем в естественных местах гнездования. Вот почему такие плотики можно использовать для обогащения орнитофауны искусственных водоемов.
Для речной крачки устраиваются плоты размером 4х6 м или 5х6 м. На платформу насыпают песок и гальку. Края плота обносятся проволочной сеткой, предохраняющей птенцов и яйца от падения. Может речная крачка гнездиться и на описанных выше плотиках с подстилкой из тростника. На них иногда селятся также утки, чайки, лысухи.
Такие искусственные островки уже много лет используются орнитологами и природолюбами Западной Европы, где вследствие неблагоприятных изменений ландшафта крачки стали редкими птицами.
Бельгийские орнитологи испробовали искусственное гнездовье для чомги из куска пенопласта толщиной около 50 см. Вырезается шестиугольник диаметром 60 см, по краям его обшивают тоненькими досками так, чтобы с верхней стороны они выступали на 5 мм. К трем углам крепятся тросики, которые якорятся ко дну тяжелыми предметами. При этом длину тросика подбирают так, чтобы платформа плавала на поверхности и при максимальном подъеме воды. Устанавливать такие платформы необходимо на небольших тихих плесах среди зарослей тростника и камыша на озерах, плавнях.
Можно делать маленькие плотики и из дерева. Их сколачива ют из нескольких отрезков толщиной 15-20 см и длиной около метра. Плотик укрывают слоем прошлогодней осоки, травы. Такие плотики используются в охотничьем хозяйстве для привлечения на гнездование лысухи.















