150373 (594538), страница 2
Текст из файла (страница 2)
Далее для построения самой упрощенной микроскопической модели ЭЖК фазы была предпринята попытка использования одномерной модели Изинга, в которой система представляет собой решетку, в каждом узле которой элемент может находится в двух дискретных состояниях. В одномерной модели Изинга в отсутствии внешнего ориентирующего поля спонтанная ориентация отдельных элементов отсутствует. Во внешнем ориентирующем поле средний параметр порядка в ней S>0. Для расчетов отдельные совокупности элементов - “цепочки”, равноудаленные от ориентирующей твердой подложки, замыкались (периодическое граничное условие) и для каждой цепочки задавалось некоторое значение энергии поля поверхностных сил, кубически убывающей по мере удаления от поверхности.
Такая схема позволила рассчитать зависимость параметра порядка в системе элементов – молекул от расстояния до поверхности подложки и от температуры. Далее была рассчитана теплоемкость такой системы в функции от толщины слоя (числа цепочек ) и температуры, и теплота перехода ЭЖК фазы в объемную жидкость.
Эта модель качественно описала основные свойства ЭЖК фазы: - существование упорядоченности (S=const) вблизи от поверхности подложки, уменьшение числа упорядоченных цепочек (толщины ЭЖК слоя) с ростом температуры, зависимость теплоты перехода ЭЖК фазы - объемная жидкость от температуры.
Необходимо отметить также, что ЭЖК фаза, существующая в неоднородном поле поверхностных сил не является полностью однородной по степени ориентационного порядка. Так в специально поставленных опытах по измерению дихроизма примесных молекул в сверхтонких (~ 10 – 15 нм) слоях нитробензола было показано, что около десяти молекулярных слоев, непосредственно прилегающих к поверхности подложки, обладают упорядоченностью повышенной по сравнению с объемом ЭЖК фазы.
Далее, при спектральных исследованиях ЭЖК фазы были отмечены изменения формы спектральных полос при уменьшении толщины слоя ЭЖК фазы.
В серии нормированных спектров ЭЖК фазы ароматических жидкостей (нитробензола и анизола) были отмечены изобестические точки, что однозначно свидетельствует о существовании в ЭЖК фазах этих жидкостeй нескольких типов поглощающих центров. Для определения числа таких центров с помощью метода Грама-Шмидта серия экспериментальных спектров была преобразована в серию ортогональных спектров и было показано, что экспериментальные спектры представляют собой наложение двух независимых спектров, один из которых преобладает в тонких слоях ЭЖК, а другой - в более толстых. Поглощающие центры, ответственные за эти спектры можно сопоставить с мономерами и димерами данных жидкостей. Дальнейшие расчеты позволили получить зависимость от расстояния до подложки концентрации димеров и мономеров. Дополнительные эксперименты по исследованию зависимости диэлектрической проницаемости прослоек нитробензола от их толщины также показали, что вблизи от поверхности подложки концентрируются димеры с антипараллельной ориентацией жестких дипольных моментов.
Следует отметить, что предложенные теоретические модели ЭЖК фазы недостаточно адекватно описывают механизм ее возникновения и физические свойства.
Термодинамическая модель ЭЖК фазы в своем настоящем состоянии недостаточно разработана, не оснащена математическим аппаратом и поэтому не позволяет проводить количественных расчетов. В этой и других моделях не рассматривается роль поверхностного близкодействия, определяющегося числом и характером ”активных центров”, находящихся непосредственно на поверхности твердой подложки.
Далее в этих моделях совершенно не учитывается роль второй, смежной фазы, ограничивающей ЭЖК слой с внешней стороной.
Отдельно следует отметить, что при переходе от диэлектрических подложек к металлическим равновесная толщина ЭЖК фаз значительно возрастает, что, по-видимому, связано с возрастанием в этом случае запаздывающих Ван-дер-Вальсовых сил. Укажем также, что в этих моделях игнорируется пространственная неоднородность ЭЖК-фаз, отмеченная в спектральных исследованиях.
В рассмотренных моделях не говорилось о реологических свойствах ЭЖК. Поэтому рассмотрим эти свойства на примере исследования тонких неоднородных жидких прослоек на капиллярном вискозиметре.
1.2 Капиллярный вискозиметр для исследования тонких неоднородных жидких прослоек
В статье "Капиллярный вискозиметр для исследования тонких неоднородных жидких прослоек" Алтоиз Б.А., Поповский Ю.М., описана конструкция капиллярного вискозиметра для исследования реологических свойств тонких (20 50 мкм) прослоек жидкости. Опыты с рядом органических немезогенных жидкостей свидетельствуют о пространственной неоднородности таких прослоек – наличия в них пристенного структурированного слоя, толщина которого с течением уменьшается. В рамках модели «срезаемого течением жесткого слоя» проведена оценка этой толщины.
Из оптических исследований прослоек ряда немезогенных органических жидкостей алифатического ряда [1,2] установлено, что на металлической подложке эти жидкости образуют структурированные эпитропные жидкокристаллические (ЭЖК) слои, толщина которых может достигать ds ~5 10 мкм. Вследствие анизотропии этих слоев их вязкость должна отличаться от вязкости объемной жидкости. Очевидно, что реологические исследования ЭЖК слоев весьма актуальны для решения теоретических и прикладных задач, связанных с эксплуатацией узлов трения.
Авторами в ранних исследованиях слоев, образованных на диэлектрических подложках, неоднократно отмечалось возрастание вязкости, однако, в этих работах малые толщины слоев (ds ~ 0,01 0,1 мкм) затрудняли проведение вискозиметрических измерений и заставляли исследователей применять изощренную экспериментальную технику [3] или ограничиваться косвенной оценкой вязкости пристенных слоев [4]. Для изучения вязкости ЭЖК слоев, образованных на металлических поверхностях, вследствие их больших толщин можно при соответствующей модификации использовать более грубые традиционные методики, принятые в реологии.
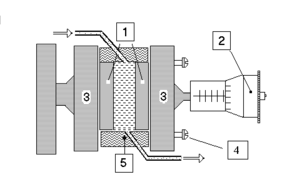
1.2.1 Устройство капиллярного вискозиметра. С этой целью нами был сконструирован капиллярный вискозиметр со щелевым зазором переменной толщины, схема которого показана на рис.1.
Рис.1. Схема капиллярного вискозиметра для исследования реологических свойств тонких прослоек жидкости
Щелевой зазор создавался между двумя плоско полированными стальными пластинами 1, которые с помощью микрометрического устройства 2 могли перемещаться и фиксироваться на заданном расстоянии. Полированные, обработанные по 14-му классу точности, стальные пластины закреплялись на латунных основаниях 3, в которых размещались установочные болты 4, позволявшие в случае необходимости устранять клиновидность щелевого зазора. Герметизация зазора осуществлялась боковыми и верхними резиновыми прокладками 5, покрытыми тонкой тефлоновой пленкой.
Рис.2.Схема создания перепада давлений в капиллярном вискозиметре
Для определения объема жидкости, протекающей через щелевой зазор, использовалась (рис.2) калиброванная измерительная трубка 1, высота столба жидкости в которой фиксировалась катетометром К с точностью 0,01 мм. Для создания перепада давлений вискозиметр через балластную трубку 2 подсоединялся к ресиверу 3 с манометрическим устройством 4. При измерении давлений P ~ 102 104 Па использовался водяной, а для больших давлений (до 20 КП) – образцовый механический манометр. Для уменьшения объема пленки жидкости, остающейся за опускающимся мениском, диаметры измерительной трубки выбирались небольшими (~ 1 мм). Поверхности пластин, образующих зазор, и другие металлические детали, входящие в контакт с исследуемой жидкостью, перед сборкой вискозиметра для очистки от органических загрязнений промывались растворителем и просушивались.
После установки заданной величины зазора D он герметизировался. Изотермичность и малость градиентов температур (T/l 50 K/м) контролировались системой термопар, а постоянство температуры (Т 0,5 К) в рабочей ячейке обеспечивалось воздушным термостатом. Для устранения ошибки, связанной с возможным шунтированием потока жидкости, ее протечкой через неплотности резиновых прокладок, предварительно проводился контрольный опыт, при котором через вискозиметр прокачивался воздух и определялась объемная скорость его протекания. Рассчитанные в таких опытах значения вязкости воздуха сравнивались с табличными данными, и в дальнейших измерениях вводилась соответствующая поправка. При зазорах D 50 мкм поправка не превышала нескольких процентов, а при меньших зазорах становилась значительной.
После заполнения вискозиметра исследуемой жидкостью в ресивере создавалось разрежение, и при различных фиксированных перепадах давлений P в диапазоне P = 102 104 Па проводились измерения интервала времени протекания через прибор заданного объема жидкости Q. Разброс отсчетов времени в пределах серии измерений был ~ 1%, однако, воспроизводимость последовательных серий достигала 10%, что связано, по-видимому, с возможным попаданием в зазор отдельных частиц твердых примесей. Расход жидкости в единицу времени определял экспериментальную объемную скорость течения qэ = Q/ (м3/с), где Q – объем протекшей через капиллярный зазор жидкости за время , и среднюю (по сечению зазора S) линейную скорость <vэ> = qэ /S. Режимы течения во всех проведенных опытах были ламинарными (Re 1). «Объемная» вязкость исследовавшихся жидкостей измерялась стандартными вискозиметрами и сравнивалась с литературными данными.
1.2.2 Экспериментальные результаты. В работе авторами были проведены измерения вязкости тонких (D = 30 50 мкм) прослоек индивидуальных органических жидкостей и углеводородных технических смесей, образованных между металлическими пластинами. В случае ламинарного потока средняя скорость <vп> течения ньютоновской жидкости через щелевой зазор толщиной D (рис.3) определяется формулой:
, (2.1)
где p=P/l (Па/м) – градиент давления по длине зазора l, а 0 (Па·с) – величина коэффициента вязкости жидкости.
Существование на боковых поверхностях щелевого зазора пристенного слоя с иными реологическими характеристиками, чем объемная жидкость, было установлено в опытах с описанным вискозиметром при анализе характера возрастания скорости течения жидкости <vэ> с повышением перепада давления, и сравнением таких зависимостей с теоретическими, рассчитываемыми по (1). Для исследуемых жидкостей при зазорах заведомо больших чем 2ds, т.е. в отсутствие перекрытия пристенных слоев, в области малых перепадов давления наблюдается уменьшение вязкости с ростом давления и поэтому нелинейное возрастание скорости течения жидкости, а при давлениях (0.5 1) 104 Па вязкость становится равной вязкости объемной жидкости.
Р
ис.3. Геометрия щелевого зазора вискозиметра и схема течения в нем жидкости с приповерхностным «жестким» слоем
Как пример авторы приведят результаты (рис.4) опытов с технической углеводородной жидкостью МРХ-30. Для тонких (D ~ 30 40 мкм) прослоек этого масла при
Рис.4. Зависимость отношения <vэ> / p – относительной (по отношению к градиенту давления p) экспериментальной средней скорости течения масла МРХ-30 через щелевые зазоры вискозиметра от градиента давления p. Величина зазоров: D1 = 39,7 мкм (), D2 = 35 мкм (О) и D3 = 30 мкм (). Т = 294 К. Сплошные линии – аппроксимация зависимостью (2)
небольшой скорости течения зависимость (1) не выполняется – величина
, (2)
где u, u0 и p – параметры аппроксимирующей зависимости (приведены в табл.1).
Таблица.1















