150246 (594532), страница 3
Текст из файла (страница 3)
Цілеспрямована робота зі створення потужного діодного наносекундного розмикача була розпочата на початку 80-х років минулого століття у Фізико-технічному інституті ім. А.Ф. Іоффе РАН (ФТІ РАН). Поштовхом послужили результати роботи [11], у якій досліджувалася можливість створення високовольтного силового діода із накопиченням заряду і було показано, що тривалість фази ВЗП збільшується, а фази ВЗО зменшується до величини менше 0,1 мкс у міру збільшення глибини залягання дифузійного р+п-переходу.
Залежність tвзо (1, 2) і tвзп (3, 4) від глибини залягання рп-перехода хр. Параметри діодів: питомий опір бази 50 Ом/см, товщина бази 100 мкм, час життя носіїв тр = 20 мкс. Тут слід зазначити, що діоди в цій роботі були створені за технологією для силового напівпровідникового приладобудування. Основною особливістю технології є те, що глибокі р+п-переходи виготовляються за допомогою спільної дифузії в повітряному середовищі бору й алюмінію з їхніх оксидів. Поверхнева концентрація А1 у цьому процесі має строго визначену величину (5-7)·1016см-3, і тому дифузійний шар складається із двох областей: сильно легованої (~ 1019 см-3) "борної" р+-області глибиною 10-20 мкм і протяжної (80-120 мкм), відносно слабко легованої "алюмінієвої" області із плавно зменшуваним градієнтом концентрації домішки. Шоклі-рідовський час життя неосновних носіїв tп у цій області зменшується з ростом концентрації основних носіїв р і описується формулою (3.1):
(3.1)
Значення часу життя рівне порядку десятка мікросекунд. Тому при протіканні прямого струму через такий р+рпп+-діод р-область виявляється "залитою" електронно-дірковою плазмою. При перемиканні відбувається швидке зменшення концентрації плазми в р+р-переході, однак, на відміну від ситуації з різким р+п-переходом, це не приводить до утворення ООЗ, оскільки в проведенні струму беруть участь основні носії р-шару. Плазмовий фронт переміщається по р-шару в бік рп-переходу, і лише при наближенні до нього цього фронту починає формуватися ООЗ і зменшуватися зворотній струм. Таким чином, збільшення глибини р+рп-переходу приводить до збільшення тривалості фази ВЗП і зменшенню тривалості ВЗО, оскільки до моменту утворення ООЗ значна частина заряду виявляється виведеною з діода. Саме така конструкція р+р-переходу надалі використовувалася у всіх потужних наносекундних діодних розмикачах.
Як вже відзначалося вище, присутність електронно-діркової плазми на зростаючій границі ООЗ, гальмує процес розширення, тобто зменшує швидкість наростання напруги на діоді й затягує спад струму. Тому, відповідно до сучасних уявлень, процес відновлення повинен протікати так, щоб рухомий плазмовий фронт в р-области від р+р- до рп-переходу, і фронт, що рухається по п-базе від п+п- до рп-переходу, зустрілися точно в площині рп-переходу. У цьому й тільки в цьому випадку протікання зворотного струму й розширення ООЗ буде відбуватися за рахунок швидкого руху тільки основних носіїв у протилежних напрямках від рп-переходу.
Однак тільки конструктивними засобами це здійснити досить складно. Так, якщо конструювати прилад з робочою напругою, наприклад, 1,7 кВ на основі кремнію п-типа провідності, звичайно використовуваного для потужних приладів, то максимальна ширина ООЗ й, отже, товщина п-бази повинна бути більше 140 мкм, а товщина р-області, виконаної дифузійним методом, не може бути більше, ніж 100-120 мкм. Тоді при більш-менш однорідному розподілі плазми в р- і п-областях приладу зустріч фронтів відбудеться в п-базі (оскільки швидкість руху фронту в р-області втроє більше), і обрив струму буде досить повільним. Наносекундний обрив струму в кремнієвому р+рпп+-діоді можна здійснити, якщо зробити тривалість імпульсу прямого струму досить малою для того, щоб більша частина загальної кількості виведеної плазми була зосереджена в р-області.
Основний експериментальний результат цих робіт наведений .
Ч
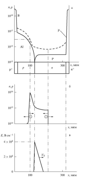
ерез зразок проходив імпульс прямого струму IF з амплітудою 3 А і тривалістю від 0,4 до 1,2 мкс, а потім прикладався імпульс зворотної напруги, що наростає до 1,7 кВ за 40 нс (крива 4, IF = 0). Добре видно, як у міру зменшення tF скорочується час наростання напруги на діоді до ~ 2 нc при tF = 400 нc. Процеси, що відбуваються при цьому, схематично показані на рис. 3.3.
Рис. 3.3.
а) будова напівпровідникової структури; штриховою лінією показаний розподіл плазми після протікання короткого імпульсу прямого струму,
б) рух плазмових фронтів при протіканні імпульсу зворотного струму,
в) утворення ООЗ після закриття фронтів.
Досліджені р+рпп+-структури (рис.3.3а) виготовлені за допомогою спільної дифузії А1 і В у п- Sі з концентрацією донорів 1014 см-3, глибина рп-переходу 120 мкм, товщина р+-шару 50 мкм, товщина п-бази 200 мкм, робоча площа 0,3 см2. п+-область виготовлена за допомогою дифузії фосфору на глибину 50 мкм. Форма розподілу плазми при накачуванні коротким (400 нс) імпульсом струму показана на рис. 3.3а штриховою лінією. Поблизу р+-шару формується тонкий шар електронно-діркової плазми з концентрацією порядку 1017 см-3, товщина якого зростає внаслідок дифузії.
Перед цим шаром утвориться концентраційна хвиля, фронт якої в умовах біполярного дрейфу (при концентрації ~ 1015 см-3) швидко переміщується до п+-шару.
У результаті формується різко неоднорідний розподіл - більша частина (~ 75 %) плазми зосереджена в р-шарі. Коли через прилад проходить швидко наростаючий імпульс зворотного струму, фронт концентраційної хвилі швидко рухається у зворотну сторону від п+-шару до рп-переходу (рис. 3.3б). Одночасно поблизу р+р-переходу концентрація плазми зменшується через винос дірок вліво, і концентраційний фронт, що утворився, рухається вправо до рп-переходу. Співвідношення між параметрами імпульсів прямого і зворотнього струмів для конкретної конструкції р+рпп+-структури вибирається так, щоб фронти зустрілися поблизу рп-переходу. Починаючи із цього моменту в діоді вже немає плазми, а протікання зворотного струму здійснюється за рахунок переміщення основних носіїв у протилежних напрямках від рп-перехода (рис. 3.3в). При цьому поблизу рп-переходу утвориться ООЗ, напруга на діоді різко зростає, а струм через нього обривається. Швидкість цього процесу визначається в основному швидкістю переміщення границі ООЗ у п-базі. Процес нагромадження плазми при протіканні струму через діод вивчений досить докладно. Фундаментальним процесом, що обмежує гранично можливу концентрацію плазми в кремнії, є рекомбинація, через яку τпр різко знижується з ростом концентрації від ~7·10-5 при п<< 1017 см-3 до 10-9 із при п <<1019 см-3. Ще більш істотним обмеженням є те, що кремнієві р+р- і п+п-гомопереходи є далеко не ідеальними інжекторами дірок й електронів. З ростом густини струму коефіцієнт інжекції знижується через відхід нерівноважних носіїв через потенційні бар'єри у високолеговані р+- і п+-шари з дуже високою швидкістю рекомбінації. Потік через бар'єр приблизно пропорційний квадрату концентрації плазми, що обмежує можливість збільшення кількості накопиченої плазми в діоді шляхом збільшення густини прямого струму. Звичайно ця густина становить 30 - 50 А/см2 , а накопичений заряд у плазмі при тривалості імпульсу, наприклад, 400 нс дорівнює (10 - 15)х10-6 Кл/см2. Тоді при лінійному наростанні імпульсу зворотного струму необхідна робоча густина його (~ 200 А/ см2) буде досягнута за 100-150 нс, після чого струм обірветься, тому що плазма буде повністю виведена з діода. На практиці через різні втрати заряду цей час повинен бути істотно меншим. Описаний вище прилад був названий дрейфовим діодом з різким відновленням (ДДРВ).
Діапазон робочих напруг ДДРВ звичайно лежить у межах від 500 до 1700 В, що відповідає рівню легування вихідного кремнію від 1015 см-3 до 1014 см-3 і граничній швидкодії від ~ 0,6 до ~ 2 нс; при більшому рівні легування утруднюється процес одержання глибоких дифузійних рп-переходів з малою поверхневою концентрацією домішки, а при п0<<1014 см-3 спадання напруги на п-базі після проходження заднього фронту концентраційної хвилі стає занадто великим. Виявилося, що, незважаючи на порівняно малу робочу напругу одиничних приладів, створення на їхній основі високовольтних – на сотні кіловольтів – збірок не є серйозною проблемою. Оскільки висока напруга прикладається до приладу тільки в процесі обриву струму, тобто на кілька наносекунд, протягом яких поверхневий пробій не встигає розвитися, то немає необхідності ні в дільниках напруги, ні в спеціальній конструкції крайового контуру приладу, що значно спрощує конструкцію збірок.
Принципово важливе значення для генерації високовольтних наносекундних імпульсів має синхронність процесу відновлення великої кількості діодів, з'єднаних послідовно. Зрозуміло, амплітуда й тривалість імпульсу прямого струму, а також швидкість наростання імпульсу зворотного струму є строго однаковими для всіх діодів збірки, однак загальна кількість плазми, введеної в р- і п-області імпульсом прямого струму, і форма її розподілу, у принципі, можуть відрізнятися від діода до діода через розброс часу життя носіїв у р- і п-шарах. Це може привести до неузгодженості відновлення діодів у часі, і сумарний процес обриву струму сповільниться. Виявилося, однак, що розроблені технологічні процеси забезпечують достатню відтворюваність цих параметрів для одержання наносекундного обриву струму в збірці, оскільки тривалість імпульсу прямого струму (сотні наносекунд) багато менше середнього часу життя τПР нерівноважних носіїв у р- і п-шарах, а коефіцієнт інжекції р+р-переходу практично однаковий у всіх приладів.
Амплітуда імпульсу зворотного струму одиничного елемента ДДРВ може бути дуже великою, оскільки простота технології дозволяє виготовляти прилади на кремнієвих пластинах будь-яких діаметрів, використовуваних у промисловості (до 125 мм). Однак експерименти показують, що на пластинах діаметром більше 25 мм тривалість процесу обриву струму зростає зі збільшенням діаметра. Передбачається, що це зв'язано зі скін-ефектом, але цілеспрямованих досліджень цієї проблеми проведено не було. Робоча площа приладу на пластині діаметром 25 мм дорівнює ~ 4 см2, тобто при JR = 200 А/см2 амплітуда імпульсу становить 800 А, а імпульсна потужність дорівнює 1,2 МВт при робочій напрузі 1,5 кВ. З таких приладів, оскільки їх легко з'єднувати послідовно й паралельно, можна створювати генератори наносекундних імпульсів великої потужності. Поява ДДРВ в 1983-1985 р. привела до радикальних змін у потужній напівпровідниковій імпульсній техніці - генератори наносекундних імпульсів потужністю в десятки мегаватів, що працюють на частотах у сотні герц, стали цілком звичайними. Робоча частота ДДРВ-збірок, у принципі, може бути дуже високою, оскільки після проходження імпульсів прямого й зворотного струмів (тобто через ~ 500 нс після початку циклу) наступний цикл може починатися практично відразу. У дійсності ж частотні можливості визначаються тепловими обмеженнями у формувачах імпульсів прямого і зворотнього струмів, де як ключі звичайно використовуються транзистори (польові або біполярно-польові).
У деяких областях застосування, зокрема, у лазерній техніці, затримка між керуючим сигналом і потужним наносекундним імпульсом повинна бути мінімально можливою. У пристроях на основі ДДРВ ця затримка визначається сумарною тривалістю імпульсів прямого і зворотнього струмів й не може бути менше 200-300 нс, причому основна її частина - це тривалість імпульсу прямого струму. Якщо створити напівпровідникову структуру, у якій необхідна для різкого обриву зворотного струму неоднорідність розподілу плазми забезпечується при постійному прямому струмі, то затримка буде дорівнювати тривалості імпульсу зворотного струму й може бути зменшена до 15-20 нс. Такі структури були створені шляхом зниження коефіцієнта інжекції п+п-перехода в р+рпп+-структурі за допомогою строго контрольованого зниження рівня легування п+-шару в тій його області, з якої відбувається інжекція електронів. У цій структурі концентрація плазми в п+п-переході при протіканні прямого струму набагато менше, ніж у р+р-переході, і при протіканні імпульсу зворотного струму першим утвориться плазмовий фронт не в р+р-, а в п+п-переході. Як показали експерименти, у такому діоді з інверсним порядком відновлення, робоча густина прямого струму істотно нижче, ніж у ДДРВ, і трохи менша накопичена кількість плазми. Однак оптимальна густина зворотного струму повинна мати таку ж величину, як й у ДДРВ, тому час наростання зворотного струму повинне бути не більше 15-20 нс, що й визначає час затримки імпульсу.
3.2. SOS-діоди.
Як було показано в попередньому розділі, робоча густина струму в дрейфових діодах з різким відновленням принципово не може перевищувати 200-300 А/см2, а скін-ефект обмежує можливість збільшення робочої площі діода вище ~ 4 см2. Тому для створення на основі ДДРВ розмикачів гігаватного діапазону потужностей, який би розмикав струми у десятки кілоампер із робочою напругою в сотні кіловольтів необхідно з'єднувати паралельно й послідовно дуже велику кількість діодів. Оцінки показують, що вартість і складність таких систем стає нереально високою.
П
рорив в область гігаватних потужностей відбувся в 1992-1993 р., коли в Інституті електрофізики (ІЕФ) УрВ РАН було експериментально встановлено, що при дуже великих густинах струмів прямий і зворотний струми (на один-два порядки більші, ніж оптимальні для ДДРВ-режиму) у певному діапазоні густин струмів і тривалостей імпульсів також спостерігається різкий обрив струму, причому механізм його явно відрізняється від ДДРВ. Наступні експерименти й розрахунки дозволили створити фізичну картину цього явища, яке автори назвали SOS-ефект (SOS - Semiconductor Opening Switch).
Фізико-математичне моделювання SOS-процесу полягало в спільному чисельному розв’язку рівняння Кірхгофа для електричної схеми з SOS-діодом, рівнянь неперервності потоку для електронів і дірок у діодній структурі й рівняння Пуассона. Як приклад на рис. 3.4 наведені розрахункові параметри SOS-процесу при накачці й відновленні зборки, що складає з 160 диодных р+рпп+-структур із площею 0,36 см2, глибиною залягання рп-перехода 165 мкм, товщиною п-базы ~ 65 мкм і концентрацією донорів у ній 1014 см-3.
а)Розподіл концентрації електронів п (суцільна лінія) і дірок р (штрихова) наприкінці імпульсу прямого струму при Ір = 0,8 кА·см-2 і тривалості 360 нс.
б, в) Розподіл надлишкової концентрації дірок
р і напруженості поля при обриві імпульсу зворотного струму JRmах = 4,2 кА·см-2 у момент максимальної напруги на структурі.
Технологія виготовлення дифузійних шарів аналогічна описаній в попередньому розділі. Опір навантаження становив 200 Ом. Розрахунковий розподіл плазми в приладі в кінці накачування коротким (~ 360 нс) імпульсом прямого струму JR = 0,8 кА·см-2 показано на рис. 3.4а; на рис. 3.4б показано положення плазмових фронтів, а на рис. 3.4в розподіл поля при обриві струму із щільністю 4,2 кА·см-2 і часом наростання 35 нс.
Добре видно, що через велику густину прямого струму концентрація плазми, внесеної біполярним дрейфом у центральну частину діода, вище, ніж у ДДРВ-процесі. Швидко наростаючий імпульс зворотного струму формує круті плазмові фронти в р- і п-шарах, що рухаються назустріч один одному, причому фронт у р-області рухається з істотно більшою швидкістю. Густина потоку дірок, що виносяться полем із плазми через ліву границю:
безупинно росте з ростом струму, а плазмовий фронт, переміщаючись вправо по дифузному р-шару, проходить області з неперервно зменшуваною концентрацією легуючої акцепторної домішки. При р > Nа об'ємний заряд нескомпенсованих вільних дірок створює електричне поле, обумовлене різницею концентрацій дірок, що рухаються з насиченою швидкістю, і концентрацією нерухомих акцепторів. Напруженість поля різко наростає, а ширина області об'ємного заряду збільшується в міру переміщення границі плазми.
На цьому етапі напруга на діоді швидко збільшується, а струм переходить у навантаження, включене паралельно діоду. Зменшення струму через діод, природно, зменшує густину потоку дірок в ООЗ (за час порядку часу прольоту ~ 0,2 нс), але одночасно зменшується й концентрація акцепторів, оскільки границя зміщається до рп-переходу; це затримує спад напруженості поля в ООЗ. Розрахунок показує, що при спаді струму на 30-40 % поле в ООЗ досягає порогу ударної іонізації в кремнію (>2·105 В·см-1), що приводить до появи електронного компоненту струму в ООЗ, що зменшує швидкість руху фронту:
Принципово важливою особливістю SOS-процесу є те, що всі описані явища відбуваються в досить сильно легованій р-області; на відміну від ДДРВ-процесу, рп-перехід і слабко легована п-база залишаються "залитими" елктронно-дірковою плазмою високої густини й майже ніякої участі в обриві струму не приймають. Другою важливою особливістю SOS -ефекту є те, що через ударну іонізацію в ООЗ виведений з діода заряд може бути істотно більший від "накачаного" імпульсом прямого струму.
Моделювання показало, що основний вплив на динаміку обриву струму робить форма початкового розподілу плазми в діоді й форма розподілу легуючої домішки в р-шарі. Експериментально було підтверджено, що чим коротший імпульс прямого струму (тобто чим більша кількість плазми втримується у вузькій області р+р-переходу) і чим менший градієнт концентрації домішок у р-шарі (тобто чим глибше розташований рп-переход), тим швидше протікає процес обриву струму. Так, при надглибокому рп-переході (180 – 200 мкм) і короткому (десятки наносекунд) імпульсі зворотного струму обрив струму протікає за час, менше наносекунди.
10>














