147176 (594273), страница 6
Текст из файла (страница 6)
Auн = Asu – Ayu = - 47,83 – 118,84 = -166,67 Н.
Aquer = √Au² + At² = √(- 166,67)² + (- 18,04)² = 167,64 Н.
Осуществляем проверку разложения сил на составляющие:
√Ахо² + Ауо² + Аzo² = √Au² + At² + F1² ;
√(-51,62)² + 800,84² + 0² = √(-166,67)² + (-18,04)² + 784,77² .
802,5=802,5
Теперь необходимо сложить все силы, действующие в одной точке.
5.2.3 Определение сил в направляющей и на поршне
амортизатора при верхних значениях сил длительного действия
РРис. 5.2. Силы в направляющей и на поршне амортизатора при верхних значениях сил
Изгибающий момент в штоке амортизатора будет складываться из двух составляющих: в направлении U и в направлении Т.
Силы в направляющей втулке штока амортизаторной стойки:
С u = А u · ℓ′ / (ℓ′ – о′) = 1140,74 ∙ 0,347 / (0,347 – 0,136) = 1876 Н
Сt = Аt ∙ ℓ′ / (ℓ′ – о′) = 502,39 ∙ 0,347 / (0,347 – 0,136) = 826,21 Н.
Силы, действующие на поршень:
Кu = С u - А u = 1876 – 1140,74 = 735,26 Н
Кt = Сt - Аt = 826,21 – 502,39 = 323,82 Н.
5.2.4 Определение сил в направляющей и на поршне
амортизатора при нижних значениях сил длительного действия
Рис. 5.3. Силы в направляющей и на поршне амортизатора при верхних значениях сил
Так как нижние значения сил в точке А в направлениях U и Т отрицательны, т. е. направлены противоположно соответствующим им силам верхних значений нагрузок, то сразу можно определить знакопеременный характер нагружения штока амортизатора. Учитывая истинное направление сил нижних значений нагрузок:
С u = А u · ℓ′ / (ℓ′ – о′) = 166,67 ∙ 0,347 / (0,347 – 0,136) = 274,1 Н;
Сt = Аt ∙ ℓ′ / (ℓ′ – о′) = 18,04 ∙ 0,347 / (0,347 – 0,136) = 29,67 Н.
Силы, действующие на поршень:
Кu = С u - А u = 274,1 – 166,67 = 107,43 Н
Кt = Сt - Аt = 29,67 – 18,04 = 11,63 Н.
5.2.5 Преобразование знакопеременной нагрузки
Рис. 5.4. Схема знакопеременных нагрузок действующих на шток и поршень
Определяем приведенные силы при знакопеременной нагрузке в направлениях U и Т (рис. 5.4).
Аuw = 0,58 Аuо + 0,42 Аuu = 0,58∙1140,74+0,42∙166,67 = 731,63 Н.
Аtw = 0,58 Аto + 0,42 Аtu= 0,58 · 502,39 + 0,42 · 18,04 = 298,96 Н.
В формуле учтены отрицательные значения коэффициента 0,42 и противоположно направленных сил.
Результирующая знакопеременных нагрузок:
Аw = √Аuw² + Аtw² = √731,63² + 298,96² = 790,35 Н
Момент, изгибающий шток:
Млw = Аw · о′ = 790,35 · 0,136 = 107,49 Н∙м
В завершение следует определить минимальный для данного случая диаметр штока и убедиться, что имеющиеся напряжения не превышают допустимые.
В качестве материала штока применяем среднеуглеродистую, качественную сталь 40, обладающей следующими свойствами: σb min=568,98 Мпа, εs = 333,54 Мпа, δs=19% . Выбранная сталь дает отличные результаты при высокочастотной закалке, что для штоков амортизаторов весьма важно.
Допустимые напряжения:
σb = 0,6 σb min b1 b2 / (βКb · υ)=0,6 · 568,98 · 0,94 · 0,95 / (1 · 1,2) = 254,05 Мпа.
где 0,6 – коэффициент, справедливый для поверхностного упрочнения и вводится при использовании твердого хромирования штока амортизатора;
b1 = 0,94 – масштабный коэффициент, отражающий снижение предела выносливости с увеличением диаметра; определен для Ø 20 мм;
b2 – коэффициент, учитывающий шероховатость поверхности, обусловленную технологией обработки. При σb min = 700 МПа и высоте микронеровностей поверхности штока Rt = 6 мкм b2 = 0,95;
βКb = 1 – коэффициент концентрации напряжений;
υ = 1,2 – коэффициент запаса прочности, обусловленный способностью поверхностного слоя при его упрочнении выдерживать в течение длительного времени возросшие примерно на 20% напряжения.
σb =
Чтобы иметь шток, упрочненный закалкой ТВЧ на 3 мм, принимаем минимальный его диаметр dmin = 20 мм.
Фактические напряжения от изгиба:
σb ф =136,86< σb=254,05
Условие усталостной прочности выполнено.
5.2.6 Определение сил, действующих на резиновые
шарниры рычага
Благодаря тому, что рычаг не воспринимает действие пружины, действующие на него и шарниры силы можно рассмотреть в плоскости.
1. Определение верхних значений сил, действующих на резиновые шарниры.
При расчете рычага приняты следующие размеры (рис. 5.5 ): Lр = 325 мм; к = 120 мм.
Сумма моментов относительно точки D:
ΣМD: В′хуо ∙ к – В′zо Lр= 0;
;
∑MB”=-B’zo∙Lp+Dxyo∙к=0
2 Определение нижних сил, действующих на резиновые шарниры
ΣMB” =-В′zu∙Lp+Dxyo∙к= 0;
Расчет резинового шарнира будем производить по максимальной длительно действующей нагрузке в нем, т. е. при радиальной силе р = Dхуо = =1412,21 Н.
5.2.7 Определение напряжений и деформаций
резиновых втулок – шарниров
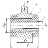
Исходя из конструктивных соображений и рассматривая конструкцию существующих резиновых втулок, принимает размеры втулок (рис. 5.7 ).
Рис. 5.7. Конструкция ручно-механической втулки рычага подвески.
1 – обойма рычага, 2 – резиновый элемент, 3 – внутренняя обойма.
Резиновая втулка работает на кручение и воспринимает радиальную и осевую нагрузки. Втулки такого типа можно отнести к шарнирам с равными касательными напряжениями.
Определяем крутильную жесткость шарнира по формуле:
где G = 0,9 МПа – модуль сдвига для радиан.
Напряжения сжатия при действии рациональной нагрузки:
где [σсж ]=1,75 МПа – допускаемые статические напряжения сжатия для резины с твердостью по Шору 60 ед.
Как указывается в литературе [ 5 ], угловое пересечение по дуге наружного радиуса не должно превышать толщины элемента. Углы закрутки резиновых элементов определяются по кинематической схеме подвески. Наибольший угол при ходе колеса Sот (отбоя) = 85 мм составил:
сtg φ =3,8936 ; φ = 14°27′ или φ = 0,24906 рад.
Тогда угловое перемещение наружной поверхности резинового элемента составит:
Вывод: при принятых размерах резиновых элементов, напряжения при сжатии, деформации и скручивании не превышают допустимых значений — это обеспечивает долговечность шарниров.
5.3 Расчет на прочность
При расчетах на прочность сопоставляют фактические и допустимые напряжения, чтобы гарантировать долговечность детали и убедиться в том, что даже при максимальных нагрузках не произойдет ее пластической деформации. Это может иметь место при условии, если будет превышено временное сопротивление или предел текучести материала: σф σдоп.
При изгибе или совместном действии различных нагрузок: σдоп = σо / υ.
В качестве предельных значений следует использовать σbs = 1,2 σs.
При расчетах на прочность принимается υ ≥ 1,5.
5.3.1. Кратковременно действующие силы.
Для определения наибольших значений сил, действующих в подвеске «Макферсон», следует рассмотреть три случая: движение по дороге с выбоинами (случай 3 [1]); преодоление железнодорожного переезда (случай 2 [1]); торможение с блокировкой колес с начальной скорости V ≤ 10 км/ч (случай 5 [1]).
5.3.2. Силы, возникающие при движении по дороге с выбоинами.
В представленном в этом параграфе случае нагружения 3, подвеска вновь рассматривается в нормальном положении. По-прежнему используем вертикальную силу NV'о = К1 NV – (Uv / 2) = 4,43 кН, однако вместо S1 использовать максимальное значение боковой силы S2 = µF2 Nv, а вместо продольной силы LА1 силу
LА4 = Mt4 / rд = Md max i2 iD iгл ηтр / (4 rд) = 80 · 2,056 · 3,588 · 0,9224 / (4 · ∙0,282) = 482,59 Н.
S2 = 2,48 кН.
Итак, методика расчета соответствует приведенной, с исключениями: вместо S1 действует S2 , а вместо LА1 - LА4.
Используя приведенный на рис.5.1 вид сзади, учитывая, что Вх3=Ву3сtg β, уравнение моментов относительно точки А:
Вх3 =Ву3∙ctgβ=307,91 · 15,97 = 4917,32 Н.
где f = (с + о) cos δo tg ε = 0,612∙0,9659∙0,0524=0,030975;
е = [(с + о) cos δo + d – rд] tg ε=(0,612∙0,9659+0,203-0,282)∙0,0524=0,026836.
В точке А действуют взаимно перпендикулярные силы:
Ах3 = В х3 - S2 ; Ау3 = Ву3 + NV ′о; Аz3 = Вz3 - LA4
Ах3 = 4917,32 – 2480; Ау3 = 307,91 + 4327,5; Аz3 = 662,73 – 482,59;
Ах3 = 2437,32 Н Ау3 = 4635,41 Н Аz3 = 180,14 Н.
Эти силы раскладываем в направлениях оси амортизатора и перпендикулярно к ней, аналогично проводимым ранее:
Ауu = Ay3 · sin υ = 4635,41 · 0,1484 = 687,75 Н.
Ayv = Ay3 · cos υ = 4635,41 · 0,9889 = 4583,96 Н.
Axs = Ax3 · sin æ = 2437,32 · 0,937 = 2283,77 Н.
Axt = Ax3 · cos æ = 2437,32 · 0,3494 = 851,6 Н.
Azs = Az3 · cos æ = 180,14 · 0,3494 = 62,94 Н.
Azt = Az3 · sin æ = 180,14 · 0,937 = 168,79 Н.
As = Azs + Axs = 62,94 + 2283,77 = 2346,71 Н.
At = Axt – Azt = 851,6 – 168,79 = 682,81 Н.
Asu = As · cos υ = 2346,71 · 0,9889 = 2320,66 Н.
Asv = As · sin υ = 2346,71 · 0,1484 = 348,25 Н.
F1 = Ayv + Asv = 4583,96 + 348,25 = 4932,21 Н.
Au = Asu – Ayu = 2320,66 – 687,75 = 1632,91 Н.
Осуществляем проверку разложения сил:
√Ах3² + Ау3² + Аz3² = √Au² + At² + F1² ;















