144397 (594059), страница 4
Текст из файла (страница 4)
— кратность воздухообмена в рабочее время, ч-1, согласно СНиП 2.08.02 для учебных заведений, поликлиник и других учреждений, функционирующих в рабочем режиме неполные сутки, 0,5 ч-1 в нерабочее время;
na=
=0,75 ч-1
24. Общий коэффициент теплопередачи здания, (Вт/м20С) определяемый по формуле:
Кm = Kmtr+ Кminf= 0,92+0,489 = 1,409 (Вт/м20С)
Теплоэнергетические показатели
25. Общие теплопотери через ограждающую оболочку здания за отопительный период, МДж
Qh = 0.0864KmDd Aesum = 0,08641,40920903745,7 = 1394425,7(МДж)
26. (Без изменения. ) Удельные бытовые тепловыделения qint, Вт/м3, следует устанавливать исходя из расчетного удельного электро- и газопотребления здания, но не менее 10 Вт/м3
Принимаем 12 Вт/м3.
27. (Без изменения. ) Бытовые теплопоступления в здание за отопительный период, МДж:
Qint = 0,0864qintZhtAL = 0,0864121342528,6 = 440437,3 МДж
28. (Без изменения. ) Теплопоступления в здание от солнечной радиации за отопительный период, МДж:
Qs =FkF(AF1l1+AF2l2+ AF3l3+AF4l4)= 0,90,9(185,26382+131,26816+98,52 382+126,96816)=
0,81(70769+107108+37634+103599)=258479 МДж
29. Потребность в тепловой энергии на отопление здания за отопительный период, МДж, определяют по формуле:
Qhy = [Qh – (Qint + Qs)Y]h
Qhy = [1394425,7- (440437,3+258479,1)0,8]1,13 = 943880,2 МДж
30.Удельный расход тепловой энергии на отопление здания qhdes, кДж/(м30Ссут): qhdes = 103 Qhy/AhDd
qhdes= 103943880,2 /101013058 = 30,55 кДж/(м30Ссут)
При требуемом qhred = 31 кДж/(м30Ссут)
По принятым сопротивлениям теплопередаче определимся конструкциями ограждений и толщиной утеплителя совмещенного покрытия и перекрытия первого этажа.
Стены: принимаем следующую конструкцию стены, теплотехнические характеристики материалов ( рис. 4)
1. Известково-песчанный раствор плотностью 1600 кг/м3 1=20мм, с коэффициентом теплопроводности
А =0,70 Вт/(моС)
2. Пенобетон плотностью 800 кг/м3 2=Х мм, с коэффициентом теплопроводности
А =0,33 Вт/(моС)
3. Цементно-песчанный раствор плотностью 1800 кг/м3 3=20мм, с коэффициентом теплопроводности
А =0,76 Вт/(моС)
Cопротивление теплопередаче:
R0 =RВ+Rраств+Rж/б +Rраств + Rн =Roтреб
R0 =
м20С/Вт
[1,72 – (0,115 + 0,028+0,026 + 0,043)]0,33 =δ2
откуда толщина пенобетона δ2=0,5 м
Совмещенное покрытие: принимаем следующую конструкцию совмещенного покрытия, теплотехнические характеристики материалов ( рис. 5)
1. Цементно-песчанный раствор плотностью 1800 кг/м3 1=20 мм, с коэффициентом теплопроводности
А =0,76 Вт/(моС)
2. Утеплитель-газобетон плотностью 600 кг/м3 2=Х мм, с коэффициентом теплопроводности
А =0,22 Вт/(моС)
3. Железобетонная монолитная плита плотностью 2500 кг/м3 3=250 мм, с коэффициентом теплопроводности
А =1,92 Вт/(моС)
R0 =RВ +Rж/б +Rутеп +Rраств + Rн =Roтреб
R0 =
м20С/Вт
1/8,7+0,25/1,92 + X/0,22+ 0,02/0,76 + 1/23= 1,45
[1,45-(0,115+0,13 +0,026+0,043)]0,22 = X
X = (1,45-0,314)0,22= 0,249 м
Принимаем ут = 25 см
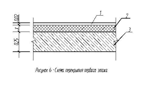
Перекрытие первого этажа: принимаем следующую конструкцию перекрытия первого этажа, теплотехнические характеристики материалов ( рис. 6)
1. Цементно-песчанный раствор плотностью 1800 кг/м3 1=20 мм, с коэффициентом теплопроводности
А =0,76 Вт/(моС)
2. Утеплитель-газобетон плотностью 300 кг/м3 2=Х мм, с коэффициентом теплопроводности
А =0,11 Вт/(моС)
3. Железобетонная монолитная плита плотностью 2500 кг/м3 3=250 мм, с коэффициентом теплопроводности
А =1,92 Вт/(моС)
R0 =RВ + Rраств + Rутеп +Rж/б + Rн =Roтреб
R0 =
м20С/Вт
1/8,7+0,02/0,76 + X/0,11+ 0,25/1,92 + 1/23= 1,15
[1,15-(0,115+0,026 +0,13+0,043)]0,11 = X
X = (1,15-0,314)0,11= 0,9 м принимаем ут = 90 см
5.3 Конструктивное решение здания
Конструктивные решения обусловлены архитектурно – планировочными требованиями и приняты в соответствии с архитектурным заданием.
Здание рамно-связевое из монолитного железобетона с безригельными перекрытиями.
Фундаменты приняты из условия ограничения возможных деформаций для многоэтажной части из кустов свай, для одноэтажных пристроек – плитные фундаменты. Перекрытия – монолитные железобетонные. Кровля – плоская из рулонных материалов, утепленная газобетоном.
Отмостка вокруг здания – бетонная шириной 1000 мм. Стены – из монолитного пенобетона с поэтажным операнием на консоли перекрытий.
Перегородки – кирпичные толщиной 120 мм и на металлическом каркасе с двухсторонней обшивкой гипсокартонными листами в два слоя.
5.4 Решение фасада, внутренняя отделка помещений
Стены из пенобетона покрыты обычной штукатуркой. Основной колер стен –белый. Цоколь и часть первого этажа отделаны плитами из натурального камня по сетке на цементно-песчаном растворе. Остекление принято зеркальными стеклопакетами.
Внутренние стены и потолки после затирки (при необходимости – штукатурки) окрашиваются водоэмульсионной краской СТЭМ-45. В помещениях, где установлено сантехническое оборудование стены отделываются глазурированной плиткой или окрашиваются поливинилацетатной краской ВА-27.
5.5 Инженерное оборудование
Отопление
Отопление помещений корпусов – водяное, местными нагревательными приборами – радиаторами типа МС 140.Систеиы отопления – двухтрубные. Расход тепла на отопление по первой очереди 180000 ккал/час (218 кВт).
Источником теплоснабжения является котельная по ул. Челюскенцев № 7 (резервный источник- стационарная котельная РОК-1находится в теническом здании на территории центра. Котельная оборудована водонагревательными котлами ТВГ-8М, ТВГ-4Р.
Источником водоснабжения являются центральные сети поселка.
Показатели параметров теплоносителей:
-
теплофикационная вода с температурой подающей воды 150 ˚С и обратной 70 ˚С;
-
подающей горячего водоснабжения 65 ˚С и циркуляционной воды 50 ˚С.
Давление в подающей магистрали на выходе из котельной Р=0,55 МПа, давление в обратной магистрали входе в котельную Р=0,45 МПа.
Вентиляция и кондиционирование.
Для создания нормативных параметров воздуха в помещениях предусматривается:
-
общественная вытяжная вентиляция;
-
кондиционирование воздуха.
Количество воздуха для вентиляции и кондиционирования в помещениях определено расчетом в соответствии с требованиями СНиП 2.08.02-89, СНиП 2.04.05-91, пособиям по проектированию учреждений здравоохранения.
По экономическим соображениям и, исходя из надежности работы, приняты автономные кондиционеры японской фирмы “DEIKIN”, работающие в режиме “зима-лето”, поддерживающие в помещении заданную температуру воздуха и очищающие его от пыли. Расход тепла на вентиляцию первой очереди – 195000 ккал/час (226 КВт).
Водоснабжение.
Системы водопровода, канализации водостоков и горячего водоснабжения здания центра реабилитации запроектированы в соответствии с требованиями СниП «Внутренний водопровод и канализация».
Сети водопровода выполнены из полиэтиленовых труб ПНД 150 мм тип Т «питьевая» ГОСТ 18599 – 83.
На проектируемой сети предусмотрены колодцы с отключающими задвижками и пожарными гидрантами из сборного железобетона. Для круглосуточного и бесперебойного водоснабжения, проектируемого здания центра реабилитации, запроектирован бак хозяйственного питьевого запаса воды в техническом помещении емкостью 200м3. Для обеспечения требуемого напора воды (20 м водного столба) принята «частная насосная установка» ГИДРОДЖЕТ JP5 фирмы GRUNDFOS.
Вопрос внутреннего пожаротушения главного корпуса решен от баков противопожарного запаса воды (2 шт. по 14 м3) и группы противопожарных насосов СН 12 – 40 400 Y фирмы GRUNDFOS.
Питьевая вода используется для хозяйственно-питьевых нужд, полив газонов и территории, пожаротушения.
Источником водоснабжения являются основные сети поселка диаметром 300 мм. Напор в сети – 4,0 атм. Учет воды производится водомером ВТ-80,установленным в техническо здании.
Внутренние сети водопровода – кольцевые, укладываются из стальных электросварных труб диаметром 100 мм по ГОСТ 10704-76 и из стальных водогазопроводных труб диаметром 15…50 мм по ГОСТ 3262-75. Пожарные краны устанавливаются в деревянных шкафах, оборудованных двумя огнетушителями.
Канализация.
В соответствии с требованиями, предъявляемыми к качеству сточных вод, запроектированы следующие системы канализации:
-
бытовая;
-
дождевая.
В сеть бытовой канализации сбрасываются стоки от санприборов. Отвод бытовых стоков предусмотрен в существующую сеть фекальной канализации поселка диаметром 300 мм.
На выпуска канализации от санприборов, расположенных в подвале и в колодце здания, устанавливаются электрофицированные задвижки с автоматическим управлением.
Система дождевой канализации запроектирована для отвода дождевых стоков с кровли здания и дождеприемных лотков. Сети канализации укладываются из чугунных и керамических труб с герметизацией стыковых соединений. Характеристика загрязнений в сточных водах соответствует требованиям Горисполкома (решение №362 от 12.07.91 г.).
Электроосвещение.
Электроосвещение выполнено в соответствии со СниП II-4-79 и предусматривает:
-
рабочее напряжение 220 В;
-
аварийное и эвакуационное напряжение 220 В;
-
ремонтное напряжение 42 В.
Аварийное освещение для продолжения работы предусмотрено только в процедурных и электрощитовой. В качестве источников света приняты люминисцентные светильники и лампы накаливания. Выбор светильников произведен в соответствии с условиями среды. Управление рабочим освещением осуществляется выключателями по месту управления эвакуационным освещением централизовано со щита аварийного освещения.
5.3 Расчет железобетонной четырехпролетной рамы
Расчет рамы ведем по оси «В».
Сечение стоек- колонн bxh=40x40 см, сечение ригелей bxh=0,5х( 600+300)х25=450х25 см, где по методу заменяющих рам ширина ригеля равна полусумме двух смежных пролетов.
Ввиду того, что весь каркас здания представляет собой связевую систему, где связями служат железобетонные монолитные стены шахты лифта и лестничных клеток, которые воспринимают все возможные горизонтальные нагрузки ( ветровую и сейсмическую ), то рама будет работать только на вертикальные нагрузки.
















