125455 (593114), страница 2
Текст из файла (страница 2)
4) Кристаллизаторы, предназначенные для охлаждения соответствующих жидких потоков, сопровождающегося выделением кристаллов вещества. В зависимости от температурного режима кристаллизации в этих аппаратах в качестве охлаждающего агента используется вода и специальные хладагенты в виде рассолов, испаряющихся аммиака, пропана и др.
В нефтепереработке кристаллизаторы используются при депарафинизации масел, обезмасливании парафинов и др.
Поверхностные теплообменные аппараты классифицируются в зависимости от их конструкции. К их числу относятся следующие.
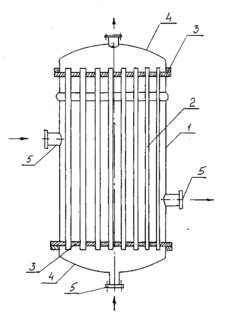
1) Кожухотрубчатые аппараты с неподвижными трубчатыми решетками. Схема данного аппарата представлена на рисунке 1.1. Такие аппараты имеют цилиндрический кожух 1, в котором расположен трубный пучок 2; трубные решетки 3 с развальцованными трубками крепятся к корпусу аппарата. С обеих сторон теплообменный аппарат закрыт крышками 4.
Аппарат оборудован штуцерами 5 для ввода и вывода теплообменивающихся сред; одна среда идет по трубкам, другая проходит через межтрубное пространство.
Существенное различие между температурами трубок и кожуха в этих аппаратах приводит к большему удлинению трубок по сравнению с кожухом, что обуславливает возникновение напряжения в трубной решетке 3, нарушает плотность вальцовки труб в решетке и ведет к попаданию одной теплообменивающейся среды в другую. Поэтому теплообменники этого типа применяют при разности температур теплообменивающихся сред, проходящих через трубки и межтрубное пространство, не более плюс 50 °С и при сравнительно небольшой длине аппарата.
Очистка межтрубного пространства подобных аппаратов сложна, поэтому теплообменники данного типа применяются в тех случаях, когда среда, проходящая через межтрубное пространство, является чистой, неагрессивной, т.е. когда нет необходимости в чистке.
Достоинством аппаратов этого типа является простота конструкции и, следовательно, меньшая стоимость,
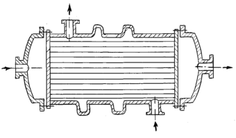
2) Теплообменные аппараты с температурным компенсатором.
Схема этого теплообменного аппарата представлена на рисунке 1.2. Данный теплообменник имеет неподвижные трубные решетки и снабжен устройствами в виде линз для компенсации различия в удлинении кожуха и труб, возникающего вследствие различия их температур.
Теплообменный аппарат с плавающей головкой, изображенный на рисунке 1.3. Является наиболее распространенным типом поверхностных аппаратов.
Подвижная трубная решетка позволяет трубному пучку свободно перемещаться независимо от корпуса. В аппаратах этой конструкции температурные напряжения могут возникать лишь при существенном различии температур трубок.
В теплообменных аппаратах подобного типа трубные пучки сравнительно легко могут быть удалены из корпуса, что облегчает их ремонт, чистку или замену.
3) Теплообменники с U-образными трубками. Схема теплообменника класса представлена на рисунке 1.4. Данные аппараты имеют одну трубную решетку, в которую ввальцованы оба конца U-образных трубок, что обеспечивает свободное удлинение трубок при изменении температуры. Недостатком таких аппаратов является трудность чистки внутренней поверхности труб, вследствие которой они используются преимущественно для чистки продуктов.
4) Теплообменные аппараты с двойными трубками. В таких аппаратах имеются две трубные решетки, размещенные с одной стороны аппарата. В одной трубной решетке развальцованы трубы меньшего диаметра, в другой - трубы большего диаметра, нижние концы которых заглушены. Такая конструкция обеспечивает независимое удлинение труб.
В аппаратах этого типа одна из теплообменивающихся сред поступает через штуцер в пространство между крышкой и верхней трубной решеткой, откуда направляется вниз по трубкам малого диаметра. По выходе из них поток возвращается по кольцевому пространству между трубками, собирается в пространстве между трубными решетками, а затем выводится из аппарата.
В зависимости от типа и числа перегородок описанные выше кожухотрубчатые теплообменники делятся на:
а) одноходовые;
б) двухходовые;
в) многоходовые.
Как в трубном, так и в межтрубном пространстве аппараты с перегородками:
а) продольными и поперечными в межтрубном пространстве;
б) секторными;
в) сегментными;
г) кольцевыми.
1
- корпус; 2 - трубки; 3 - трубная решетка; 4 - крышка; 5 - штуцер.
Рисунок 1.1 - Теплообменный аппарат с неподвижными трубными решетками
Р
исунок 1.2 - Кожухотрубчатый теплообменник с линзовыми компенсаторами 1
Рисунок 1.3 - Кожухотрубчатый теплообменник с плавающей головкой
В зависимости от расположения теплообменных труб различают теплообменные аппараты типов;
а) горизонтального;
б) вертикального.
Эффективность кожухотрубчатых теплообменник аппаратов повышается с увеличением скорости движения теплообменивающихся потоков и степени их турбулентности. Для повышения скорости потоков теплообменивающихся потоков, лучшей обтекаемости поверхности теплообмена и создания большей турбулентности потоков в кожухотрубчатых теплообменных аппаратах применяют специальные перегородки. Увеличение скорости движения жидкости в трубках при неизменной производительности достигается размещением перегородок в крышках распределительной камеры теплообменного аппарата, в связи с чем изменяется число ходов потока жидкости, проходящей через трубки. Схемы поперечных перегородок трубного пучка представлены на рисунке 1.5.
Таким путем могут быть созданы аппараты с любым числом ходов. При помощи продольных перегородок можно изменять число ходов теплоносителя в межтрубном пространстве, тем не менее такие перегородки не получили широкого распространения так как трудно обеспечить герметичность между перегородками и корпусом.
Наибольшее распространение получили сегментные перегородки. Важно, чтобы зазор между внутренней поверхностью кожуха и перегородкой был минимальным, что позволяет сократить утечку жидкости проходящей через межтрубное пространство и не участвующей в теплообмене. Вместе с этим зазор должен быть достаточным для удобства извлечения пучка труб при его ремонте.
Р
исунок 1.4-Кожухотрубчатый теплообменник с U-образными трубками
а
) сегментная; б) секторная; в) кольцевая; г) поперечная в межтрубном пространстве.
Рисунок 1.5 - Типы перегородок
В зависимости от характера направления потока, теплообменные аппараты делятся на:
а) прямоточные;
б) противоточные;
в) смешанного тока;
г) перекрестного тока.
5) Теплообменные аппараты типа "труба в трубе" могут иметь жесткую конструкцию (рисунок 1.6) или быть разборными (рисунок 1.7). В таких аппаратах теплообмен происходит между средами, двигающимися по трубкам и кольцевому пространству, которое образуется между трубами большого и малого диаметров. В аппарате этого типа легче, чем в кожухотрубчатых теплообменных аппаратах обеспечиваются более высокие скорости движения, что позволяет иметь более высокие коэффициенты теплопередачи и значения теплонапряженности поверхности нагрева. Кроме того, в аппаратах типа "труба в трубе" легче обеспечить противоток между теплообменивающимися средами.
Теплообменные аппараты "труба в трубе" состоят из ряда последовательных элементов, образуемых двумя соосными трубками разных диаметров. Один из теплоносителей движется по внутренней трубке, а второй - кольцевом пространстве между наружной поверхностью внутренней трубки и внутренней поверхностью внешней трубки. Элементы соединяются между собой калачами, образуя плоский змеевик любой требуемой длины, прямые участки которого имеют рубашки.
Внешние трубы соединяются посредством патрубков с фланцами, чем создается длинный путь теплоносителя в кольцевом пространстве. Благодаря такому способу соединения отдельных элементов аппарат может быть легко демонтирован для очистки поверхности теплообмена и ремонта.
Кроме жесткого соединения соосных труб каждого элемента, при необходимости частой чистки всех поверхностей применяют разъемное соединение труб. В случае больших разностей температур обоих теплоносителей разъемное соединение труб осуществляется при помощи сальников, обеспечивающих компенсацию термического расширения.
Достоинством рассматриваемых теплообменных аппаратов является возможность создания высоких и даже одинаковых скоростей обоих теплоносителей и, следовательно, больших коэффициентов теплоотдачи. К числу их недостатков относятся большое гидравлическое сопротивление и значительная металлоемкость.
6) Спиральные аппараты. Своеобразной разновидностью поверхностных теплообменных аппаратов является аппарат, принципиальное устройство которого представлено на рисунок 1.8.
Спиральные теплообменники состоят каждый из двух спиральных каналов, навитых из рулонного металла вокруг центральной перегородки (керна), разделяющей полости входа одного и выхода другого теплоносителя. Спирали образуют каналы прямоугольного сечения, боковыми стенками которых служат две тщательно уплотняемые торцевые крышки. Теплоносители движутся по спиральным каналам в противоположных направлениях! один от центра к периферии, другой - от периферии к центру. Ширина прямоугольного сечения канала бывает от 0,2 до 1,5 м, высота - 8 и 12 мм; толщина рулонного листа зависит от рабочего давления аппарата, поверхность теплообмена достигает 100 м2. Крышки аппарата легко снимаются, так что каналы доступны для механической очистки. Благодаря постоянному поперечному сечению каналов по всей их длине и отсутствию резких изменений направления спиральные теплообменники могут применятся для нагревания и охлаждения шламов, жидкостей с взвешенными твердыми примесями, а также высоковязких жидкостей. Достоинствами рассматриваемых аппаратов являются также компактность и небольшие потери тепла в окружающую среду. К их недостаткам относятся высокая стоимость и затруднительность эксплуатации (сложность или даже невозможность ремонта в случае появления течи в сварных швах, местной коррозии и т.п.).В качестве конденсаторов или подогревателей жидкостей и газов конденсирующимися парами спиральные теплообменники не имеют
преимуществ перед другими аппаратами и применяются редко.
Р
исунок 1.8 - Спиральный теплообменный аппарат
7) Пластинчатые теплообменные аппараты. Их удельная рабочая поверхность достигает 1500 мг/м3. Аппарат состоит из набора стягиваемых гофрированных пластин, разделенных эластичными прокладками, образующими изолированные (герметичные) каналы для встречного движения двух теплоносителей. Пластины располагаются с шагом 3-6 мм. Благодаря гофрированной форме пластин каналы имеют волнистые стенки, обусловливающие интенсивную турбулизацию потока и, следовательно, рост коэффициентов теплоотдачи, а также компактное размещение поверхности теплообмена.
Существует множество других форм профиля пластин, часто направленных на увеличение их жесткости путем создания взаимных опор по множеству равномерно расположенных точек.
Каждая пластина имеет большую прокладку по периметру, ограничивающую канал для данного теплоносителя, и два угловых отверстия для его входа и выхода, а также две малые прокладки, изолирующие два других угловых отверстия для прохода второго теплоносителя. Таким образом, в углах стянутого пакета пластин образуются четыре канала для раздельного входа и выхода обоих теплоносителей. Аппарат может работать не только с параллельным распределением потоков по всем каналам; при необходимости каждый поток может проходить последовательно через все каналы или отдельные группы их. Достоинством рассматриваемого аппарата, помимо компактности и интенсивности теплообмена, является возможность полной его разборки для механической очистки. К числу недостатков относятся необходимость очень тщательной сборки для герметизации большого числа каналов, а главное - ограниченная тепловая и коррозионная стойкость доступных прокладочных материалов.















