62836 (588844), страница 2
Текст из файла (страница 2)
где прочие потери Апроч приняты равными 1 дБ.
9. При известной мощности передатчика Рпд=33 дБм определяется средняя мощность принимаемого сигнала
2.2 Определение мощности шума в верхнем телефонном канале и отношения сигнал/шум в телевизионном канале
Мощность шума Рш в телефонном канале на интервале РРЛ в общем виде может быть представлена суммой
(2.3)
Где Рш апп = 385пВт — мощность тепловых шумов (Ршт) и шумов нелинейных переходов (Ршн), вносимых аппаратурой (приемопередатчиком, модуляторами и демодуляторами и стойками управления горячим резервированием УГР); Ршнавт = 40пВт— мощность переходных шумов, возникающих из-за отражений энергии электромагнитной волны в антенно-волноводном тракте (АВТ); Ршн пза=20пВт— мощность переходных шумов, вызванных недостаточной величиной защитного действии антенн; Ршмн=0пВт — мощность шума, вызванного многолучевым распространением волн; Ршт доп = 16пВт — мощность тепловых шумов, обусловленных изменением дополнительных потерь системы на интервалах РРЛ.
Мощности шума Рш апп и Ршнавт, вносимые аппаратурой, определяются ее составом и конструктивными особенностями и обычно не рассчитываются, а определяются экспериментально. В табл. 4.4.2 [1] приведены значения псофомет-рической мощности основных составляющих шума в верхнем телефонном канале для некоторых отечественных радиорелейных систем при использовании предыскажений, рекомендованных МККР (табл. 4.3.1[1]).
Величина переходных шумов, вызванных недостаточной помехозащищенностью антенн при работе системы по двухчастотному плану распределения рабочих частот Ршн пза, может быть определена с помощью рис. 3.2.5 [1].
Из-за отсутствия ясного представления о характере местности вблизи площадок радиорелейных станций при определении вероятности помехозащищенности антенн принимают наиболее жесткие условия защищенности (например, для 1% вероятности превышения значений помехозащищенности). При этом, учитывая, что в системе Р-600 используется различный вид поляризации волн при передаче в прямом и обратном направлениях, помехозащищенность антенн можно принять равной 60—65 дБ. Мощность первых трех слагаемых шума можно считать постоянной для данного интервала РРЛ, так как она не зависит от условий распространения радиоволн.
Что касается мощности шума, обусловленного многолучевым распространением, то вероятность ее появления пренебрежимо мала даже на морских трассах РРЛ средней протяженности, оборудованных аппаратурой Р-600.
Мощность шума Ршт доп является случайной величиной, зависящей от уровня сигнала на входе приемника.
Используя выражение (2.3) расчитываем значение мощности шума Рш в телефонном канале на интервале РРЛ
2.3 Определение устойчивости каналов радорелейной линии связи
Устойчивость связи на РРЛ оценивается временем превышения псофометрической мощности шума на выходе линии, равной Рш макс =47 500 пВт — для верхнего телефонного канала или отношения уровня взвешенного шума к уровню видеосигнала (Uш/Uс)=-49 дБ - для телевизионного канала. Иными словами, устойчивость связи определяется временем превышения допустимых дополнительных потерь Адоп макс, зависящих от требований, предъявляемых к качественным показателям каналов РРЛ.
Допустимые дополнительные потери для телевизионных и телефонных каналов определяли по ф-лам (4.3.7) и (4.3.11) [1].
Расчет времени превышения Адоп макс производили по следующей методике:
а. Определили Т0(Vi мин) процент времени, в течение которого Адоп> Адоп макс за счет экранирующего действия препятствий на трассе при увеличении вертикального градиента диэлектрической проницаемости g.
Для этого:
1) определив Адоп макс и зная коэффициент μ (табл. 4.4.1 [1]), с помощью кривых рис. 3.4.11[1] нашли величину нормированного просвета р(g);
2) по ф-лам (3.4.23) и (3.4.24) [1] определили приращение просвета ∆Н(g);
3) по ф-ле (3.4.22) [1] нашли величину вертикального градиента диэлектрической проницаемости g, соответствующую полученному приращению просвета;
4) с помощью кривой рис. 4.4.2 [1] определили процент времени превышения допустимых дополнительных потерь Т0(Vi мин).
Результаты расчета Т0(Vi мин) приведены в табл. 2.3.
б. Определили процент времени, в течение которого Адоп> Адоп макс за счет интерференции прямой волны и волн, отраженных от земной поверхности
-∑Tn(Vi мин)
Для этого:
1) проверили выполнение критерия Рэлея;
2) по ф-лам (3.4.8) и (3.4.9) [1] определили для каждого интервала размеры х и у области формирования отраженного луча ;
3) воспользовавшись данными табл. 4.4.1, по ф-ле (3.5.7) [1] или кривым рис. 3.5.8 [1] нашли параметр А;
Таблица 2.3
| Параметр | Значение на интервале | |
| телефония | телевидение | |
| Адоп макс, дБ | 33.9 | 34,6 |
| μ | ∞ | ∞ |
| р(g) | -4 | -4 |
| Н(0), м | 15 | 15 |
| Н0, м | 7,5 | 7,5 |
| ∆Н(g), м | -45 | -45 |
| g, 1/м | 35*10-8 | 35*10-8 |
| Т0(Vi мин) | 0 | 0 |
4) по кривым рис. 3.5.9 [1], используя данные табл. 4.4.1 [1], определили функцию f[A, p(g)];
5) по ф-ле (3.5.20) [1] нашли время превышения допустимых дополнительных потерь ∑Tn(Vi мин). Результаты расчета приведены в табл. 2.4.
Таблица 2.4
| Параметр | Значение на интервале | |
| телефония | телевидение | |
| Размеры элипса | ||
| ось x, м | 18 | - |
| ось y, м | 30 | - |
| ∆h, м | Пересечённый рельеф | - |
| p(g) | 2 | - |
| А | 2.1 | - |
| f[A, p(g)] | 0.07 | - |
| ∑Tn(Vi мин) | 0 | 0 |
в. Определили процент вреемни, в течение которого Адоп> Адоп макс из-за отражений от слоистых неоднородностей Tсл(Vi мин). Для этого, согласно методике § 3.5 [1] по графику рис. 3.5.11 [1] определили вероятность t(∆ε<-λ/r0). Затем по ф-лам (3.5.30) [1] рассчитывается величина Tсл(Vi мин). Результаты расчетов сведены в табл. 2.5.
Таблица 2.5
| Параметр | Значение на интервале | |
| телефония | телевидение | |
| Адоп макс, дБ | 33.9 | 34,6 |
| λ(r0)*106 | 2.15 | - |
| t(∆ε<-λ/r0), % | 100 | - |
| Tсл(Vi мин), % | 0.041 | 0.035 |
Итоги расчёта устойчивости связи иллюстрирует табл.2.6
Таблица 2.6
| Параметр | Значение на интервале | |
| телефония | телевидение | |
| Т0(Vi мин) | 0 | 0 |
| ∑Tn(Vi мин) | 0 | 0 |
| Tсл(Vi мин), % | 0.041 | 0.035 |
| T (Vi мин)= T+∑Tn+ Tсл На линии без учёта работы резервного ствола С учётом работы резервного ствола | 0.349+0.015 0.0168 | 0.308+0.004 0,0054 |
2.4 Расчет конструктивно – энергетических параметров трасс с пассивными ретрансляторами
Закрытая горная траса имеет профиль гребня хребта в плоскости хребта горизонтали рис. 2.2 – 2.3.
Требуется рассчитать пассивный ретранслятор в виде плоского непрозрачного экрана и дифракционной линзы для волны =0,2 м., устанавливаемый на вершине гребня хребта (вдоль трассы); определить выигрыш по напряженности поля, который получается при установке дифракционной линзы. Множитель ослабления составляет - 67 Дб. Дать оценку устойчивости работы интервала с применением пассивной ретрансляции. Для расчетов взять оборудование Р-6002М. Среднюю длину волны рабочего диапазона =8,2 см.
Рис. 2.2 – Профиль горной трассы
Рис. 2.3 – Профиль гребня хребта
При установке на вершине гребня пассивного ретранслятора в виде плоского непрозрачного экрана (прямой сетки) множитель ослабления будет определяться
Таким образом, установка пассивного ретранслятора в виде плоского непрозрачного экрана даёт выигрыш
Определим размеры павссивного ретранслятора
Выбираем высоту сетви 6.5м. Ширину сетки определим согласно выражению
Производим расчёт размеров пассивного ретранслятора в виде дифракционной линзы. Ширина первой зоны Фринеля составит
Выбираем ширину дифракционной линзы равной 148 м. При высоте Н=950 м высота сегмента линзы составит hс=2,94 м, а длина дуги сегмента l'=149 м.
Дифракционную линзу выбираем с круговым профилем с высотой сегмента hс =2,94 м и шириной 148 м. Ретранслятор при указанных размерах по сравнению с ретранслятором, выполненным в виде прямой сетки, дает выигрыш в напряженности поля в два раза или в 6 дБ. Суммарный выигрыш по напряженности поля при установке пассивного ретранслятора в виде ди-фракционной линзы составит 28,8+6 = 34,8 дБ.
Геометрия рассматриваемого интервала трассы (рис. 2.4) характеризуется следующими данными: r0 = 65,5 км, r 01=44,0 км, r 02=21,5 км, r '01 = 14,2 км, r '02 = = 1,9 км. Относительные координаты препятствий
Рис.2.4- Геометрия рассматриваемого интервала трассы
Для обеспечения прямой видимости между активными станциями РРЛ, расположенными в пунктах А и Б (рис. 2.4), необходимо использовать антенные опоры высотой более 100 м. С целью снижения высот антенных опор на данном интервале устанавливается пассивный ретранслятор типа препятствия. По условиям рельефа пассивный ретранслятор целесообразно установить на высоте, расположенной на расстоянии 44 км от пункта А.
Для расчета высот антенных опор активных станций определяем Н01 и Н02
Определяем
и
, считая, что
Рассчитываем Н1 и Н2
Далее согласно рис. 2.4 определяем высоты антенных опор активных станций:
Проведём оценку устойчивости связи на интервале с пассивной ретрансляцией.
Сначала определяем множитель ослабления при средней рефракции
Предварительно рассчитываем эффективную площадь ретрансляции, считая, что
По известным параметрам аппаратуры определяется
. Для данного-интервала считаем
= -34,4 дБ. По известным значениям V и
вычисляем энергетический запас в децибелах на замирания сигнала
=
—
= -34,4 - (-14,1) = -20,3 дБ.
По графику рис. 4.6.12 [9] оцениваем устойчивость работы интервала: 100% - -0,2%=99,8%. Для повышения уровня сигнала увеличиваем горизонтальный раз мер ретранслятора до 85 м, т. е. 2a=l,45*Ls = 1,45*58,5=85 м. При этом эффективная площадь ретранслятора Sэфф= 342 м2 и
=-10,8 дБ. Устойчивость работы при таком ретрансляторе повышается до ~ 99,9%.
3. РАСЧЁТ ЭнергетичЕСКИХ параметрОВ системЫ тропосферноЙ радИорелейноЙ СвязИ
Открытие эфекта дальнего тропосферного распространения СВЧ позволило создать тропосферные линии (ТРЛ) с расстояниями между соседними станциями 200…350 км, а при отдельных благоприятных условиях распространения – 600…800 км. В этих системах применяются передающие устройства мощностью 1…10 кВт и более в непрерывном режиме, приёмные устройства с малошумящими параметрическими усилителями с температурой
шума 100…200 К, антен площадью до 1000 м2, а также ряд систем борьбы с завмираниями сигнала, вызванными многолучевой структурой сигнала.
Основные особенности дальнего тропосферного распространения радиоволн СВЧ диапазонов состоят в значительно большем (на 60…100 дБ) медианном затухании сигнала и наявности быстрых и медленных замираний по сравнению с затуханнием в свободном пространстве.
Мощность сигнала на входе приёмника ТРЛ определяется формулой
, (3.1)
где F1 – медианное значение множителя ослабления поля по напряженности;
- множитель, который характеризует медленные колебания напряженности поля,
- множитель, который характеризует быстрые колебания напряженности поля.
Значения множителей
определяются по графикам, которые приведены на рисунках.
Рис. 3.1- Кривые распределения вероятностей превышения некоторого минимального уровня (в децибелах относительно медианного уровня при приёме на одну антенну) при приёме на n разнесенных антенн (F3)
Рис.3.2 - Зависимость медианных значений множителя ослабления от расстояния F1 в дБ
Рис.3.2 - Кривые распределения вероятностей превышения минимального уровня, которые характеризуют медленные колебания уровня принимаемого сигнала (F2)
Исходные данные для расчёта энергетических параметров системы тропосферной радиорелейной связи приведены в табл.3.1
Таблица 3.1 – Исходные данные
| R [км] | f0 [ МГц] | Pпер, [кВт] | Dпер [дБ] | Dпр [дБ] | G % |
| 500 | 600 | 100 | 40 | 40 | 99.8 |
Задание
Тропосферная система радиосвязи предназначена для работы на трассе длиной R на частоте f0 при мощности передатчика Рпер и коэффициентах направленного действия передаточных и приемных антенн Dпер и Dпр и должна обеспечивать заданную надежность связи G. Определить мощность сигнала на входе приемника.
Решение. Мощность сигнала на входе приемника определяется по формуле
,
где F1 – медианное значение множителя ослабления поля по напряженности; F2 – множитель, который характеризует медленные колебания напряженности поля; F3 - множитель, который характеризует быстрые колебания напряженности поля.
Значения множителей F1, F2, F3 определяются по графикам (рис.3.1-3.3).
F1 = - 88 дБ, F2 = - 12 дБ, F3 = - 27 дБ,
F1 + F2 + F3 = - 127 дБ, F1.F2.F3 = 10 -6,35,
(F1.F2.F3)2 = 10 – 12,7 = 1,995.10-13.
Pпр. =
4. РАСЧЁТ ЭнергетичЕСКИХ параметрОВ системЫ РАДИОСВЯЗИ Увч И Свч дИапазонОв, РАЗМЕЩЁННЫХ на ОТКРЫТОЙ МЕСТНОСТИ в ПРИДЕЛАХ прямоЙ видимостИ
Расстояние радиогоризонта в условиях нормальной атмосферной рефракции вычисляется по формуле
,
(4.1)
где
- высота подъёма передающей радиоантенны,
- высота подъёма приёмной радиоантенны.
Если расстояние между передающей и приемной станциями меньше, чем радиус радиогоризонта, для вычисления напряженности поля необходимо использовать формулу Введенского
(4.2)
где
- действующее значение напряженности поля в точке приёма, Р – мощность радиопередатчика, D – коэффициент усиления передающей антенны,
- высота подъёма передающей радиоантенны,
- высота подъёма приёмной радиоантенны, R – расстояние связи, - длина волны.
Исходные данные для расчёта энергетических параметров системы радиосвязи приведены в табл.4.1-4.2
Таблица 4.1 – Исходные данные для выполнения Задания 1
|
| D, дБ |
|
|
| R, км |
| 10 | 5 | 150 | 5 | 2 | 99.8 |
Таблица 4.2 – Исходные данные для выполнения Задания 2
|
| R, км | P, кВт | Dпер ,дБ | Dпр ,дБ | hпр ,м | f0, МГц |
| 10 | 25 | 0,1 | 14 | 2 | 1.5 | 100 |
Задание 1
Определить необходимую мощность радиопередатчика системы связи Р, если заданы такие параметры: реальная напряженность поля в точке приёма
, коэффициент усиления антенны передатчика D, несущая частота
, высоты подъёма передающей и приемной антенны
, расстояние между пунктами связи R.
Решение
Расстояние радиогоризонта в условиях нормальной атмосферной рефракции вычисляется по формуле
пр[M]) = 15 км.
Поскольку заданное расстояние R < Rгор., для вычисления напряженности поля можно воспользоваться формулой Введенского
Задание 2
Вычислить необходимую высоту подъёма антенны радиопередатчика hпер цифровой системы связи, если заданы расстояние связи R , мощность передатчика P, коэффициент усиления приемной антенны Dпер, коэффициент усиления приемной антенны Dпр, высота подъёма приемной антенны hпр, несущая частота системы f0.
Решение
Необходимую высоту подъёма антенны радиопередатчика будем определять из формулы Введенского дополненной коэффициентом затухания F, которое учитывает потери в застройке
.
Расчитываем длину волны, распространяющейся в радиоканале
Расчитываем высоту подъёма антенны радиопередатчика
5. ПРОЕКТИРОВАНИЕ УСТРОЙСТВ СУММИРОВАНИЯ И РАЗДЕЛЕНИЯ СИГНАЛОВ НА ВХОДЕ АНТЕННО-ФИДЕРНОГО ТРАКТА РАДИОРЕЛЕЙНЫХ И СПУТНИКОВЫХ УСТРОЙСТВ
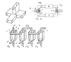
При передаче сигнал с частотой f’4 от передатчика ПД4 (рис. 5.1) через полосовой фильтр поступает на вход циркулятора Ц’4, где обеспечивается его передача из плеча 1 в плечо 2 и затем в плечо 3 циркулятора Ц’3. Поскольку в плечо 1 циркулятора Ц’3 включен фильтр, настроенный на частоту f’3, пришедшие колебания с частотой f’4 отразятся от него и поступят в плечо 2 данного циркулятора. Сигнал с частотой f’3 от передатчика ПД3 через полосный фильтр поступает на вход 1 циркулятора Ц’3 и проходит в направлении плеча 2. Таким образом на вход 3 циркулятора Ц’2 поступят сигналы двух передатчиков с частотами f’4 и f’3. По вышеописанной схеме они попадают на выход 2 этого циркулятора, где к ним добавится сигнал с частотой f’2 передатчика Пд2.
Аналогичная картина будет иметь место и в церкуляторе Ц’1, на выходе которого образуется суммарный сигнал, состоящий из сигналов четырех передатчиков с частотами f’1…f’4. Через поляризационный селектор ПС этот суммарный сигнал поступает в антенну и излучается. Нагрузка ПН1 служит для поглощения волны, возникшей из-за недостаточной согласованности между соседними циркуляторами, например Ц’4 и Ц’3. Отраженный сигнал проходит в направлении от плеча 2 к плечу 3 Ц’4 и попадает в ПН1.
Принятые антенной сигналы с частотами f1…f4 через ПС поступают в плечо 1 циркулятора Ц1. Поскольку полосный фильтр в его плече 2 настроен на частоту первого ствола, то сигнал с частотой f1 поступит в приемник ПМ1, а остальные отразятся и через плечо 3 пройдут на вход 1 Ц2. Здесь выделится сигнал с частотой f2, и так далее, пока не будут выделены сигналы всех стволов.
Из антенны наряду с полезными сигналами в РОС поступают также сигналы других станций, которые отражаются от фильтра четвертого ствола и через плечи
Рисунок 5.1.
2 и 3 Ц4 попадают в нагрузку ПН1, где и поглощаются. Для улучшения согласования устройства РОС с АФТ включаются дополнительные циркуляторы ЦД.
Разделительное устройство стволов на полосовых фильтрах состоит из полосовых фильтров и двойных тройников (рис.5.2).
Рисунок 5.2 – Конструкция разделительного устройства стволов на полосовых фильтрах
Двойной тройник, показанный на рис. 5.2, a, обладает следующими свойствами. Если источник энергии подключить к плечу Г, то в симметричных плечах А и B волны равной амплитуды будут распространяться с одинаковыми фазами. При подаче энергии в плечо Б тройника энергия также будет делиться поровну между плечами А и B, но волны в них будут распространяться в противофазе. Если колебания поступают в тройник из плечей А и B в фазе, то они попадают в плечо Г, если же приходят в противофазе – то в плечо Б. Эти свойства двойного тройника используются в звене раздельного устройства изображенного на рис.5.2,б.
Звено включает в себя два двойных тройника Т, полосовые фильтры Ф1 и Ф2, широкополосный и узкополосный фазовращатели ФВш и ФВу. Полосовые фильтры звена настроены на частоту, например на f1. Колебания с частотами других стволов фильтры отражают. Каждый из ФВ создает сдвиг на 900.
Рассмотрим работу одного звена (рис.5.2,б). Пусть на вход Б левого тройника поступают сигналы с частотами f1…,f4. По описанному выше правилу они пройдут в плечи А и B со сдвигом фаз на 1800.
Сигнал с частотой f1 c выхода B левого тройника пройдет через ФВш, Ф1,ФBy и поступит в плечо B’ правого тройника. Сигнал с выхода А левого тройника через Ф2 попадает на вход А’ правого. Поскольку между B и B’ включены ФВш, Ф1 и ФВу, а между А и А’ только Ф, то волны в плечах A’ и B’ будут иметь одну фазу и поэтому колебания поступают в плечо Г’ и далее в приемник, настроенный на f1. Отразившиеся от Ф1 и Ф2 волны с частотами f2f4 приходят в плечи А и B также в фазе и поступают в плечо Г левого тройника и далее в следующее звено,
где произойдет выделение сигналов второго ствола, и т.д. Если часть энергии, приходящей через плечи А’ и B’ правого тройника, вследствие неполной симметрии звена попадает в плечо Б’, то эта энергия будет поглощена нагрузкой Н. Такое разделительное устройство применено в ранее выпускавшейся системе передачи «Р-600».
Используя необходимое количество Y циркуляторов и двойных волноводных тройников спроектировали устройство способное производить взаимодействие с шестью сигналами f1,f2,f3,f4,f5,f6, которые поступают и излучаются в различной комбинации пирамидально-рупорной антенной через устройство управление поляризацией. В соответствии с номером варианта спроектировали устройство, которое выполняет функцию: в режиме передачи последовательности f1,f2,f3,f4,f5,f6 выделяется cумма сигналов f2, f4,f6 и без изменения сдвига фаз с последующим разделением на два противофазных сигнала поступает на передатчик.
Изобразили графически разработанное устройство в программе АВТОКАД используя обозначения указанные на рис.5.1-5.2.
Разработанное устройство приведено в Приложении А.
ВЫВОДЫ
Радиорелейные лиши (РРЛ) являются одним из основных видов современных средств связи. Каналы связи, образованные РРЛ, используются для передачи на дальние расстояния сигналов многоканальной.телефонии, телевизионного и звукового вещания, телеграфных и фототелеграфных сигналов, сигналов аппаратуры передачи данных. Радиорелейные линии широко используются на магистральных направлениях и ответвлениях от магистралей, в сетях внутриобластной связи, для организации связи вдоль железных дорог, в энергосистемах. Широкое применение РРЛ нашли для коммерческой связи и для обмена программами вещания и телевидения между различными странами.
Качественные показатели каналов связи, организованных по РРЛ, должны соответствовать рекомендациям Международного консультативного комитета по телефонии и телеграфии (МККТТ) Международного консультативного комитета по радио (МККР).
Качественные показатели каналов связи РРЛ зависят от многих факторов, в том числе от электрических характеристик используемой аппаратуры, протяженности линий, условий распространения радиоволн на трассе. Естественно, что все эти факторы должны быть учтены при определении качественных показателей каналов РРЛ вновь строящихся и реконструируемых или находящихся в эксплуатации (в последнем случае производится поверочный расчет качественных показателей). Строительство и реконструкция существующих РРЛ ведется по соответствующим техническим проектам.
В ходе выполнения данного курсового проекта ознакомились с основными вопросами проектирования антенно-фидерных устройств микроволнового диапазона радиорелейных и спутниковых линий связи; в соответствии с ТЗ произвели расчёт основных параметров электромагнитных волн в свободном пространстве и в проводящих средах, определили качественные показатели телефонных и телевизионных каналов на участке радиорелейного канала связи, рассчитали енергетические параметры системы тропосферной радиорелейной связи. В соответствии с номером варианта спроектировали устройство, которое выполняет функцию: в режиме передачи последовательности f1,f2,f3,f4,f5,f6 выделяется cумма сигналов f2, f4,f6 и без изменения сдвига фаз, с последующим разделением на два противофазных сигнала поступает на передатчик. Спроектированное устройство соответсвует всем требованиям ТЗ.
ПЕРЕЧЕНЬ ССЫЛОК
1. Проектирование и расчет радиорелейных линий связи .Учебное пособие для вузов связи под ред. Е.В. Рыжкова. М. «Связь» 1975. – 262с.
2. Радиорелейные и спутниковые системы передачи . Учебник для вузов под. ред. Немеровского М. Связь. 1989г. -365с.
3. Державний стандарт України. Документація. Звіти у сфері науки і техніки. Структура і правила оформлення.
















