47143 (588466), страница 3
Текст из файла (страница 3)
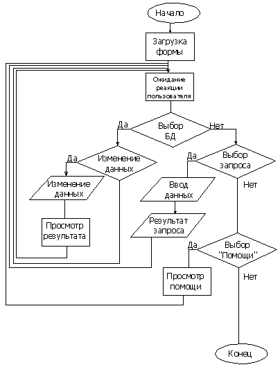
Рис. 2.2.2.1 Алгоритм работы программы «Информационная система гостиничного комплекса»
2.3 Разработка интерфейса программы
2.3.1 Понятие интерфейса.
Интерфейс – совокупность средств и правил, которые обеспечивают взаимодействие устройств, программ и человека.
2.3.2 Виды интерфейсов.
Пользовательский интерфейс – представляет собой совокупность программных и аппаратных средств, обеспечивающих взаимодействие пользователя с компьютером.
Справочный интерфейс пользователя предназначен для вывода справок о предметной области, составе и состоянии модели предметной области, допустимых действиях пользователя в различных состояниях программы.
Конкретный набор справочных функций определяется особенностями задач, решаемых программой, типом модели предметной области и способом внешнего управления программой.
Интерфейс управления предназначен для ввода управляющей информации пользователем программы. На модули этого интерфейса целесообразно возложить контроль вводимой информации, чтобы исключить явные ошибки пользователя.
В большинстве случаев при разработке интерфейса управления приходиться искать разумный компромисс между сложностью модулей интерфейса и простой работы пользователя.
Информационный интерфейс предназначен для вывода сообщений об ошибках и особых ситуациях, возникающих в процессе работы программы.
Информационный интерфейс в отличии от интерфейса управления является односторонним. Пользователь реагирует на сообщения об ошибках через интерфейс управления.
Интерфейс ввода – вывода. Данные для решения задач могут вводиться из заранее подготовленных файлов или же непосредственно пользователем программы с клавиатуры.
В программах более широкого назначения пользователь сам определяет, значение каких данных он будет водить, а какие данные требуется вычислить.
Выводить можно только такие данные, которым присвоены значения в результате выполнения обрабатывающих модулей или при вводе данных.
Внешний интерфейс должен обеспечить ввод данных из файлов или базы данных или вывод данных в файл (базу данных).
К функциям внешнего интерфейса можно отнести действия по сохранению состояния программы и данных при временном прерывании работы с программой, когда нужно обеспечить продолжение работы, начиная с сохраненного состояния.
Типы интерфейсов:
- Процедурно-ориентированные интерфейсы используют традиционную модель взаимодействия с пользователем, основанную на понятиях «процедура» и «операция». В рамках этой модели программное обеспечение предоставляет пользователю возможность выполнения некоторых действий, для которых пользователь определяет соответствующие данные и следствием выполнения которых является получение желаемых результатов.
- Объектно-ориентированные интерфейсы используют несколько иную модель взаимодействия с пользователем, ориентированную на манипулирование объектами предметной области. В рамках этой модели пользователю предоставляется возможность напрямую взаимодействовать с каждым объектом и инициировать выполнение операций, в процессе которых взаимодействуют несколько объектов.
Различают процедурно-ориентированные интерфейсы трех типов: примитивные, меню и со свободной навигацией.
Примитивным называют интерфейс, который организует взаимодействие с пользователем в консольном режиме. Обычно такой интерфейс реализует конкретный сценарий работы программного обеспечения задачи.
Интерфейс-меню в отличие от примитивного интерфейса позволяет пользователю выбирать необходимые операции из специального списка, выводимого ему программой. Эти интерфейсы предполагают реализацию множества сценариев работы, последовательность действий в которых определяется пользователем.
Различают одноуровневые и иерархические меню. Первые используют для сравнительно простого управления вычислительным процессом, когда вариантов немного (не более 5-7), и они включают операции одного типа. Вторые – при большом количестве вариантов или их очевидных различиях.
Интерфейсы со свободной навигацией также называют графическими пользовательскими интерфейсами. Графические интерфейсы поддерживают концепцию интерактивного взаимодействия с программным обеспечением, осуществляя визуальную обратную связь с пользователем и возможность прямого манипулирования объектами и информацией на экране. Кроме того, интерфейсы данного типа поддерживают концепцию совместимости программ, позволяя перемещать между ними информацию.
Объектно-ориентированные интерфейсы пока представлены только интерфейсом прямого манипулирования. Этот тип интерфейса предполагает, что взаимодействие пользователя с программным обеспечением осуществляется посредством выбора и перемещения пиктограмм, соответствующих объектам предметной области.
При проектировании пользовательских интерфейсов необходимо учитывать психофизические особенности человека, связанные с восприятием, запоминанием и обработкой информации.
Особенности восприятия цвета. Следует иметь в виду, что обилие оттенков привлекает внимание, но быстро утомляет. Необходимо учитывать и индивидуальные особенности восприятия цветов человеком.
Особенности восприятия звука. В интерфейсах звук обычно используют с разными целями: для привлечения внимания, как фон, обеспечивающий некоторое состояние пользователя, как источник дополнительной информации и т. п. Применяя звук, следует учитывать, что большинство людей очень чувствительны к звуковым сигналам. Поэтому при создании звукового сопровождения целесообразно предусматривать возможность его отключения.
Субъективное восприятие времени. Человеку свойственно субъективное восприятие времени. Считают, что внутреннее время связано со скоростью и количеством воспринимаемой и обрабатываемой информации.
В конечном итоге взаимодействие пользователя с интерфейсом будет определяться не только физическими возможностями и особенностями человека по восприятию, обработке и запоминанию информации, представленной в различных формах, а также по выполнению им разнообразных действий, но и пользовательской моделью интерфейса.
2.3.3 Разработка интерфейса базы данных «Информационная система гостиничного комплекса».
При разработке программы «Информационная система гостиничного комплекса» были учитаны основные требования пользовательского интерфейса.
При загрузке программы открывается главное окно, через которое пользователь имеет возможность перейти на любую таблицу через пункт «Меню».
На экране расположена информация, которую пользователь обрабатывает в данный момент. После выбора необходимого пункта меню открывается окно с базой данных. В данном окне пользователь может просматривать таблицу, производить необходимые изменения (добавлять, изменять и удалять записи). Таблицы и средства редактирования расположены по центру, в привычном для пользователя местах. При работе со средствами редактирования осуществляется помощь пользователю в виде всплывающих подсказок.
Также на главном окне расположено меню со всеми запросами, где осуществляется выбор необходимого запроса и его выполнение.
Интерфейс разработан таким образом, что бы пользователю было интуитивно понято, как работать с программой.
2.4 Выбор и обоснование среды программирования
В настоящее время существует огромное количество сред и языков программирования. При выборе среды программирования необходимо учитывать много факторов, главными из них являются: выполнение поставленных задач, понятный и удобный пользовательский интерфейс.
Язык программирования – это способ записи программ решения различных задач на ЭВМ в понятной для компьютера форме.
Для решения поставленной задачи можно использовать языки программирования Паскаль и Delphi.
Паскаль – процедурно-ориентированный язык высокого уровня. Изначально был разработан как учебный язык структурного программирования. В дальнейшем была разработана система программирования Турбо Паскаль, которая является не только языком и транслятором, но и операционной оболочкой. Турбо Паскаль стал языком профессионального программирования с универсальными возможностями. В дальнейшем Турбо Паскаль вышел за рамки учебного предназначения и стал языком профессионального программирования. В последствии Паскаль стал основой многих современных языков программирования.
Delphi – объектно-ориентированный язык высокого уровня, созданный на основе языка Паскаль. Он обладает большими возможностями, как в решении задач, так и в представлении пользовательского интерфейса. Система Delphi позволяет писать и крохотные программы, утилиты для персонального использования, и корпоративные системы, работающие с базами данных на разных платформах. При этом обеспечивается совместимость приложений при выходе новых версий Delphi – как друг с другом на уровне исходных текстов, так и с модифицированными версиями стандартных протоколов и технологий благодаря библиотеке независимых и легко настраиваемых компонентов.
Язык программирования Delphi дает огромные возможности по решению задач, так как разработчики данной среды постоянно анализируют мировые тенденции развития информационных технологий, добавляя в среду только те, которые действительно могут стать ключевыми. В связи с этим создаются новые и более усовершенствованные версии Delphi, с учетом возникающих потребностей пользователей.
В состав Delphi входят более ста компонентов. С их помощью можно создавать приложения для решения многих задач. При необходимости программист может разработать и собственные компоненты, например, когда имеющиеся компоненты не совсем подходят для решения поставленной задачи или нужный компонент просто отсутствует.
В данной работе используется язык программирования Delphi. Он позволяет реализовать все необходимые задачи и дает возможность предоставления удобного и достаточно простого интерфейса.
2.5 Тестирование программы
2.5.1 Понятие процесса тестирования.
Тестирование – это процесс, направленный на выявление ошибок.
Процесс тестирования включает:
- действия, направленные на выявление ошибок;
- диагностику и локализацию ошибок;
- внесение исправлений в программу с целью устранения ошибок.
Большая трудоемкость тестирования и ограниченные ресурсы приводят к необходимости систематизации процесса и методов тестирования. Включенные методы тестирования направлены на обнаружение максимального числа ошибок в наиболее важных режимах функционирования программ при ограниченных ресурсах.
2.5.2 Виды и методы тестирования.
Статическое тестирование – базируется на правилах структурного построения программ и обработки данных. Операторы и операнды текста программы анализируются в символьном виде.
Детерминированное тестирование – требует многократного выполнения программы на ЭВМ с использованием определенных, специальным образом подобранных тестовых наборов данных.
Стохастическое тестирование – предполагает использование в качестве исходных данных множества случайных величин с соответствующими распределениями, а для сравнения полученных результатов используются также распределения случайных величин.
Тестирование в реальном масштабе времени – в процессе тестирования проверяются результаты обработки исходных данных с учетом времени их поступления, длительности и приоритетности обработки, динамики использования памяти и взаимодействия с другими программами.
Каждый из рассмотренных методов тестирования не исключает последовательного применения другого метода, скорее наоборот, требование к повышению качества программного изделия предполагает необходимость подвергать их различным методам тестирования.
Наиболее эффективным методом тестирования является детерминированное тестирование.
Детерминированное тестирование основывается на двух подходах: структурное тестирование и функциональное тестирование.
Структурное тестирование предполагает детальное изучение текста программы и построение таких входных наборов данных, которые позволили бы при многократном выполнении программы на ЭВМ обеспечить выполнение максимально возможного количества маршрутов, логических ветвлений, циклов.
Критерии тестовых наборов:
- покрытие операторов – тесты подбираются так, чтобы каждый оператор выполнялся хотя бы один раз;
- покрытие решений (переходов) – тесты должны обеспечить проверку каждого условия, так чтобы они принимали значение «истинно» или «ложно»;
- покрытие условий – необходимо, чтобы результат каждого условия был выполнен хотя бы один раз и каждой точке входа в программу должно быть передано управление при вызове, по крайней мере, один раз;
















