151521 (580602), страница 5
Текст из файла (страница 5)
Пустив машину с подшипниками скольжения, наблюдают за работой смазочного кольца: оно должно вращаться плавно и подавать масло на шейку вала. Шариковые и роликовые подшипники должны работать без шума.
Во время пробного пуска измеряют вибрацию электродвигателей, характеризуемую амплитудой, которую измеряют вибрографом.
Амплитуда вибрации не должна превышать следующие значения
| Частота вращения, об/мин | 3000 | 1500 | 1000 | 750 и ниже |
| Величина амплитуды вибрации, мм | 0,05 | 0,1 | 0,13 | 0,16 |
По истечении 30 мин работы на холостом ходу машину останавливают и, приняв меры предосторожности, исключающие пуск ее в работу, тщательно осматривают и ощупывают доступные для этого части, чтобы выявить местные нагревы и другие неисправности.
При отсутствии признаков нагрева и каких-либо дефектов машину передают на испытательную станцию для окончательных испытаний.
Двигатели, имеющие пониженное сопротивление изоляции, подвергают сушке путем подачи горячего воздуха от воздуходувки, подогрева обмотки статора током от источника пониженного напряжения.
При необходимости применяются оба способа одновременно.
5. Опишите объемы работ по ремонту ошиновки и изоляции распределительных устройств
Ошиновка распределительных устройств (сборные и ответвительные шины) состоит из опорных и проходных изоляторов и закрепленных на них проводников с шинодержателями, соединительными и концевыми зажимами.
На открытых распределительных устройствах, подверженных усиленному загрязнению, величина необходимого повышения электрической прочности изоляции зависит от характера загрязняющих осадков и степени загрязнения атмосферы этими осадками. Для усиления изоляции открытых распределительных устройств ПО кВ и выше увеличивают число элементов в гирляндах и опорных колонках, применяют специальные «грязестойкие» изоляторы, устанавливают на выключателях и трансформаторах вводы на более высокие ступени напряжения.
В качестве изоляции для загрязняемых районов применяют изоляторы ОС-1 или увеличивают число изоляторов ИШД-35.
Периодичность чистки изоляции открытых распределительных устройств зависит от вида и интенсивности загрязнения и принятого уровня изоляции (нормальный, усиленный). Изоляцию очищают при снятом напряжении различными способами в зависимости от характера загрязнения и плотности осадков на изоляторе (сухими тряпками; тряпками, смоченными водой, бензином, керосином, глинистыми растворами или слабыми растворами кислот, и др.). Промывка изоляторов водой из брандспойтов под напряжением, хотя и является безопасной при заземлении наконечника брандспойта, не всегда дает удовлетворительные результаты. При очень загрязненной изоляции наблюдались случаи ее перекрытия во время промывки и отмечалась нежелательная коррозия отдельных элементов оборудования, так как вода при промывке снизу увлажняет элементы, в обычных условиях остающиеся сухими.
В эксплуатации основным способом борьбы с загрязнением является систематическая очистка изоляторов вручную. В закрытых РУ 6—10 кВ осуществляют иногда очистку изоляторов под напряжением с помощью пылесоса и полых штанг из изоляционного материала со специальными наконечниками в виде фигурных щеток. Для открытых РУ применяют также обработку поверхности изоляторов гидрофобными пастами, обволакивающими частицы загрязненного вещества, в результате чего последние оказываются изолированными друг от друга.
Изоляцию открытых РУ (воздушных линий) очищают прерывистой или сплошной струей воды различного давления. Обмывку можно производить под напряжением до 500 кВ включительно, согласно инструкциям.
Во избежание аварий, вызванных пробоем или поломкой фарфоровых изоляторов, необходимо при замене изоляторов в распределительных устройствах, находящихся в эксплуатации, вновь установленные фарфоровые изоляторы перед включением в эксплуатацию испытывать повышенным напряжением.
При длине скола по окружности до 60 мм и глубине 10 мм место скола покрывают два раза глифталевым лаком и просушивают в течение 2 ч при 50°С. На многоюбочных изоляторах допускается не более двух сколов, расположенных на одной вертикальной линии. Из-за дефектов армировки возможно провертывание или качение штыря, колпачка, фланца, выкрашивание цементирующего вещества. В этом случае изолятор подлежит переармировке.
Большую часть недостатков изоляции, не замеченных при осмотре, обнаруживают при профилактических испытаниях. Изоляторы распределительных устройств испытывают следующим образом:
-
измеряют сопротивление изоляции многоэлементных изоляторов или гирлянд мегомметром 2500 В (сопротивление каждого элемента штыревого изолятора или изолятора гирлянды должно быть не ниже 300 МОм);
-
испытывают повышенным напряжением одноэлементные изоляторы согласно нормам, многоэлементные — напряжением 50 кВ на каждый элемент штыревого или подвесного изолятора (длительность приложения напряжения 1 мин);
-
проверяют распределение напряжения штангой для многоэлементных изоляторов.
Проверку изоляторов и соединительных зажимов, а также другие работы в установках напряжением выше 1000. В, проводимые под напряжением при помощи специальных измерительных штанг, выполняют с соблюдением соответствующих правил техники безопасности. При тумане, дожде, мокром снеге, когда изолирующая часть штанги будет увлажнена, работа запрещается. Измерение производят с конструкции или специальных приспособлений.
При работах со штангой необходимо соблюдать следующие расстояния до токоведущих частей, находящихся под напряжением: при напряжении 35 кВ — не менее 1 м, ПО кВ — не менее 1.5 м, 154 кВ — не менее 2 м, 220 кВ не менее 3 м, 330 кВ — не менее 4 м, 400 и 500 кВ — не менее 5 м. Подниматься на конструкцию следует без штанги. Штангу поднимают с помощью каната. При измерениях запрещается касаться штанги выше ограничительного кольца. Сопротивление изоляции какой-либо части электроустановки измеряют только тогда, когда эта часть отключена со всех сторон. Лицо, производящее измерение мегомметром, должно убедиться в выполнении данного требования и подготовке рабочего места.
Контроль за нагревом проводников ошиновки ведется с помощью термоиндикаторов (термопленок) в закрытых установках и указателей, припаянных легкоплавкими припоями, в открытых распределительных устройствах. Термопленки и указатели устанавливают в местах соединений шин. Периодически производится контроль штангами с термоэлементами.
Для защиты от коррозии поверхности соединений обрабатывают грубым напильником, зачищают стальной щеткой под слоем технически чистого вазелина, затем удаляют опилки с вазелином и покрывают поверхности слоем свежего вазелина. Алюминиевую контактную поверхность непосредственно перед установкой зачищают стальной щеткой под слоем вазелина, который не удаляют. Соединять шины в распределительных устройствах, как правило, следует сваркой. Болтовые соединения применяют только в случаях присоединения шин к аппаратам и в местах, где необходим разъем шин.
6. Перечислите испытания, которым должен быть подвергнут трансформатор тока после ремонта
Трансформатор, подвергающийся капитальному ремонту, испытывают как в процессе ремонта, так и после него. Целью испытаний трансформатора после ремонта является проверка его электрических характеристик и качества работы, выполненных в процессе ремонта.
Профилактические испытания измерительных трансформаторов распределительных устройств производят в соответствии с ПТЭ не реже одного раза в 6 лет
Измерительные трансформаторы испытываются в следующем объеме.
Измерение сопротивления изоляции:
а) первичных обмоток. Производится мегомметром на напряжение 2500 В. Значение сопротивления изоляции не нормируется.
Для трансформаторов тока напряжением 330 кВ типа ТФКН-ЗЗО измерение сопротивления изоляции производится по отдельным зонам; при этом значения сопротивления изоляции должны быть не менее приведенных в табл. 1.
б) вторичных обмоток. Производится мегомметром на напряжение 500 или 1000 В.
Сопротивление изоляции вторичных обмоток вместе с подсоединенными к ним цепями должно быть не менее 1 МОм.
Таблица 1. Наименьшее допустимое сопротивление изоляции первичных обмоток трансформаторов тока типа ТФКН-ЗЗО
| Измеряемый участок изоляции | Сопротивление изоляции, МОм |
| Основная изоляция относительно предпоследней обкладки | 5000 |
| Измерительный конденсатор (изоляция между предпоследней и последней обкладками) | 3000 |
| Наружный слой первичной обмотки (изоляция последней обкладки относительно корпуса) | 1000 |
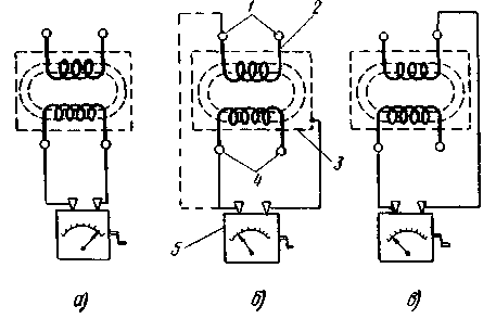
По схеме, приведенной на рис. 1 а, проверяют вторичные обмотки трансформатора, чтобы убедиться в том, что они не имеют обрыва.
При обрыве стрелка мегомметра при вращении его рукоятки остается на бесконечном значении шкалы. Проверять вторичные обмотки можно и малогабаритным мостом Уитстона.
При этом способе обрыв фиксируется бесконечно большим сопротивлением, получаемым при измерении.
Состояние изоляции первичной и вторичной обмоток проверяют по схемам, показанным на рис. 1 б и в.
Проверка ведется с помощью мегомметра на напряжение 1000—2500 в. Величина сопротивления изоляции не нормируется, но должна быть для первичной обмотки не менее 50—100 Мом, а для вторичных обмоток не менее 10—25 Мом.
Рис. 1. Схемы проверки трансформаторов тока
а — на отсутствие обрыва в цепи вторичной обмотки,
б — на сопротивление изоляции первичной (пунктир) и вторичной обмоток,
в — на сопротивление изоляции между первичной и вторичной обмотками;
1 — зажимы первичной обмотки, 2 — первичная обмотка, 3 — корпус трансформатора, 4 — зажимы вторичной обмотки, 5 — мегомметр
Измерение тангенса угла диэлектрических потерь изоляции производится для трансформаторов тока напряжением 110 кВ и выше.
Тангенс угла диэлектрических потерь изоляции трансформаторов тока при температуре +20°С не должен превышать значений, приведенных в табл. 2.
Таблица 2. Наибольший допустимый тангенс угла диэлектрических потерь изоляции трансформаторов тока
| Наименование испытуемого объекта | Тангенс угла диэлектрических потерь, %, при номинальном напряжении, кВ | |||
| 110 | 150-220 | 330 | 500 | |
| Маслонаполненные трансформаторы тока (основная изоляция) | 2,0 | 1,5 | 1,0 | |
| Трансформаторы тока типа ТФКН-ЗЗО: основная изоляция относительно предпоследней обкладки | _ | _ | 0,6 | _ |
| Измерительный конденсатор (изоляция между предпоследней и последней обкладками) | _ | _ | 0,8 | _ |
| Наружный слой первичной обмотки (изоляция последней обкладки относительно корпуса) | _ | _ | 1,2 | _ |
Для окончательного суждения о состоянии изоляции трансформаторы тока испытывают повышенным напряжением промышленной частоты в следующем объеме:
а) изоляции первичных обмоток. Испытание является обязательным для трансформаторов тока и трансформаторов напряжения до 35 кВ (кроме трансформаторов напряжения с ослабленной изоляцией одного из выводов).
Значения испытательных напряжений для измерительных трансформаторов указаны в табл. 3.
Таблица 3. Испытательное напряжение промышленной частоты для измерительных трансформаторов
| Исполнение изоляции измерительного трансформатора | Испытательное напряжение, кВ, при номинальном напряжении, кВ | |||||
| 3 | 6 | 10 | 15 | 20 | 35 | |
| Нормальная | 21,6 | 28,8 | 37,8 | 49,5 | 58,5 | 85,5 |
| Ослабленная | 9 | 14 | 22 | 33 | - | - |
Продолжительность приложения нормированного испытательного напряжения: для трансформаторов напряжения 1 мин; для трансформаторов тока с керамической, жидкой или бумажно-масляной изоляцией 1 мин; для трансформаторов тока с изоляцией из твердых органических материалов или кабельных масс 5 мин;
















