125473 (577854), страница 3
Текст из файла (страница 3)
.
За [табл.9, с.264 і табл.23, с.275, 1] визначаються поправочні коефіцієнти для складових сили різання в залежності від:
- механічних властивостей матеріалу, що оброблюється:
;
Поправочні коефіцієнти що враховують вплив геометричних параметрів:
-
головного кута в плані: КРцХ = 1,11; КРцУ =0,77; КРцZ = 0,94;
-
переднього кута: КРгХ = КРгУ = КРгZ =1,0;
-
кута нахилу різальної кромки: КРлХ = 0,8; КРлУ = 1,3; КРлZ = 1,0.
Тоді:
;
;
.
Складові сили різання:
(Н);
(Н);
(Н);
6. Потужність різання розраховують за формулою:
.
Поверхня 1 (ш92 мм):
(кВт);
Поверхня 2 (ш82 мм):
(кВт);
7. Визначення основного часу:
Основний технологічний час на перехід, підраховується за формулою згідно [р. ІІ , с. 55, 4]:
,
Поверхня 1 (ш92 мм):
(хв);
Поверхня 2 (ш82 мм):
(хв).
4. Стислі відомості про інструментальні матеріали
Матеріал свердла – швидкорізальна сталь Р6М5.
Основні відомості щодо матеріалу свердла для обробки отворів визначимо згідно [с. 48, п. 3.4., 5].
Основним легуючим елементом швидкорізальних сталей є вольфрам (Р), який взаємодіє з вуглецем, завдяки чому сталь набуває високої твердості, температуро- і зносостійкості. Окрім того, сталь містить молібден (М), який є хімічним аналогом вольфраму. Легування молібденом сприяє підвищенню теплопровідності сталі. Вольфрамо-молібденові сталі більш пластичні і куються краще, ніж вольфрамові, мають нижчий бал карбідної неоднорідності.
До хімічного складу сталі Р6М5 входить 6% вольфраму (W) та 5% молібдену (Mo).
Сталь Р6М5 доцільно застосовувати при виготовленні інструментів, що використовуються при невеликих швидкостях різання, але з великими перерізами шару, що зрізається, тобто при важкому силовому режимі. Внаслідок високої пластичності сталь придатна для виготовлення інструментів методами пластичного деформування.
Основні властивості сталі Р6М5:
-
твердість: 62...64 HRC;
-
теплостійкість, и: 620°С;
-
границя міцності на згин, узг: 2900...3100 МПа;
-
швидкості різання, v: 25...35 м/хв.
Матеріал твердосплавних пластин торцевої фрези та розточувального різця – вольфрамовий (однокарбідний) твердий сплав ВК6 [с. 50, п. 3.5., 5]. Основою твердого сплаву ВК6 є карбіди вольфраму (WC), що мають високу тугоплавкість і мікротвердість, їх зерна з’єднуються між собою кобальтом (Co). Чим більше в сплаві WC, тим вища твердість і теплостійкість і менша міцність сплаву. Твердий сплав ВК6 характеризується високою твердістю, теплостійкістю та швидкостями різання, проте має відносно низьку міцність на згин. Застосовується для чорнової і напівчистової обробки чавунів і кольорових сплавів.
Хімічний склад сплаву ВК6: 6% кобальту (Co), решта – 94% карбідів вольфраму (WC).
Основні властивості твердого сплаву ВК6:
-
твердість: 87...90 HRА;
-
теплостійкість, и: 800...900 °С;
-
границя міцності на згин, узг: 1000...1200 МПа;
-
швидкості різання, v: 90...300 м/хв.
5. Встановлення взаємозв’язку елементів режиму різання та параметрів перерізу шару, що зрізається
Торцеве фрезерування
а б
Рис. 1. Схеми зрізання припуску при торцевому фрезеруванні
На (рис. 1) зображені схеми зрізання припуску при фрезеруванні поверхні торцевою фрезою згідно [с. 228, 6]. На (рис 1, а) глибина різання t = 1,8 мм рівна припуску на обробку на заданому переході. В = 130 мм – ширина фрезеруванні (рівна ширині оброблюваної поверхні). D = 160 мм – діаметр фрези.
Приймемо для нашого випадку симетричне фрезерування (рис. 1). Кут контакту торцевої фрези
. Так як фрезерування симетричне, в точці 1 (рис. 1, б) має місце рівність:
. Цьому значенню кута відповідає товщина шару, що зрізається,
. Протягом першої половини робочого циклу зубу товщина шару, що зрізається, зростає і в точці 3, що лежить на осі симетрії оброблюваної заготовки, товщина шару, що зрізається зубом, максимальна і рівна
. Тобто для нашого випадку максимальна товщина зрізу рівна 0,1 мм. На (рис. 1, б) умовно показана епюра товщини шару, що зрізається, яка в графічній формі виражає закономірність зміни величини
за робочий цикл зуба фрези.
Ширина шару, що зрізається для торцевих фрез рівна
, де
– кут нахилу ріжучої кромки,
– головний кут в плані ріжучої кромки зуба торцевої фрези.
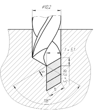
Свердлування
Рис. 2. Елементи різання при свердлуванні
При свердлуванні в суцільному матеріалі глибина різання рівня половині оброблюваного діаметру (діаметру свердла):
(мм).
Щоб знайти подачу на зуб інструменту, слід розділити на кількість зубів знайдену в п. 3 подачу на оберт (кількість зубів для свердла – 2):
(мм/зуб).
Товщина шару, що зрізається, рівна:
(мм).
Ширина шару, що зрізається:
(мм).
Розточування
На (рис. 3) зображені елементи різання при обробці отвору розточувальним різцем згідно [с. 185, 6]. Глибина різання рівна припуску на обробку на даному переході: t = 1,6 мм.
Подача на оберт заготовки встановлена у п.3. даної роботи і рівна S = 0,22 мм.
Товщина шару, що зрізається, рівна:
(мм).
Ширина шару, що зрізається:
(мм).
Рис. 3. Елементи різання при розточуванні
Література
1. Справочник технолога-машиностроителя. В 2-х т./ Под ред. А.Г. Косиловой и Р.К. Мещерякова. – 4-е изд., перераб. и доп. – М.: Машиностроение, 1985. – Т2 – 496 с.
2. Кирилович В.А., Мельничук П.П., Яновський В.А. – Нормування часу та режимів різання для токарних верстатів з ЧПК: Навчальний посібник для студентів машинобудівних спеціальностей / Під заг. ред. В.А. Кириловича. – Житомир: ЖІТІ, 2001. – 600 с.
3. Режимы резания металлов: Справочник / Под ред. Ю.В. Барановского. – М.: Машиностроение, 1972. – 364 с.
4. Общемашиностроительные нормативы режимов резания для технического нормирования работ на металлорежущих станках. Часть І. Токарные, карусельные, токарно-револьверные, алмазно-расточные, сверлильные, строгальные, долбежные и фрезерные станки. Изд. 2-е, М: Машиностроение, 1974. – 406 с.
5. Виговський Г.М. Теорія різання: Навч. посібн. – Житомир: ЖДТУ, 2006. – 250 с.
6. Грановский Г.И., Грановский В.Г. Резание металлов: Учебн. для вузов. – М.: Высш. шк., 1985. – 304 с.















