125447 (577851), страница 2
Текст из файла (страница 2)
1.4 Коэффициенты безопасности
Коэффициенты безопасности определяют по напряжениям и :
S = пред / max [S]; S = пред / max [S],
где при постоянных напряжениях предельными пред (пред) являются предел текучести Т (Т) – для пластичных материалов и временное сопротивление В (В) – для хрупких материалов; при переменных напряжениях предельными являются пределы выносливости деталей limD, limD.
При совместном действии напряжений и находят общий коэффициент безопасности: S = S S / (S2 + S2)1/2 [S], где при постоянных напряжениях [SТ] = 1,3…2 – по пределу текучести Т; [SВ] = 2…2,4 – по пределу прочности В; при переменных напряжениях [S] = 1,5…2,5 – для пластичных и [S] =
= 2,5…4 – для хрупких материалов.
2. Резьбовые соединения
2.1 Основные виды крепежных изделий
Резьба – это образование на поверхности детали выступов и впадин, идущих по винтовой линии. Резьбовое соединение имеет две детали: с наружной резьбой (винт) и с внутренней резьбой (гайка). Все резьбы стандартизованы.
Для соединения деталей применяют болты (винт с гайкой, рис. 2.1, а), винты (рис. 2.1, б) – вместо гайки резьба в одной из скрепляемых деталей и шпильки (рис. 2.1, в) – стержень с двумя нарезанными концами (синтез болта с гайкой и винта: ввинчивание по плотной посадке в деталь).
Соединения винтами – самые прогрессирующие, особенно при отсутствии в узлах мест под гайки и при высоких требованиях к их массе и внешнему виду.
На рис. 2.1 указаны: d – номинальный (наружный) диаметр резьбы; l – длина болта, винта, шпильки; l0 – длина нарезанной части стержня под гайку; l1 – глубина завинчивания; l3 – выход стержня за гайку; = 6P – недорез резьбы; х = (2…2,5) Р – сбег резьбы; Н – высота гайки; Н1, Н2 – толщины деталей; s – толщина шайбы; dh – диаметр отверстия в деталях под стержень винта; Р – шаг резьбы.
По характеристикам статической прочности крепежные детали разделяют на классы прочности и группы.
Для стальных болтов, винтов и шпилек по ГОСТ 1759.4–87 предусмотрено 11 классов прочности: 3.6; 4.6; 4.8; 5.6; 5.8; 6.6; 6.8; 8.8; 9.8; 10.9; 12.9 (цифры условно обозначим a.b). Первое число а, умноженное на 100, представляет собой номинальное значение временного сопротивления В, МПа, материала резьбовой детали. Произведение ab10 – номинальное значение предела текучести Т, МПа. Второе число – b10 = Т / В% – степень пластичности материала. Например, болт класса прочности 6.8: В = 6100 = 600 МПа; Т = 6810 = 480 МПа; Т / В = 810 = 80%.
Для стальных гаек с высотой, равной или более 0,8d, по ГОСТ 1759.5–87 установлены 7 классов прочности: 4, 5, 6, 8, 9, 10, 12. Число, умноженное на 100, показывает напряжение от испытательной (пробной) силы, МПа.
Существует правило, что разрыв в соединении должен быть по резьбе стержня болта. Отсюда число класса прочности гайки показывает наибольший класс прочности болта (первую цифру), с которым данная гайка может использоваться в соединении. Например, гайка класса прочности 5 может применяться с болтом класса прочности не выше 5.8.
Крепежные изделия в зависимости от условий эксплуатации могут быть изготовлены с защитным покрытием или без покрытия. Обозначение покрытий от 00 до 13. Например, 00 – без покрытия; 01 – цинковое с хроматированием; 02 – кадмиевое с хроматированием; 05 – окисное; 12 – серебряное; 13 – никелевое.
2.2 Краткие сведения из теории резьбовой пары
1. Момент завинчивания и осевая сила на винте
Подавляющее большинство резьбовых соединений с предварительной затяжкой. Затяжка создается при сборке с целью, чтобы после приложения рабочей нагрузки не происходило раскрытия стыка или сдвига соединяемых деталей.
При завинчивании гайки (или винта с головкой) необходимо приложить момент завинчивания Тзав (рис. 2.2) для преодоления момента ТР сопротивления в резьбе и момента ТТ сопротивления на торце гайки:
Тзав = ТР + ТТ, (2.1)
где TP = Ft d2 / 2 = 0,5 Fзатd2tg( + 1); (2.2)
ТТ = 0,5 FзатfTdср, (2.3)
В формулах (2.2) и (2.3): Ft – окружная (в плоскости, перпендикулярной к оси соединения) движущая сила; Fзат – осевая сила затяжки; d2 – средний диаметр резьбы; – угол подъема резьбы; 1 – приведенный (с учетом влияния угла профиля α) угол трения в резьбе: 1 = / cos(/2), φ – угол трения материалов пары винт – гайка; fT – коэффициент трения материалов пары гайка – деталь; dср – средний диаметр кольца (рис. 2.2): dср = 0,5 (D + dh).
Угол подъема резьбы определяют по среднему диаметру d2 (рис. 2.3):
tg = Ph / d2 = nP / d2,
где nP = Ph – ход резьбы, n – число заходов.
Подставляя в формулу (2.1) значения моментов ТР и ТТ, получим
Тзав = 0,5 Fзатd2[tg( + 1) + fTdср / d2]. (2.4)
Все резьбы геометрически подобны. В среднем для метрической резьбы:
= 2030; d2 0,9d; dср 1,4d; 1 = / cos300 1,15 1,15 arctgf. Тогда при f = fT = 0,15 (резьба и торец гайки без смазки) Тзав 0,2Fзатd. С другой стороны, принимая в среднем длину гаечного ключа L (рис. 2.2) от оси винта до середины ладони рабочего равной 14d, будем иметь момент завинчивания на ключе
Тзав = FPL = 14FPd, где FP – усилие рабочего. Из равенства 0,2Fзатd = 14FPd получим Fзат = 70 FP, т.е. за счет рычага на гаечном ключе и параметров соединения имеем выигрыш в силе затяжки в 70 раз. При f = fT = 0,1 Fзат 100 FP.
2. Самоторможение в резьбе
Самоторможение – это сохранение затянутого положения гайки так, что для ее отвинчивания следует приложить момент, противоположного направления моменту завинчивания. Момент отвинчивания:
Тотв = 0,5 Fзатd2[tg(1 – ) + fTdср / d2].
Условие самоторможения: Тотв 0. Без учета трения на торце гайки (ТТ = 0) должно быть tg(1 – ) 0 и 1 .
Если в среднем = 2030, то 1 2030; arctg f = 1 / 1,15; f tg2017 или
f 0,04. С учетом влияния момента ТТ f 0,02.
Таким образом, при статической нагрузке все крепежные резьбы самотормозящие. При вибрациях 1 уменьшается вследствие микроперемещений поверхностей трения, смятия микронеровностей на рабочих поверхностях резьбы, и резьбовая пара самоотвинчивается. Поэтому при переменных нагрузках обязательно применение стопорных устройств.
3. КПД резьбовой пары
КПД резьбы определяют как отношение полезной работы на винте к затраченной работе на ключе при повороте гайки на произвольный угол.
Без учета трения на торце гайки КПД равен:
= tg / [tg( + 1)].
При = 2030 и f = 0,1 0,3, а с учетом трения на торце (момента ТТ) КПД еще ниже.
4. Распределение осевой силы по виткам резьбы
На рис. 2.4 показано распределение осевой силы Fзат по виткам резьбы. На первый виток резьбы приходится около 1/3 Fзат, а на последний, десятый
виток – менее 1/100 Fзат. Основная причина столь неравномерной нагрузки – разноименное сочетание деформаций витков: болт растянут, гайка сжата.
Н
е имеет смысла увеличивать высоту гайки за счет числа z витков (более десяти). Например, у стандартных шестигранных гаек при Н = 0,8d z = 6.
Все конструктивные мероприятия для выравнивания нагрузки по виткам резьбы направлены на создание одноименных деформаций в районе первых витков. Например, на рис. 2.5, а приведена «висячая» гайка, на рис. 2.5, б – гайка с поднутрением, на рис. 2.5, в-гнездо под ввинчиваемый конец шпильки. Под действием силы Fзат (да еще добавится сюда сила от рабочей нагрузки) произойдет либо разрыв стержня винта, либо срез резьбы.
5. Прочность резьбового участка стержня болта
При сборке стержень болта растягивается силой Fзат и скручивается моментом ТР сил сопротивления в резьбе. Момент ТТ на торце гайки на стержень не передается.
Эквивалентное напряжение для пластичных материалов:
Е = (2 + 32)1/2 []Р, (2.5)
где = Fзат /А; А = dP2/ 4; = TP/ WК; TP = 0,5d2tg( + 1); WК = dP3/ 16.
За расчетный диаметр dР принят d1 – внутренний диаметр резьбы стержня.
Формулу (2.5) после подстановки в нее и представим в виде
Е = {1 + 12 [tg( + 1) d2/d1]2}1/2 []Р.
При = 2,50; 1 = 1,15arctgf и f = 0,15 1 = 9,80; d2 / d1 1,06 будем иметь Е = 1,28. За расчетное значение принимают 1,3.
Условие прочности при затяжке гайки:
= 1,3 Fзат / (d12/ 4) []Р, (2.6)
где коэффициент 1,3 учитывает влияние скручивания стержня болта при затяжке гайки.
Рассчитывая напряжения по формуле (2.6), следует сделать вывод: при затяжке гаек с резьбой меньше М12 обязательно должен быть контроль усилия затяжки во избежание разрушения болтов.
6. Прочность витков резьбы на срез
Из условия равнопрочности витков резьбы на срез и стержня болта на растяжение определена необходимая глубина завинчивания l1 (рис. 2.1) винтов и шпилек для различных материалов деталей: в сталь пластичную l1 = d, с пониженной пластичностью 1,25d; в чугун l1 = 1,25d и 1,6d; в легкие сплавы l1 = 2d и 2,5d.
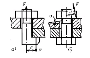
7. Эксцентричное нагружение болта
Эксцентричная нагрузка возникает
а) в болтах с так называемой костыльной головкой (рис. 2.6, а);
б) при перекосах опорных поверхностей под гайкой или головкой болта
(рис. 2.6, б).
Под действием силы F в стержне болта действуют напряжения растяжения Р и изгиба и. При этом, как показывают расчеты, и во много раз может превышать Р. Напряжения изгиба являются самыми опасными для прочности болтов, винтов и шпилек.
Отсюда правила конструирования:
1. Не допускать черновых (необработанных) поверхностей под гайками, головками, шайбами.















