125177 (577831), страница 3
Текст из файла (страница 3)
Для регулирования зазора между валками подшипники переднего валка 5 могут перемещаться при помощи регулировочных винтов 3 в проемах станины 2. От смещения вверх подшипники удерживаются траверсами 8, которые крепятся к станине болтами. Для правильной установки зазора регулирующие винты снабжены указательными шкалами. На вальцах с большими диаметром и длиной валков привод регулировочных винтов осуществляется от специальных электродвигателей. На вальцах малого размера и вальцах старых конструкций вращение винтов производится вручную.
При вальцевании полимерного материала в зазоре между валками возникают распорные усилия, которые пропорциональны эффективной вязкости вальцуемого материала и могут составлять в расчете на 1 см длины валка от 3,5 до 11 кН. Для предотвращения поломки валков на концах регулирующих винтов установлены предохранительные шайбы, срезающиеся при перегрузке.
Валки вальцов обычно устанавливаются в подшипниках. скольжения. Смазка подшипников циркуляционная (от специального насоса или от лубрикатора). Для отвода тепла корпус подшипника на производственных вальцах снабжен охлаждаемой водой рубашкой.
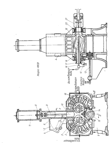
Рис. 11. Групповой привод вальцов:
1 – электродвигатель; 2 – редуктор; 3 – большая шестерня; 4 – малая шестерня; 5 – фрикционные шестерни; б – валки.
Для предотвращения попадания вальцуемого материала в подшипники на концах валков устанавливают профильные пластины 10 (называемые «ограничительными стрелками»), каждая из которых состоит из двух половин, укрепленных соответственно на подшипнике переднего и заднего валков. На одной из половин стрелки установлена стальная планка, перекрывающая зазор, образующийся между стрелками при раздвигании валков (рис. 11).
В большинстве случаев привод осуществляется от электродвигателя переменного тока. Привод может быть групповым и индивидуальным. Специфическая особенность работы привода вальцов состоит в широком диапазоне изменения потребляемой вальцами мощности. При групповом приводе несколько (обычно» двое) вальцов приводятся от одного мощного синхронного электродвигателя, соединенного с ведущим валом через редуктор (рис 12). Групповой привод позволяет снизить установочную мощность и способствует увеличению cos
Это требует примерно полуторакратного запаса по сравнению со средним значением мощности, потребляемой в течение рабочего цикла. Завышение установочной мощности приводит к уменьшению cos ф агрегата. Поэтому на крупных предприятиях индивидуальный привод почти не применяется.
Регулируемый привод обеспечивает возможность изменения окружной скорости вращения валков (от 6,3 до 25 м/мин) и фрикции (от 1:1 до 1:4); он применяется только на лабораторных вальцах.
Верхний предел окружной скорости вращения переднего валка обусловлен требованиями техники безопасности; окружная скорость переднего валка может составлять не более 38 м/мин, скорость заднего валка, как правило, выше.
Для мгновенной остановки вальцов в случае попадания в них одежды или руки рабочего служит устройство, называемое аварийным остановом (см. рис. 4.11), которое состоит из коромысла, соединенного с аварийным выключателем, и троса или цепи 9, протянутого вдоль переднего и заднего валков на такой высоте, чтобы оператор, обслуживающий вальцы, мог привести его в действие с любого места. Время остановки вальцов при незагруженных валках не должно превышать 1,5–2,0 с. Валки загруженных вальцов останавливаются практически мгновенно. При индивидуальном приводе аварийный останов отключает двигатель привода и приводит в действие колодочный тормоз, установленный на валу двигателя. При групповом приводе аварийный останов отключает соединительную муфту. В этом случае управление муфтой обычно осуществляется механически.
На вальцах старых конструкций оператор для улучшения однородности смешения вручную периодически подрезал слой материала, обволакивающий передний валок, скручивал его в рулон и вновь направлял в зазор. Современные вальцы снабжены ножом для механического подрезания, укрепленном на суппорте, который совершает возвратно-поступательное перемещение по установленному вдоль валка ходовому винту. Иногда на вальцах предусматривают дополнительный привод для поперечного перемещения ножа, который в этом случае совершает сложное движение, имитирующее операции, производимые вальцовщиком: нож подводится к поверхности валка, выстаивает в течение некоторого времени и подрезает полосу массы; затем он продвигается вдоль валка и отходит от него (в этот момент срезанная масса вновь затягивается в зазор).
На некоторых моделях лабораторных вальцов, применяемых для исследовательских целей, устанавливается специальная контрольно-измерительная аппаратура, предназначенная для замера параметров режима вальцевания. Замер распорных усилий производится посредством месдоз, устанавливаемых на концах винтов, регулирующих зазор. Температура вальцуемого материала замеряется встроенной в валок термопарой. Скорость вращения переднего и заднего валков определяется по показаниям тахометра.
Двухроторные лопастные смесители
Простейший вариант двухроторного смесителя, широко применяемый в промышленности переработки пластмасс, – это смеситель с Z-образными лопастями. Несмотря на большое разнообразие конструкций, во всех смесителях такого типа можно выделить основные конструктивные элементы (рис. 4.23). Внутри опрокидывающейся рабочей камеры / располагаются два Z-образных ротора 2, вращающиеся навстречу друг другу с различными частотами вращения (л = 180–200 об/мин). Рабочая камера снабжена крышкой 8 с быстродействующим затвором 7. Роторы приводятся во вращение электродвигателем 4, соединенным цепной передачей 6 через муфту 5 с системой приводных шестерен, установленных во встроенном редукторе 11. Камера смесителя имеет рубашку 3, через которую пропускается теплоноситель (пар или смесь пара с конденсатом). В крышке камеры смесителя имеются штуцер 9 для подачи жидких компонентов и отвод 10 для удаления вакуумированием газообразных летучих из камеры.
Компоненты смеси загружаются при открытой крышке или через загрузочный штуцер и попадают непосредственно на Z-образные роторы, вращающиеся в камере, образованной корытом, закрытым с торцов боковыми стенками. В стенках установлены сальниковые уплотнения, препятствующие утечке перемешиваемой массы через зазоры между валом и стенками.
Когда смешение закончено, вращение роторов прекращается, камера смесителя поворачивается с помощью механизма опрокидывания 12 на угол 110°, крышка камеры открывается и при реверсе направления вращения роторов смесь выгружается.
Смесители с Z-образными роторами можно классифицировать по следующим признакам: по технологическому назначению-1) смешение масс друг с другом и с жидкостями; 2) растворение твердых и густых масс в жидкости; 3) образование суспензий твердых масс в жидкостях или эмульсий жидкостей в густых массах; 4) измельчение нежестких масс; 5) смешение порошкообразных материалов с красителями;
по конструктивным особенностям – 1) емкость камеры смесителя (5, 25, 100, 200, 400, 800, 2000 и 4000 л); 2) максимальная мощность привода (смеситель малой мощности – до 25 кВт, средней мощности – до 60 кВт, большой мощности–до 150 кВт); 3) способ выгрузки смеси (смесители с опрокидывающейся камерой и с выгрузкой смеси через отверстие в дне камеры); 4) форма лопастей (гладкие Z-образные, защищенные накладками от истирания; зубчатые; с четырехкрыльчатыми валами); 5) конструкция камеры (корыто без рубашки для обогрева; корыто с нагревателями сопротивления, с жидкостным обогревом, с покрытием внутренних стенок нержавеющей сталью; 6) конструкция крышки камеры (герметичная без давления; герметичные под давлением; для перемешивания под вакуумом); 7) конструкция сальникового уплотнения (сальник уплотнительный на атмосферное давление; двойные сальники, рассчитанные на работу при избыточном давлении или под вакуумом).
Смесительная камера состоит из средней части и боковин, соединенных между собой болтами. Детали камеры изготавливают литьем из чугуна марки СЧ 18–36 или из листового проката, марки.
Лопастные роторы изготавливают сварными. На гребни лопастей по всей длине наплавляют специальный неискрящий, сплав, что исключает опасность искрения при ударах о твердые включения при работе и обеспечивает возможность взрывобезопасной работы в парах горючих органических растворителей (бензин, толуол и т.п.).
Z-образные лопастные роторы (рис. 4.24, а–г) имеют универсальное применение и могут использоваться при смешении между собой высоковязких масс или смешении их с жидкостями. Лопасти с зубчатыми гребнями (рис. 4.24, е) используют для размельчения и смешения волокнистых материалов. Двухкрыльчатые лопастные валы (рис. 4,24, г) применяют для перемешивания небольших количеств материала; четырехкрыльчатые (рис. 4.24, д) предназначены для перемешивания с целью дегазации и растворения; многокрыльчатые валы (рис. 4.24, ж) применяют для смешения и увлажнения сыпучих материалов. Другие типы роторов, показанных на рис. 4.24, описаны в следующем разделе.
Двухроторные смесители закрытого типа
Смесители, роторы которых занимают около 60% общего объема смесительной камеры, называют закрытыми роторными смесителями (ЗРС). Их применяют для смешения полимеров с наполнителями, приготовления полимерных композиций, введения в полимер стабилизаторов, пластификаторов, красителей и других ингредиентов. Типичный ЗРС (рис. 4.25) состоит из камеры 2, образованной двумя стальными полуцилиндрами и двумя боковыми стенками 19; внутри камеры навстречу друг другу вращаются роторы 3. В массивных боковых стенках установлены роликовые подшипники роторов 20. Зазор между стенкой и шейкой роторов уплотняется специальным устройством 18.
Смесительная камера монтируется на чугунной станине 1. В верхней части камеры располагается загрузочное окно, над которым установлена загрузочная воронка 5 с откидывающейся заслонкой 6, передвигаемой пневмоприводом 4. При загрузке смесителя заслонка отклоняется к стенке воронки и открывает отверстие в боковой стенке прямоугольной загрузочной шахты, по которой смешиваемые материалы ссыпаются в смесительную камеру. По окончании загрузки заслонка возвращается в вертикальное положение, перекрывая при этом отверстие в стенке шахты и препятствуя выбросу пылящих компонентов наружу при работе смесителя.
В прямоугольной шахте расположен верхний затвор 10, установленный на штоке 9 воздушного цилиндра 7 с поршнем 8. При загрузке смесителя затвор перемещается в крайнее верхнее положение, открывая доступ в камеру смесителя. По окончании загрузки затвор опускается вниз и через окно в камере смесителя давит на находящийся в камере материал, создавая в нем избыточное гидростатическое давление, равное 0,35–0,7 МПа.
Выгрузка готовой смеси производится через нижнее окно в камере, которое во время загрузки и смешения закрыто нижним затвором 14, состоящим из фигурного клина, укрепленного на корпусе пневмоцилиндра 15. Шток 13, на котором установлен поршень пневмоцилиндра, укреплен на станине. Поэтому при подаче воздуха в одну из полостей цилиндра последний вместе с клином перемещается по направляющим под смесительной камерой, закрывая или открывая камеру снизу. Подача сжатого воздуха в цилиндр осуществляется через каналы, просверленные в штоке 13.
В зависимости от формы поперечного сечения и конфигурации роторов (см. рис. 4.24) различают ЗРС с овальными роторами (рис. 4.24, з), с трехгранными и четырехгранными роторами (рис. 4.24, к) и с цилиндрическими роторами (рис. 4.24, и).
В отечественной промышленности получили распространение ЗРС с овальными роторами – так называемые смесители типа Бенбери.
Процесс ламинарного смешения сопровождается интенсивным тепловыделением. Для отвода тепла смеситель имеет систему охлаждения. Роторы охлаждают конденсатом, поступающим во внутреннюю полость по трубам 16 и разбрызгиваемым по всей полости ротора через установленные на трубке форсунки. Из роторов охлаждающая вода сливается через воронку 17 и поступает в установленную на линии стока воронку 12.
Стенки камеры могут прогреваться пропускаемым через паровую рубашку паром и охлаждаться как пропусканием охлажденного конденсата через рубашку, так и орошением стенок камеры конденсатом снаружи, поступающим на поверхность камеры через многочисленные патрубки, присоединенные к коллектору 11.
Гребень нижнего затвора 14 и верхний затвор имеют полости, которые охлаждаются водой.
Привод ЗРС осуществляется, как правило, от синхронных электродвигателей большой мощности через редуктор с помощью шарнирной муфты 21. В настоящее время наиболее распространены два варианта кинематических схем привода.
Первый вариант (рис. 4.26, а) состоит из встроенного в смеситель редуктора, первая ступень которого образована парой приводных шестерен 4, а вторая – парой фрикционных шестерен 3, которые передают вращающий момент от приводного ротора 1 к ведомому ротору 2. При этом они одновременно обеспечивают и необходимое соотношение скоростей вращения роторов. Обычно передаточное число фрикционных шестерен лежит в интервале 1,14–1,16. Частота вращения роторов производственных смесителей составляет: для тихоходных смесителей – около 20 об/мин, для быстроходных смесителей – около 70 об/мин.
Обычно для привода смесителя используют быстроходный синхронный электродвигатель мощностью 700 и более кВт с частотой вращения выходного вала 750–1500 об/мин. Поэтому между встроенным редуктором смесителя и двигателем устанавливают дополнительный редуктор 5. Выходной вал редуктора соединяется с ведущим валом редуктора смесителя посредством; эластичной муфты 10.
Недостатки привода такого типа: громоздкость, тяжелые условия работы фрикционных и приводных шестерен встроенного] редуктора, обычно расположенных внутри ограничительного кожуха, а также перегрузки роторных подшипников распорными я окружными усилиями, возникающими на шестернях привода.:
Второй вариант привода (рис. 4.26, б) отличается наличием; только одного выносного блок-редуктора 7, совмещающего в себе функции редуктора и фрикционных шестерен. Два выходных вала блок-редуктора соединяются с роторами смесителя посредством валов с карданными шарнирами 8. Благодаря этому удается полностью разгрузить подшипники роторов от усилий, возникающих в приводных и фрикционных шестернях. Все шестерни – как приводные 4, так и фрикционные 3 – располагаются в общем блок-редукторе. Применение подшипников качения, высококачественных косозубых шестерен, циркуляционной системы смазки позволило создать компактный блок-редуктор для передачи мощности, превышающей 1500 кВт. Карданные шарниры 8 допускают небольшой перекос и смещение валов, между которыми они установлены. Это снижает требования к точности монтажа, упрощает и удешевляет сборку и установку смесителя» Привод смесителя осуществляется от быстроходного электродвигателя 9, на одной оси с которым установлен возбудитель 10.
Роторы смесителя. В настоящее время в ЗРС применяют три типа роторов. Овальные роторы (см. рис. 4.24, з) в поперечном сечении имеют форму сужающегося к одному концу эллипса, заостренный конец которого переходит в вершину винтовой лопасти. Одна из них, имеющая большую длину (0,55–0,65 длины ротора), расположена по винтовой линии с углом подъема около 30°, а вторая (0,35–0,45 длины ротора) – с углом подъема около 45°. Угол охвата ротора каждой из лопастей не превышает 90°.
Трехгранные роторы (см. рис. 4.24, к), обычно применяющиеся в ЗРС фирмы «Вернер – Пфляйдерер», имеют лопасти, напоминающие зуб шевронной шестерни. Поперечное сечение этих роторов имеет форму трехгранной призмы с вогнутыми гранями.
Винтовые роторы (см. рис. 4.24, и), обычно применяемые в ЗРС фирмы «Интермикс – Шоу», состоят из цилиндрического сердечника, на поверхности которого расположены два винтовых выступа (угол подъема винтовой линии – около 42°).
Первые два типа роторов вращаются с различными скоростями, так как гребни роторов не входят в зацепление. Винтовые роторы вращаются с одинаковыми скоростями, так как выступы нарезки одного ротора входят во впадины нарезки другого. Существует модификация овальных роторов, в которой на каждом роторе вместо двух лопастей расположено по четыре – две длинных и две коротких (см. рис. 4.24, л). Такие роторы обеспечивают примерно полуторакратное сокращение времени смешения.
Роторы обычно изготавливают из стального литья. На гребень (кромку лопасти) ротора для увеличения срока службы смесителя наплавляют твердый сплав (победит, сормайт). На гребни роторов, работающих во взрывоопасной среде, наваривают неискрящие сплавы. Роторы смесителей обычно устанавливают на двух радиально-сферических роликовых подшипниках. Наружное кольцо одного из подшипников жестко фиксируется в корпусе, а второе выполняется плавающим. Смазка подшипников осуществляется от лубрикатора.
Уплотнения роторов. Для предотвращения потерь ингредиентов через зазоры между цапфами вращающихся роторов и стенками камеры в конструкции РЗС предусмотрены специальные уплотнения. Уплотнение сальникового типа (рис. 4.27) состоит из установленной на роторе 1 манжеты 8 и набора медно-графитовых колец 7, размещенных в стальной втулке 3, прикрепленной к боковой стенке 2. Уплотняющее усилие создается грундбуксой 6, на которую нажимают пружины 5, установленные по окружности уплотнения на шпильках 4. Для уменьшения трения в зазоры между кольцами нагнетается смазка.
Лабиринтное уплотнение (рис. 4.28, а) состоит из запрессованной в стенку 2 неподвижной втулки 3 и подвижного кольца 4.
Втулка и кольцо имеют проточки в виде торцевых концентрических канавок, так что выступы втулки входят в соответствующие канавки, и наоборот. Узкий лабиринт, образованный таким размещением деталей, создает препятствие выходу расплава из камеры. Кроме этого на внутренней поверхности втулки 3 имеется винтовая канавка. Гладкая поверхность шейки ротора 1, взаимодействуя с заполняющим канавку расплавом, приводит его в движение. В результате находящийся в канавке расплав начинает двигаться в сторону камеры смесителя против направления потока утечек, создаваемого избыточным давлением в камере.
Торцевое уплотнение с автоматически регулирующимся уплотняющим усилием (рис. 4. 28,6) состоит из напрессованной на шейку ротора 1 центрирующей втулки 3, на которую насажена уплотняющая втулка 8, прижатая пружинами 4 к бронзовому кольцу 5, укрепленному в гнезде неподвижной обоймы 6. Втулка 8 вращается вместе с ротором. Расплав, попадая в пространство между стенкой 2 и втулкой 8, прижимает втулку к поверхности кольца 5 с силой, пропорциональной давлению в камере
смесителя. Установленное между втулками 3 и 8 резиновое кольцо 7 предотвращает утечку расплава через кольцевой зазора между втулками. Кольцо 5 является сменной деталью, и его по мере износа заменяют другим. В область контакта трущихся частей подается смазка под давлением из лубрикатора.
Механизм смешения в камере ЗРС
Для качественного описания процесса смешения рассмотрим схему взаимодействия рабочих органов смесителя (рис. 4.29). В начальный период работы после загрузки всех ингредиентов весь рабочий объем камеры и часть горловины загрузочной воронки вследствие большого удельного объема части ингредиентов могут быть заполнены материалом. На этой стадии верхний затвор давит на смесь ингредиентов, находящуюся в горловине загрузочной воронки, с усилием, складывающимся из веса затвора и усилия, создаваемого пневмоцилиндром привода. По мере смешения смесь становится более компактной и занимает уже только рабочую камеру. На этой стадии верхний затвор замыкает смесительную камеру, и его нижняя часть оказывается как бы продолжением внутренней стенки камеры.
Полимерная композиция подвергается интенсивной деформации сдвига в серповидном зазоре между поверхностью камеры и передней поверхностью лопасти смесителя (область / на рис. 4.29) и в цилиндрическом зазоре между сердечником ротора и стенкой камеры (область III). В начальный момент смешения скорость деформации сдвига во всем объеме материала очень мала. Интенсивной деформации материал подвергается лишь в областях / и // . Затем по мере разогрева материала и его размягчения (плавления) деформации сдвига начинает подвергаться материал, находящийся в областях /// и IV.
Двигаясь по винтовой поверхности лопасти, материал перемещается вдоль оси ротора. Суммируясь с движением по окружности, это осевое перемещение приводит к тому, что находящаяся в серповидном зазоре смесь движется по сложной траектории, напоминающей вытянутую вдоль оси ротора пространственную восьмерку. Двигаясь по таким перекрещивающимся под разными углами линиям тока, частицы смеси равномерно распределяются по всему объему смесителя.















