124923 (577787), страница 2
Текст из файла (страница 2)
НАЗНАЧЕНИЕ МП
Магнитные пускатели предназначены для применения в стационарных установках для дистанционного пуска непосредственным подключением к сети, остановки и реверсирования трехфазных асинхронных электродвигателей с короткозамкнутым ротором при напряжении до 660В и номинальном токе частотой 50 и 60 Гц. При наличии тепловых реле пускатели осуществляют защиту управляемых электродвигателей от перегрузки недопустимой продолжительности и от токов, возникающих при обрыве одной из фаз. Пускатели, комплектуемые ограничителями перенапряжений, пригодны для работы в системах управления с применением микропроцессорной техники.
Наиболее распространенные серии пускателей с контактной системой и электромагнитным приводом: ПМЕ, ПМА, ПА, ПВН, ПМЛ, ПВ, ПАЕ, ПМ12.
ПРИНЦИП РАБОТЫ МП
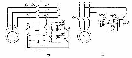
Принцип действия нереверсивного магнитного пускателя (рис. 1) заключается в следующем: при включении пускателя по катушке проходит электрический ток, сердечник намагничивается и притягивает якорь, при этом главные контакты замыкаются, по главной цепи протекает ток. При отключении пускателя катушка обесточивается, под действием возвратной пружины якорь возвращается в исходное положение, главные контакты размыкаются.
При отключении магнитного пускателя вследствие перебоев в электроснабжении размыкаются все его контакты, в том числе и вспомогательные.
Рис. 1. Схема включения нереверсивного магнитного пускателя: а - монтажная схема включения пускателя, электрическая принципиальная схема включения пускателя
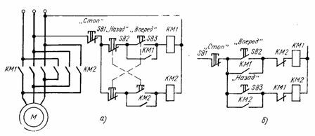
Принцип действия схем включения реверсивного магнитного пускателя: (рис. 2)
Для изменения направления вращения асинхронного электродвигателя необходимо изменить порядок чередования фаз статорной обмотки.
В реверсивном магнитном пускателе используют два контактора: КМ1 и КМ2. Из схемы видно, что при случайном одновременном включении обоих контакторов в цепи главного тока произойдет короткое замыкание. Для исключения этого схема снабжена блокировкой.
Рис. 2. Схемы включения реверсивного магнитного пускателя
Если после нажатия кнопки SB3 «Вперед» к включения контактора КМ1 нажать кнопку SB2 «Назад», то размыкающий контакт этой кнопки отключит катушку контактора КМ1, а замыкающий контакт подаст питание в катушку контактора КМ2. Произойдет реверсирование электродвигателя.
Электрическая схема цепи управления реверсивного пускателя с блокировкой на вспомогательных размыкающих контактах изображена на рис. 2, б.
В этой схеме включение одного из контакторов, например КМ1, приводит к размыканию цепи питания катушки другого контактора КМ2. Для реверса необходимо предварительно нажать кнопку SB1 «Стоп» и отключить контактор КМ1. Для надежной работы схемы необходимо, чтобы главные контакты контактора КМ1 разомкнулись раньше, чем произойдет замыкание размыкающих вспомогательных контактов в цепи контактора КМ2.
Это достигается соответствующей регулировкой положения вспомогательных контактов по ходу якоря.
Возможные неисправности и способы их устранения
Разновременность замыкания и состояние главных контактов
Разновременность замыкания главных контактов можно устранить затяжкой хомутика, держащего главные контакты на валу. При наличии на контактах следов окисления, наплывов или застывших капель металла, контакты надо зачистить.
Сильное гудение магнитной системы электромагнитного пускателя
Сильное гудение магнитной системы может привести к выходу из строя катушек пускателя. При нормальной работе пускатель издает лишь слабый шум. Сильное гудение пускателя свидетельствует о его неисправности.
Для устранения гудения пускатель надо отключить и проверить:
а) затяжку винтов, крепящих якорь и сердечник,
б) не поврежден ли короткозамкнутый виток, уложенный в прорезы сердечника. Так как через катушку протекает переменный ток, то и магнитный поток изменяет свое направление и в какие то моменты времени становится равным нулю. В этом случае противодействующая пружина будет отрывать якорь от сердечника и возникнет дребезг якоря. Короткозамкнутый виток устраняет это явление.
в) гладкость поверхности соприкосновения обеих половин электромагнитной системы пускателя и точность пригонки их, так как в электромагнитных пускателях ток в обмотке сильно зависит от положения якоря. При наличии зазора между якорем и сердечником ток, проходящий через катушку больше номинального.
Для проверки точности соприкосновения между якорем и сердечником электромагнитного пускателя между ними можно подложить листок копировальной бумаги и листок тонкой белой бумаги и замкнуть пускатель от руки. Поверхность соприкосновения должна быть не менее 70% сечения магнитопровода. При меньшей поверхности соприкосновения этот дефект можно устранить правильной установкой сердечника электромагнитной системы пускателя. Если же образовался общий зазор, то необходимо шабровать поверхность вдоль слоев листовой стали магнитной системы.
Отсутствие реверса в реверсивных магнитных пускателях
Отсутствие реверса в реверсивных пускателях можно устранить подгонкой тяг механической блокировки
Прилипание якоря к сердечнику происходит в результате отсутствия немагнитной прокладки или недостаточной ее толщины. Пускатель может не отключиться даже при полном снятии напряжения с катушки. Необходимо проверить наличие и толщину немагнитной прокладки или воздушный зазор.
Необходимо проверить состояние блокировочных контактов пускателя. Контакты во включенном положении должны плотно прилегать друг к другу и включаться одновременно с главными контактами пускателя. Зазоры блок-контактов (кратчайшее расстояние между разомкнутым подвижным и неподвижным контактом) не должны превышать допустимых значений. Необходимо произвести регулировку блок-контактов пускателя. Если провал блок-контакта становится меньше 2 мм, то блок-контакты надо заменить.
Своевременные испытания и регулировка электромагнитных пускателей позволяют заблаговременно избежать неполадок и повреждений.
Характерные неисправности магнитных пускателей, вероятные причины, вызывающие эти неисправности, и методы их устранения приведены в таблице:
| Признаки неисправности | Вероятная причина | Метод управления |
| I. Пускатель не включается | Повреждена катушка контактора (коммутирующего пускателя у ПВИ-32) Сгорела плавкая вставка предохранителя в цепи управления Сработала максимальная токовая защита. Горит сигнальная лампа с красным светофильтром Силовые контакты контактора касаются стенок дугогасительных камер (кроме ПВВ-320) Неисправна кнопка «Пуск» поста управления Пробит диод в кнопочном посту управления Повреждены провода уп- равления (обрыв, корот- кое замыкание), увеличе- ние сопротивления цепи управления свыше 20 Ом Снижение сопротивления изоляции между жилами дистанционного управления ниже 300 Ом (кабель пережат) Неисправность в блоке управления | Заменить катушку Заменить предохранитель Определить и устранить причину срабатывания защиты Отрегулировать положение подвижных контактов Проверить кнопку и устранить неисправность Заменить диод Перейти на исправные жилы кабеля или заменить кабель Измерить сопротивление цепи управления, зачистить контакты и подтянуть крепежные элементы в местах электрических соединений, в случае необходимости заменить кабель Измерить сопротивление изоляции между жилами и в случае необходимости заменить кабель Неисправный блок заменить на резервный |
| 2. Пускатель включается, но не остается включенным при отпускании кнопки «Пуск» | Нет цепи, шунтирующей зажимы кнопки «Пуск» Неисправность блока БДУ | Проверить наличие цепи и устранить неисправность. Заменить блок |
| 3. При нажатии кнопки БРУ или БКИ не горит сигнальная лампа | Нарушение цепи в кнопке «Проверка БРУ» или «Проверка БКИ». Сгорела сигнальная лампа. Неисправность внутри блока | Проверить цепь кнопки и устранить неисправность. Заменить лампу. Заменить блок управления |
| 4. Не включается автоматический выключатель (только для ПВИ-32) | Неисправен автоматический выключатель | Заменить автоматический выключатель |
| 5. Пускатель включается и сразу же отключается под действием максимальной токовой защиты, загорается сигнальная лампа с красным светофильтром | Короткое замыкание в защищаемой силовой цепи Несоответствие установки максимальной токовой защиты пусковому току. Неисправность блока защиты УМЗ или ПМЗ | Определить место короткого замыкания и устранить повреждение. Проверить установку защиты и привести ее в соответствие с пусковым током. Заменить блок. |
| 6. При срабатывании максимальной токовой защиты или защиты от перегрузки не загорается сигнальная лампа | Сгорела сигнальная лампа | Заменить лампу |
| 7. Пускатель самопроизвольно отключается, повторное включение невозможно | Обрыв или увеличение сопротивления цепи дистанционного отключения свыше 100 Ом или снижение сопротивления изоляции между жилами управления (кабель пережат) Увеличение сопротивления цепи заземления свыше 50 Ом (для пускателей ПВ-1140-250) | Измерить сопротивление цепи управления, зачистить контакты и подтянуть крепления в местах электрических соединений. В случае необходимости перейти на ре- зервные жилы или заменить кабель |
| 8. Пускатель сильно гудит | Якорь контактора неплотно прилегает к сердечнику вследствие: загрязнения повреждения перекоса плохого закрепления якоря и сердечника большого нажатия контактов повреждения на короткозамкнутом витке низкого напряжения сети | Удалить смазку и пыль. Устранить повреждения. Устранить перекос. Закрепить якорь и сердечник. Отрегулировать нажатие силовых контактов.Заменить виток. Проверить напряжение сети и привести в соответствие с нормами |
| 9. Чрезмерный нагрев контактов силовой цепи | Недостаточное усилие нажатия контактов Чрезмерный износ контактов | Отрегулировать нажатие контактов Проверить износ контактов и при необходимости заменить новыми |
| 10. Чрезмерный нагрев всего пускателя | Токоприемник не соответствует пускателю Плохо затянуты винты, гайки, крепящие токоведущие части | Заменить пускатель в соответствии с нагрузкой токоприемника Подтянуть крепежные элементы |
| 11. Нет напряжения 36 В в цепи питания светильника местного освещения (системы автоматики) | Сгорел предохранитель в цепи освещения (автоматики) вторичной обмотки понижающего трансформатора пускателя | Заменить предохранитель |
| 12. При включении пускателя привариваются силовые контакты контактора | Неисправность в системе форсировки включения контактора Чрезмерное или ослабленное нажатие силовых контактов Низкое напряжение в сети в момент замыкания силовых контактов контактора (для пускателей ПВИ-1140) | Отрегулировать нажатие контактов. Замерить напряжение и принять меры к обеспечению нормируемой величины напряжения на за жимах пускателя Проверить работу системы форсировки включе ния контактора |
Техническое обслуживание и ремонт электромагнитных пускателей
Для предотвращения быстрого износа и отказов, поддержания в постоянной готовности к использованию по назначению, обеспечения безопасной работы проводится техническое обслуживание (ТО) пускателей. Виды и регламенты технического обслуживания и испытаний определены Правилами безопасности (ПБ) и Положением о планово-предупредительной системе технического обслуживания и ремонта оборудования промышленных предприятий (Положение о ППР). Пуска в процессе эксплуатации должны периодически осматриваться:
а) лицами, работающими на технологических машинах, а также
дежурными электрослесарями, электромонтерами участка — ежесменно;















