123132 (577541), страница 3
Текст из файла (страница 3)
При химическом способе воронения детали погружаются в расплавленные соли, например, смеси селитры и двуокиси марганца, нагретые до температуры 350оС. При этом на поверхности появляется защитная пленка черного цвета. Для получения пленки синего цвета детали погружаются в раствор солей, состоящий из нитрата натрия и нитрита натрия, и выдерживают при температуре около 310оС.
Фосфатные покрытия имеют лучшие защитные свойства, чем оксидные, не разрушаются и не теряют своих свойств, при кратковременном нагреве до температуры 400оС, обладают высоким электрическим сопротивлением и высокой электрической прочностью (выдерживают электрическое напряжение от 250 до 1200 В). Фосфатные пленки имеют пористую и губчатую структуру, поэтому хорошо удерживают смазки и обладают высокой прочностью сцепления с лакокрасочными покрытиями. Фосфатные пленки применяют как изоляционное покрытие пластин магнитопроводов, трансформаторов и различных деталей, работающих в легких, средних и жестких условиях эксплуатации.
Фосфатирование стальных деталей производится в растворе МАЖЕФ, содержащем марганцевые и железистые фосфаты. Фосфатирование ведется при температуре 80–90оС в течение 5–10 мин.
Фосфатирование деталей из алюминия и его сплавов осуществляется кипячением в 10%-ном растворе ортофосфорной кислоты с добавлением бихромата калия и фториевого натрия.
Кроме химических фосфатных покрытий бывают окисно-фосфатные покрытия, которые применяются для защиты от коррозии сплавов на основе алюминия при средних и тяжелых условиях эксплуатации. Окисно-фосфатные покрытия производят в растворе фосфорной кислоты, азотнокислого кальция и перекиси марганца. При этом покрытия получаются красивого черного цвета. Фосфатные покрытия имеют следующие обозначения:
– химическое фосфатное с хроматированием, с последующим лакокрасочным покрытием; Хим. Окс. Фос. – окисно-фосфатное покрытие.
Химические металлические покрытия применяют для защиты от коррозии, повышения электропроводности, износостойкости, декоративной отделки деталей из металлов и пластмасс. Металлические покрытия получают методом химической металлизации в специальных растворах. Химическая металлизация основана на протекании в растворах окислительно-восстановительных реакций, при которых происходит восстановление ионов осаждаемого металла на поверхности детали.
Химическое меднение поверхностей стальных деталей выполняют погружением их в водный раствор, состоящий из сернокислой меди и серной кислоты.
Химическое серебрение применяют для повышения электропроводности и отражательной способности деталей из меди и ее сплавов. Серебрение осуществляют в цианистых электролитах.
Химические никелевые покрытия содержат до 15% фосфора и обладают высокой коррозионной стойкостью, твердостью и износостойкостью. Никелевые покрытия применяют для защиты от коррозии корпусов гибридных интегральных схем, увеличения износостойкости штепсельных разъемов из бронз и др. Химическое никелирование ведут в растворах, содержащих щелочные или кислые растворы солей никеля и гипофосфита.
Химическое лужение (оловянирование) применяют для защиты деталей от коррозии, подготовки поверхности под пайку, герметизации плотных сопряжений деталей в сборочных единицах и т.д. Химическое лужение деталей из алюминиевых сплавов проводят в растворе на основе хлорного олова и едкого натра при температуре 70–75оС.
Лужение стальных деталей осуществляют в кипящем растворе хлорного олова, насыщенного однозамещенным виннокислым калием (КС4Н5О6).
Химические покрытия деталей из пластмасс используют как электропроводящие и отражательные слои на поверхности диэлектриков.
Химическое меднение пластмассовых деталей состоит из операций подготовки поверхности (например, крацеванием или обдувкой поверхности песком), сенсибилизации и меднения. Сенсибилизация – это процесс нанесения на поверхность диэлектрика очень тонкой пленки металла, способствующего последующему осаждению меди из химических растворов. Для сенсибилизации применяют водные растворы азотнокислого серебра или раствор двухлористого олова.
При создании проводников печатных плат химическим способом перед меднением проводят сенсибилизацию в растворе двухлористого олова и активацию поверхности в растворах солей благородных металлов, преимущественно палладия. Для улучшения качества металлизации часто применяют совмещенный раствор для сенсибилизации и активации (совмещенный активатор) на основе двухлористого палладия и двухлористого олова с добавлением соляной кислоты и хлористого калия. Наращивание слоя меди осуществляют в химических растворах, содержащих соли меди, например в растворе сернокислой меди с добавлением едкого натрия, виннокислого калий-натрия (КNaC4H4O6) и углекислого натрия.
Процессы химического серебрения диэлектриков состоят из сенсибилизации поверхности с последующим осаждением серебра из растворов. В качестве сенсибилизаторов чаще всего применяют водный раствор хлористого олова. Химическое восстановление серебра осуществляют в растворах, содержащих азотнокислое серебро, едкий натр, аммиак. Применяют и другие химические растворы для химического наращивания серебра. Серебряные пленки используют для создания проводящих и зеркальных поверхностей на диэлектриках.
3. Покрытия, полученные методом электрофореза
Пленки, полученные методом электрофореза, обладают высокой адгезией к поверхности металлических изделий, плотностью, прочностью и высокими электроизоляционными свойствами.
Сущность электрофорезного способа состоит в том, что при наличии разности потенциалов в суспензионном растворе, в котором частицы порошка находятся во взвешенном состоянии (коллоидные частицы), происходит движение последних к электроду и осаждение их на поверхности. Таким образом, происходит осаждение неметаллического материала на поверхности металлического изделия, которое является анодом. После электрофореза изделие подвергают сушке и термообработке. При термообработке происходит спекание частиц и образуется твердое и гибкое покрытие с высокими электроизоляционными свойствами. Толщина слоя покрытия регулируется плотностью тока, напряжением и временем выдержки изделия в растворе.
В качестве коллоидных растворов при электрофорезе применяют следующие составы:
суспензионный раствор кремниевой кислоты в ацетоне;
суспензионный раствор окиси магния в четыреххлористом углероде;
раствор каолина в воде.
Метод электрофореза широко применяется для нанесения межслойной изоляции магнитопроводов, изготавливаемых из лент методом навивки. Наиболее широкое применение в этом случае получил суспензионный раствор кремниевой кислоты в ацетоне.
На рис. 2 изображена схема технологической установки для нанесения изоляции лент из электротехнической стали или железоникелевых сплавов методом электрофореза.
Рис. 2
В ванну 1 с коллоидным раствором кремниевой кислоты в ацетоне подается обезжиренная лента 2 с помощью роликов 3 и 4. На ванну подается отрицательный потенциал, а на ленту положительный потенциал. Для лучшего осаждения коллоидных частиц раствор постоянно перемешивается сжатым воздухом через отверстия в трубе 6. В результате электрофореза на поверхности ленты осаждаются частицы, состоящие из окиси кремния SiO2. Толщина изоляционного слоя обычно составляет 5–10 мкм. Электрофоретическая ванна встраивается в автоматическую линию при изготовлении ленточных магнитопроводов методом навивки.
Процессы электрофореза применяют для нанесения пластмасс на металлы; в этом случае слой из пластмассы является защитным от действия внешней среды.
4. Лакокрасочные покрытия
Лакокрасочные покрытия представляют собой неметаллические пленки, применяемые для защиты поверхности деталей от воздействия внешней среды и придания им красивого внешнего вида. Их нельзя применять для деталей, имеющих точные размеры и трущиеся поверхности, подвергающиеся механическим воздействиям и нагреву. Основными требованиями к лакокрасочным покрытиям являются: непроницаемость пленок для газов и жидкостей; хорошая адгезия к поверхности металлических и неметаллических изделий; высокая термостойкость в заданном интервале температур и высокие электроизоляционные свойства. Для аппаратуры, работающей в тропических условиях, добавляются требования по стойкости против грибковой плесени, грызунов и термитов.
Основными компонентами лакокрасочных покрытий являются пленкообразующие вещества, наполнители, пигменты, пластификаторы и растворители.
Основой лакокрасочных покрытий являются пленкообразующие вещества, к которым относятся растительные масла (льняное, тунговое), битумы, природные и синтетические смолы (шеллак, канифоль, феноло-и креозолоформальдегидные, эпоксидные, кремнеорганические, алкидные, полиэфирные). При высыхании они образуют прочную пленку.
Пигменты – высокодисперсные неорганические вещества (железный сурик, диоксид титана, охра и др.), создающие цветовой оттенок и повышающие твердость и механическую прочность лакокрасочных покрытий.
Наполнители – неорганические и органические порошкообразные материалы (пылевидный кварц, тальк, графит, слюдяная пыль и др.), повышающие влагостойкость, уменьшающие температурный коэффициент линейного расширения и улучшающие антикоррозионные свойства покрытий.
Пластификаторы применяют для повышения эластичности и ударной прочности защитной пленки. В качестве пластификаторов используют нелетучие вещества – дибутилфталат, трибутилфосфат, нефтяные масла, касторовое и льняное масло.
Растворители – летучие органические жидкости, применяемые для растворения красок и лаков и улетучивающиеся в процессе образования пленки и способствующие получению равномерной толщины защитного покрытия. Растворителями служат ароматические углеводороды, спирты, сложные и простые эфиры, скипидар и др.
В состав лаков и красок могут входить следующие дополнительные вещества: отвердители и сиккативы.
Отвердители – это вещества (кислоты, соли, изоцианы и др.), которые способствуют образованию пленок на основе реакционноспособных олигомеров, например на основе эпоксидных смол. Сиккативы вводятся для ускорения процесса высыхания лакокрасочных материалов, содержащих растительные масла. В качестве сиккативов используют растворимые в маслах соли некоторых металлов (кобальта, марганца, кадмия, цинка и др.).
Защитные свойства лакокрасочных покрытий определяются свойствами пленкообразователя, пигмента и технологией нанесения покрытия.
Технология нанесения лакокрасочных покрытий состоит из следующих основных этапов: подготовки поверхности, окраски и сушки.
Подготовка поверхности включает в себя очистку поверхности, грунтовку и шпатлевание.
Очистку поверхности осуществляют механическим (галтовка, крацевание, гидропескоструйная обработка или шлифование) или химическим (обезжиривание, травление) способами.
Грунтовка состоит в нанесении на поверхность детали слоя грунта. Цель грунтовки – улучшение адгезии лакокрасочного покрытия с поверхностью детали и придание дополнительной защиты от действия внешней среды. Для грунтовки применяют лакомасляные, битумномасляные, нитро- и водоразбавляемые грунты. Во многих случаях для повышения коррозионной стойкости изделий, работающих в жестких или особо жестких условиях, поверхности предварительно фосфатируют или оксидируют. Грунт наносят распылением, окунанием или кистью. После нанесения слоя грунта производят сушку.
Шпатлевание – выравнивание загрунтованной поверхности. Шпатлевание применяют в тех случаях, когда к поверхности предъявляют повышенные требования по внешнему виду, а поверхность имеет дефекты. Шпатлевка представляет собой пастообразную массу, состоящую из пигментов, наполнителей и лаков с добавлением или без добавления пластификаторов. Применяют лаковые, масляные, клеевые, нитроцеллюлозные, перхлорвиниловые и эпоксидные шпатлевки. Шпатлевки наносят на поверхность при помощи шпателя или краскораспылителя – в этом случае их разбавляют растворителем. Зашпатлеванные детали сушат и шлифуют механизированным инструментом.
Окраску деталей производят с помощью кисти, окунанием и распылением. Окрашивание кистью является малопроизводительным методом, который применяют для медленно сохнущих лаков, покраски поверхности и нанесения обозначений по трафарету. Нанесение лакокрасочных покрытий окунанием применяют для деталей, не требующих тщательной отделки и имеющих форму, удобную для стекания краски. В этом случае получается неравномерное по толщине покрытие и большой расход материала. Окрашивание распылением является более высокопроизводительным процессом, при этом получается высокое качество поверхности, но этот способ связан с повышенным расходом материала и окрашивание необходимо вести в специальной камере.
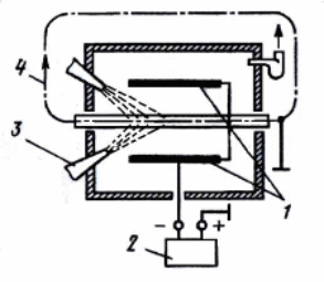
Наиболее совершенным способом является окраска в электростатическом поле (рис. 3). При этом способе изделия подвешиваются на заземленный конвейер 4, проходящий между электродами 1, на которые подается отрицательный потенциал от источника напряжения 2. Краску подают воздушными распылителями 3 на движущиеся изделия, находящиеся в электрическом поле. Частицы краски, заряжаясь отрицательно, притягиваются к положительно заряженным деталям.
Рис. 3
При этом способе повышается производительность труда (в 3–4 раза), улучшаются санитарные условия труда, повышается качество покрытия (разброс по толщине составляет 5–8 мкм), сокращается расход лакокрасочных материалов (потери составляют всего 5–10%) и создаются условия комплексной автоматизации процесса окраски.
Сушка является заключительным этапом. При выборе способа и режима учитывают многие факторы: вид лакокрасочного материала, характер покрываемой поверхности деталей, их размеры и конфигурация, поточность производства и др. Сушка может быть при обычной температуре окружающего воздуха (естественная сушка) и принудительная при повышенных температурах (в сушильных шкафах, рефлекторных сушилках и т.д.). Наиболее совершенна сушка инфракрасными лучами.















