85971 (574959), страница 2
Текст из файла (страница 2)
Однако большая часть чертежей до середины XIX века подписывалась обычным почерком. И чем он был замысловатей, тем лучше оценивалась работа чертежника. Только после 40-х годов XIX века стали встречаться чертежи, оформленные художественными шрифтами:
Елизаветинский, Канон малый, Рондо и другие.
Рис. 19
Нанесение размеров. Масштабы
Основанием для суждения о величине изображаемого на чертеже предмета и его элементов служат размерные числа.
Правила для нанесения размеров на чертежах изложены в ГОСТ 2.307–68, а также частично в ГОСТ 2.109–73. При чтении размеров необходимо помнить, что размерные числа без обозначения единицы измерения указывают линейные размеры в миллиметрах. При других единицах измерения длины (см, м, км) их указывают на чертеже. Угловые размеры указывают в градусах, минутах и секундах с обозначением единицы измерения, например: 4°; 4°30'; 0°30'40».
Нанесение размеров на технических чертежах обусловлено рядом специальных положений. Следует помнить, что с геометрической точки зрения без учета технологии изготовления изделия размеры следует наносить в такой последовательности:
-
размеры каждой части формы предмета;
-
размеры, связывающие геометрические формы между собой;
-
габаритные размеры (наибольшая длина, высота, ширина). Масштаб – отношение
линейных размеров предмета на чертеже к его натуральным (действительным) размерам. Стандарт 2.302–68 устанавливает масштабы изображений на чертежах всех отраслей промышленности и строительства. При этом в машиностроении нередко используют масштаб натуральной величины (1:1) строительстве и архитектуре – масштабы уменьшения, в оптике и приборостроении – масштабы увеличения.
Рис. 28. Расстановка линейных размеров
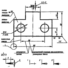
Основные понятия:
-
Габаритные размеры – наи большие размеры детали по длине (80), высоте (50), толщине (4).
-
Размеры элементов – раз меры величины вырезов (30, 15), выступов, отверстий (016), пазов и т.д.
-
Координирующие размеры - размеры, показывающие расположение элементов относительно контура дета ли (17) и друг друга (50).
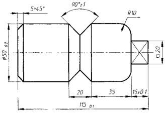
• Если диаметр меньше 12 мм, то размерные числа и стрелки располагают снаружи окружности.
-
Если диаметр больше 20 мм и меньше 40 мм, то стрелки располагают внутри элемента, размерные числа – снаружи.
-
Если диаметр больше 40 мм, то размерные числа и стрелки располагают внутри окружности.
-
Размеры радиусов дуг наносят аналогично нанесению размеров окружностей.
-
Угловые размеры указывают в градусах, минутах и секундах с обозначением единицы измерения.
При расположении элементов предмета (отверстий, пазов, зубьев и т.п.) на одной оси или на одной окружности размеры, определяющие их взаимное расположение, наносят следующим образом:
-
от общей базы (поверхности, оси) – по рис. 31 а и 6;
-
заданием размеров нескольких групп элементов от нескольких общих баз – по рис. 31 в;
-
заданием размеров между смежными элементами (цепочкой) – по рис. 31г.
Размеры на чертежах не допускается наносить в виде замкнутой цепи, за исключением случаев, когда один из размеров указан как справочный.
Проецирование на одну плоскость проекций
Проецирование – процесс получения изображения предмета на плоскости.
Плоскость проекции – плоскость, на которой получают проекцию предмета.
Проекция – изображение объекта, полученное при проецировании его на плоскость проекции.
В зависимости от направления проецирующих лучей проецирование бывает прямоугольным, косоугольным и центральным (рис. 37). Если проецирующие лучи параллельны друг другу, проецирование называется параллельным. Если при параллельном проецировании проецирующие лучи направлены перпендикулярно плоскости проекций (т.е. под углом 90°), проецирование называется прямоугольным или ортогональным, если не под прямым углом – косоугольным. Если проецирующие лучи выходят из одной точки (центра), проецирование называется центральным.















