63235 (573370), страница 2
Текст из файла (страница 2)
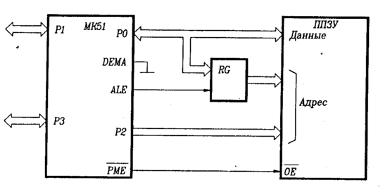
Рис. 1. Схема включения МК51 с внешним ППЗУ программ
Рис. 2. Работа с внешней памятью программ
Если выполняется команда MOVX (рис. 2), два сигнала РМЕ не формируются, т. к. порт Р0 освобождается для адресации и обмена данными с внешней памятью данных.
Когда ОМЭВМ работает с внутренней памятью программ, РМЕ не формируется и адрес на портах Р0 и Р2 не выдается. Тем не менее, сигнал ALE будет формироваться дважды в каждом машинном цикле всегда за исключением случая команды MOVX (в этом случае один сигнал ALE пропускается). Таким образом, если не используются команды MOVX, сигнал ALE может быть задействован в качестве выходного синхросигнала.
Литература
-
Тавернье К. PIC-микроконтроллеры. Практика применения: Пер. с фр. -М: ДМКПресс, 2008. - 272 с.: ил. (Серия «Справочник»).
-
Борзенко А.Е. IBM PC: устройство, ремонт, модернизация. – 2-е изд. перераб. и доп. – М.: ТОО фирма «Компьютер Пресс», 2006. – 344с.: ил.
-
Цифровые интегральные микросхемы: Справ./М. И. Богданович, И.Н. Грель, В.А. Прохоренко, В.В. Шалимо.–Мн.: Беларусь, 2001. – 493 с.: ил.
-
ДСТУ 3008-95. Документация. Отчеты в сфере науки и техники. Структура и правила оформления.















