150403 (566874), страница 3
Текст из файла (страница 3)
Коэффициент поглощения не зависит от интенсивности падающего света (закон Ламберта).
При толщине слоя х = 1/ интенсивность света I по сравнению с I0 уменьшается в е 2,72 раз. Размерность коэффициента поглощения м-1 или см-1.
Коэффициент поглощения зависит от длины волны света и для различных веществ различен. Например, одноатомные газы и пары металлов обладают близким к нулю коэффициентом поглощения и лишь для очень узких спектральных областей наблюдаются резкие максимумы поглощения (так называемый линейчатый спектр поглощения). Коэффициент поглощения для металлов имеет большие значения (103 – 105 см-1) и поэтому металлы являются непрозрачными для света. Коэффициент поглощения диэлектриков обычно невелик (10-3 – 10-5 см-1). Стекла, прозрачные полимерные пленки, жидкости и растворы имеют селективное (избирательное) поглощение света в определенных интервалах длин волн, когда резко возрастает, и наблюдаются сравнительно широкие полосы поглощения.
Для характеристики поглощающей способности образца используется или коэффициент пропускания Т, который обычно измеряется в процентах
, (2)
или оптическая плотность образца D:
(3)
Согласно закону Бугера коэффициент пропускания экспоненциально уменьшается в зависимости от толщины образца (слоя вещества):
(4)
В то же время оптическая плотность зависит от толщины образца линейно:
, (5)
т.е. оптическая плотность вещества прямо пропорциональна толщине слоя. Поэтому для оценки поглощающей способности образца применение оптической плотности более удобно, чем применение коэффициента поглощения.
Для растворов веществ в не поглощающих растворителях выполняется закон Бера:
Монохроматический показатель поглощения раствора поглощающего вещества в непоглощающем растворителе пропорционален концентрации с раствора:
, (6)
где 1 – коэффициент поглощения однопроцентного раствора данного вещества, с – концентрация раствора в процентах.
Подставляя (6) в (1) и (5), получаем обобщенный закон Бугера – Ламберта – Бера, учитывающий как толщину слоя поглощающего вещества, так и концентрацию раствора. Этот закон может быть записан либо через интенсивность проходящего света, либо через оптическую плотность:
(7,8)
То обстоятельство, что оптическая плотность раствора D пропорциональна концентрации с растворенного поглощающего вещества, лежит в основе колориметрии (от лат. color - цвет)– метода определения концентрации растворенного вещества по оптической плотности раствора.
Рис. 2
В настоящей работе используется серийный фотоэлектрический колориметр КФК-2. Оптическая схема фотоколориметра представлена на рис. 1. При определении концентрации растворов в кюветное отделение помещаются две кюветы: кювета А с чистым растворителем и кювета В с раствором. Свет от источника S (лампы накаливания) проходит через светофильтр СФ, длина волны пропускания которого подбирается таким образом, чтобы поглощение в растворе не было слишком большим или слишком малым. Прошедший через раствор или растворитель световой пучок с помощью полупрозрачной пластинки ПЛ делится на две части: 90 % прошедшего света направляется на фотоэлемент Ф-26, отраженный пучок (10%) попадает на фотодиод ФД-24К. В зависимости от длины волны света, выделяемого светофильтром, выбирается фотоэлемент, чувствительный к данной области световых волн.
Кюветодержатель (рис. 2) находится под крышкой в кюветном отделении. Он представляет собой платформу с ручкой, с двух сторон от которой ставятся две одинаковые кюветы 2 и 3. В комплекте каждого прибора есть кюветы разной толщины. Рабочая длина (толщина) кювет выгравирована на их стенке рядом с риской, отмечающий уровень ее заполнения.
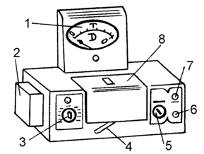
Схема размещения основных узлов фотоколориметра показана на рис. 3:
1 - показывающий прибор-микроамперметр с двойной шкалой: на верхней шкале нанесены значения коэффициента пропускания Т от 0 до 100%, а на нижней - соответствующие значения оптической плотности D; 2 - блок осветителя; 3 - переключатель светофильтров; 4 - ручка переключения кювет; 5 - ручка переключения фотоприемников («Чувствительность»); 6 – ручка «Установка 100 % грубо»; 7 - ручка «Установка 100 % точно»; 8 - крышка кюветного отделения.
Риc. 3
Каждый светоприемник рассчитан на три степени усиления тока. Чувствительности фотоприемников обозначены на ручке «Чувствительность» номерами 1, 2, 3. Чем выше номер, тем больше чувствительность фотоприемника (усиление).
Светофильтры, выделяющие определенный участок спектра в световом пучке, устанавливаются поворотом ручки 3. Напротив каждого фиксированного положения ручки указана длина волны пропускания светофильтра в нанометрах (1нм = 10-9м). Длина волны и ширина полосы пропускания каждого фильтра приведена в табл. 1.
Таблица 1
| Маркировка на переключателе 3 светофильтров | Маркировка на диске внутри прибора | Длина волны пропускания , нм | Ширина полосы пропускан , нм | Рекомендуемый фотоприемник |
| 315 364 400 440 490 540 | 1 2 3 4 5 6 | 315±5 364±5 400±5 440±10 490±10 540±10 | 35±15 25±10 45±10 40±10 35±10 25±10 | Ф - 26, маркировка черным цветом |
| 590 670 750 870 980 | 7 8 9 10 11 | 590±10 670±5 750±5 | 30±10 20±5 20±5 | ФД – 24 маркировка красным цветом |
В данном приборе не установленВ данном приборе не установлен | ||||
Светофильтры в области спектра 315-540 нм маркированы на ручке 3 черным цветом. Фотоприемником в этой области служит фотоэлемент Ф-26. Ручка 5 "Чувствительность" в таких измерениях также должна находиться на делениях черного цвета.
Светофильтры в области спектра 590-980 нм маркированы на ручке 3 красным цветом. Светоприемник здесь - фотодиод ФД-24К. Ручка 5 должна быть на делениях красного цвета.
Двух светофильтров с длиной волны пропускания (870 и 980 нм - инфракрасная область (ИК) - область) в приборе нет. Соответствующие отверстия заглушены пробками. Когда переключатель 3 стоит в положении "870" или "980", световой поток перекрыт, стрелка прибора 1 уходит в положение Т = 0.
На фотоколориметре вместо заводского стрелочного прибора может быть установлен цифровой мультиметр, включенный для измерения постоянного напряжения. В этом случае можно не устанавливать определенную начальную I0, а для вычисления T и D всегда пользоваться формулами (2) и (3). Более того, измерения можно проводить на любом фотоэлементе и при любом усилении т.е. ручки 5, 6, 7 могут находиться в произвольном положении.
В данной работе фотоколориметр используется для трех видов исследований:
-
Изучение зависимости поглощения света окрашенного стекла и (или) полимерной пленки от длины волны. Эта зависимость представляет собой спектр поглощения пленки.
-
Изучение закона Бугера – проверка прямой пропорциональной зависимости оптической плотности вещества (полимерной пленки) от ее толщины.
-
Изучение закона Бера – проверки прямой пропорциональной зависимости оптической плотности раствора от его концентрации.
Задания к лабораторной работе
Осмотрите колориметр. Изучите назначение его ручек.
Откройте крышку кюветного отделения. Осмотрите кюветное отделение. Слева и справа видны окна для прохождения светового пучка. Правое окно при открытой крышке автоматически закрывается пластинкой для защиты фотоэлемента от засветки.
Подключите прибор к сети. На задней стенке с левой стороны колориметра включите сетевой тумблер. В блоке осветителя должна загореться лампа. (Рядом с сетевым может располагаться также тумблер для регулирования яркости свечения лампы). Если справа от кювет вставить вертикально лист белой бумаги, то на листе появляется круглое окрашенное пятно. Цвет его меняется в зависимости от положения переключателя светофильтров.
Задание 1. Изучение зависимости поглощения света от длины волны
В качестве поглощающего образца здесь используется одна или две окрашенные прозрачные пленки из набора, выданного для проведения опытов. Пленки должны быть хорошо протерты от посторонних загрязнений.
-
Из набора кювет возьмите две одинаковые кюветы толщиной 3 мм. Установите их в кюветодержатель. В одну из кювет вставьте исследуемую пленку (или пленки). Закройте крышку кюветодержателя.
-
Ручкой 4 переведите кюветодержатель в положение, когда световой пучок проходит через пустую кювету.
-
Начните с первого светофильтра 315 нм, который вводится в световой пучок ручкой 3.
-
Ступенчато увеличивая чувствительность ручкой вначале ручкой 5, а затем ручками 6, 7 выведите стрелку прибора на 100 %. Если это не удается сделать, просто запишите показание прибора I0 при максимальной чувствительности.
-
Ручкой 4 переведите кюветодержатель в положение, кода свет проходит через кювету с пленками. Стрелка прибора покажет уменьшения интенсивности света.
-
Если вначале удалось установить стрелку на 100 % пропускания, то следующее показание по верхней шкале сразу дает коэффициент пропускания Т, а показание по нижней шкале – оптическую плотность образца D на данной длине волны. Если вначале стрелка не устанавливается на 100 %, то коэффициент пропускания, а затем и оптическую плотность необходимо вычислить по формулам (2) и (3).
-
Аналогичные измерения проведите для остальных длин волн, даваемых данным набором светофильтров (п. п. 3-6). Данные измерений занесите в таблицу 1 отчета.
-
Постройте график зависимости оптической плотности полимерной пленки от длины волны света. При этом экспериментальные точки соедините плавной линией. График представляет собой утрированный спектр поглощения пленки.
-
В выводе отметьте, на каких длинах волн образец сильнее всего поглощает свет, а на каких меньше всего.
Задание 2. Изучение зависимости поглощения света от толщины образца
В качестве поглощающих образцов здесь используются несколько кусочков окрашенной прозрачной пленки. Испытание лучше всего проводить на длине волны, указанной на пленке.
-
Проведите измерение коэффициента пропускания и оптической плотности сначала для одного кусочка пленки.
-
Затем увеличьте толщину образца, добавив к первому кусочку пленки еще один. Далее продолжайте увеличивать толщину образца, доведя его до 8-9 кусочков пленки.
-
По результатом опыта следует построить графики зависимостей коэффициента пропускания Т и оптической плотности D пленки от его толщены. Поскольку толщины кусочков пленки одинаковы, то по горизонтальной оси можно откладывать просто их число.
-
График Т =f(l) должен иметь вид экспоненты, а график D =f(l) должен быть прямолинейным. Если это действительно так, то можно сделать вывод о выполнении закона Бугера.
Задание 3. Изучение зависимости поглощения света от концентрации раствора















