Методические указания (561962), страница 4
Текст из файла (страница 4)
На рис. 2.11 изображена функциональная схема УА с принудительной адресацией. Управляющие сигналы формируются регистром микрокоманды (РМК), в который микрокоманда переписывается из ПЗУ микрокоманд по адресу, находящемуся в счетчике адреса (СЧА). Регистр РМК тактируется последовательностью 1, а счетчик адреса СЧА - последовательностью 2 : 1 & 2 = 0.
Начальный адрес микропрограммы, равный 000, устанавливается сигналом СБРОС, и УА ждет прихода сигнала СТРОБ для продолжения работы.
Не будем приводить принципиальную схему УА, поскольку она является стандартной. Пусть переход от функциональной схемы УА к принципиальной, выполненной на заданной элементной базе, станет составной частью проекта.
При построении принципиальной схемы выберем УА с жесткой логикой. поскольку он имеет более простую организацию, чем УА с программируемой логикой.
2.3.3. Построение принципиальной схемы
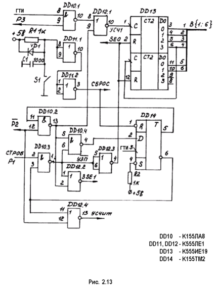
Будем строить наше устройство на элементах серии K155 и К555, так как они обеспечивают устойчивую работу на заданной тактовой частоте 5 МГц. Принципиальные схемы устройства, построенные по функциональным схемам рис. 2.7 и 2.10, изображены на рис. 2.12 и 2.13. Регистр данных РГД строится на четырех микросхемах 8-разрядных сдвигающих регистров К155ИР13. Управляющие сигналы SE0, SE1 обеспечивают запись кода А в регистр (SE0=1, SE1=1) и сдвиг влево (SE0=0, SE1=1), хранения (SE0=0, SE1=0).
Их получаем из диаграмм Карно. Диаграммы Карно строятся для управляющих сигналов, воздействующих на регистр, в данном случае это сигналы: УЗП, УСДВ.
SE0 = УЗП,
SE1 = УЗП + УСДВ = УЗП ↓ УСДВ
Здесь с учетом логических выражений (2.1) и выбранной элементной базы
УЗП = P1 / Q,
УСДВ = P2 / Q. (2.2)
Сигнал возбуждения Д-триггера на микросхеме DD14 типа К155ТМ2, используемого для построения УА, на основании (2.1) и (2.2) запишется следующим образом:
D = (P1 / Q1) / ( P2 / Q) = УЗП / УСДВ. (2.3)
Счетчик собирается на микросхеме К555ИЕ19, включающей два 4-разрядных асинхронных счетчика с последовательным переносом. Для его работы сигнал УСЧ необходимо стробировать тактовыми импульсами ГИ :
УСЧ1 = УСЧ ∙ τ = (УСДВ ∙ P3) τ = УСДВ ↓ ( P3 / τ)
Сигнал УСЧИТ в соответствии с (2.1) формируется на элементе DD12.4, выполняющем функцию ИЛИ-НЕ (стрелку Пирса):
УСЧИТ = P2 ∙ Q = P2 ↓ Q.
При его формировании необходимо организовать такой временной интервал между последним импульсом УСЧ1 и УСЧИТ, чтобы гарантировать завершение всех переходных процессов в последовательном счетчике на К555ИЕ19 (60 нс на четыре разряда, 90 нс на шесть разрядов). Работа устройства демонстрируется эпюрами напряжений на рис. 2.14. Суммарная задержка фронта импульса УСЧИТ относительно среза импульса УСЧ1 - не менее 100 нc. Таким образом, к началу импульса УСЧИТ все переходные процессы в счетчике DD13 завершатся, и выходной код В{1:6} установится.
Устройство требует для своего построения 14 корпусов микросхем, среди них: по четыре микросхемы К155ИР13 и К155ЛЕ3, по одной микросхеме K155ЛA2, К155ТМ2, К555ИЕ19, К155ЛА8 и две микросхемы К555ЛЕ1.
Разработанная схема обеспечивает время преобразования от 0,25 мкс (нулевой код) до 6,25 мкс (код всех единиц) при потребляемой от источника +5 В мощности 3,5 Вт.
2.4. ПОСТРОЕНИЕ УСТРОЙСТВА В ВИДЕ МИКРОПРОЦЕССОРНОГО ВЫЧИСЛИТЕЛЯ НА БИС КР580ВМ80
Микропроцессорный вычислитель имеет стандартную структуру. Поэтому его схему строить не надо. Единственной задачей остается создание программируемого контроллера интерфейса, обеспечивающего подключение к вычислителю источника и потребителя информации, управляющей программы обмена контроллера, называемой драйвером, и обрабатывающей программы.
В отличие от рассмотренных ранее вариантов построения преобразователя в виде самостоятельного устройства для микропроцессорного варианта подсчет числа единиц кода осуществляется с помощью обрабатывающей программы. Поэтому ее написание и отладка является важным этапом в построении устройства, включающем следующие шаги:
1) разработку обрабатывающего алгоритма;
2) составление программы на языке ассемблера;
3) отладку и выполнение программы.
Третий шаг требует дополнительных пояснений. Отладку и выполнение программы можно осуществить либо на микро ЭВМ и персональных ЭВМ, имеющих транслятор с языка ассемблера КР580ВМ80 или языков ассемблеров, включающих его как подмножество, либо на лабораторной микроЭВМ "Микролаб". В последнем случае необходимо выполнить ручное ассемблирование программы.
При составлении алгоритма необходимо учитывать, что микропроцессорный вычислитель имеет байтовую организацию памяти и 8-разрядную шину данных. Обобщим исходную задачу, положив, что входной код, число единиц которого подсчитывается после размещения его в памяти, занимает массив из n байтов.
Схема алгоритма изображена на рис. 2.15. Алгоритм включает в себя два цикла: подсчет числа единиц в текущем байте и накопление единиц при просмотре всех байтов. Входной код размещается в массиве БАЙТ_ДАННЫХ. Положение текущего байта в массиве определяется счетчиком байтов СЧ_БАЙТ. Положение текущего бита этого байта, предварительно помещенного в аккумулятор, определяется СЧ_БИТ.
Программа, реализованная по данному алгоритму, представлена на рис. 2.16. Просмотр битов текущего байта осуществляется путем сдвига аккумулятора, при этом анализируемый бит кода формирует значение признака переноса С. Окончание просмотра осуществляется по нулевому содержимому счетчика битов, расположенного в регистре В. Просмотр байтов кода завершается, когда обнуляется счетчик байтов, расположенный в регистре С. Программа загружается в ОЗУ по адресу 8000.
Для успешного выполнения курсовой работы необходимо, чтобы студент умел пользоваться и ориентироваться в научной и справочной литературе по тематике курсовой работы. Чтобы помочь студенту в этом, ниже приводится указатель литературы, сгруппированной по отдельным разделам работы.
РЕКОМЕНДУЕМАЯ ЛИТЕРАТУРА
Общие вопросы
1. Каган Б.М. Электронные вычислительные машины и системы. - М.: Энергоатомиздат, 1985.
2. Уокерли Дж. Архитектура и программирование микроЭВМ: В 2-х кн. - М.: Мир.1984.
3. Бруснецов Н.П. Микрокомпьютеры. - М.: Наука,1985.
4. Гилмор Ч. Введение в микропроцессорную технику. -М.: Мир, 1984.
5. Микропроцессоры; В 3-х кн. / Под ред. Л.Н. Преснухина. -М.: Высшая шкода, 1986.
6. Кондратьев P.M., Мельников Б.C., Щеглов А.В. Архитектура микропроцессорных вычислителей. - М.: МАИ, 1986.
Языки операционного описания, языки регистровых передач и синтез операционных устройств
7. Автоматизация проектирования вычислительных систем, языки моделирования и базы данных / Под ред. Брейера. М. - М.: Мир,1979.
8. Проектирование цифровых вычислительных машин / Под ред. С.А. Майорова. - М.: Высшая школа, 1972.
9. Майоров С.А., Новиков Г.И. Принципы организации цифровых машин. - Л.: Машиностроение, 1974.
10. Чу Я. Организация ЭВМ и микропрограммирование. - М.: Мир, 1975.
11. Силин В.Б., Мельников Б.C. Электронные вычислительные устройства. Операционный синтез. - М.: МАИ, 1982.
12. Силин В.Б., Мельников Б.С., Кондратьев P.M. Операционный синтез цифровых устройств. - М.: МАИ, 1985.
Построение управляющих автоматов
13. Силин В.Б., Мельников Б.С. Конечные автоматы: Учебное пособие. - М.: МАИ, 1978.
14. Лазарев В.Г., Пийль Е.И. Синтез управляющих автоматов. - М.: Энергия, 1978.
15. Баранов С.И. Синтез микропрограммных автоматов. -Л.: Энергия, 1978.
16. Специализированные ЦВМ / Под ред. В.Б. Смолова. - М.: Высшая школа, 1981.
Программирование микропроцессорных вычислителей
17. Григорьев В.Л. Программное обеспечение микропроцессорных систем. - М.: Энергоатомиздат, 1983.
18. Григорьев В.Л. Программирование однокристальных микропроцессоров. - М.: Энергоатомиздат, 1987.
Организация и технические средства микропроцессорных систем
19. Щелкунов Н.Н., Дианов А.П. Микропроцессорные средства и системы. - М.: Радио и связь, 1989.
20. Коффрон Дж. Технические средства микропроцессорных систем: Практический курс. - М.: Энергоатомиздат, 1983.
21. Коффрон Дж., Ленг В. Расширение микропроцессорных систем. - М.: Машиностроение, 1987.
22. Микропроцессорный комплект K1810: Структура, программирование, применение: Справочная книга / Под ред. Ю.М. Казаринова. -М.: Радио и связь, 1990.
23. Шевкопляс Б.В. Микропроцессорные структуры. Инженерные решения. - М.: Радио и связь, 1986.
Схемотехника электронных схем
24. Титце У., Шенк К. Полупроводниковая схемотехника. - М.: Мир, 1982.
25. Хоровиц П., Хилл У. Искусство схемотехники: в 2-х т. - М.: Мир, 1983.
Справочная литература
26. Интегральные микросхемы: Справочник / Под ред. Тарабрина В.В. - М.: Радио и связь, 1984.
27. Xвощ С.Т., Варлинский Н.Н., Попов Е.А. Микропроцессоры и микроЭВМ в системах автоматического управления: Справочник. -Л.: Машиностроение, 1987.
28. Шило В.Л., Популярные цифровые микросхемы: Справочник. - М.: Радио и связь, 1987.
29. Цифровые и аналоговые интегральные микросхемы: Справочник / Под ред. Якубовского С.В. - М.: Радио и связь, 1990.
30. Применение интегральных микросхем в электронной вычислительной технике: Справочник / Под ред. Файзулаева Б.Н., Тарабрина Б.В. - М.: Радио и связь, 1987.
31. Пухальский Г.И., Новосельцева Т.Я. Проектирование дискретных устройств на интегральных микросхемах: Справочник. - М.: Радио и связь, 1990 (681.142(03) П907; 621.3.049.77(035) П90).
32. Микропроцессоры и микропроцессорные комплекты интегральных микросхем: Справочник / Под ред. В.А. Шахнова. - М.: Радио и связь, 1988.
33. Лебедев О.Н. Микросхемы памяти и их применение. -М.: Радио и связь, 1990.
34. Полупроводниковые БИС запоминающих устройств: Справочник / Под ред. Гордонова А.Ю. и Дьякова Ю.Н. - М.: Радио и связь, 1990.
35. Большие интегральные схемы запоминающих устройств: Справочник / Под ред. Гордонова А.Ю. и Дьякова Ю.Н. - М.: Радио и связь, 1990.
36. Система документации единой системы ЭВМ / Под общ. ред. Ларионова A.M. - М.: Статистика, 1976.
37. Усатенко С.Т., Каченюк Т.К., Терехова М.В. Выполнение электрических схем по ЕСКД: Справочник. - М.: Изд-во стандартов, 1989.
38. Рудаков П.И. Финогенов К.Г. Программируем на языке ассемблера IBM PC в 4-х частях. М.:”Энтроп”, 1995 – 164с.
39. Финогенов К.Г Основы языка Ассемблера. М.: Радио и связь, 2001 – 288 с. ил. (681.141(075) Ф606)
40. Сван. Т. Освоение Turbo Assembler. – К.: “Диалектика”, 1996. – 544с., ил.
41. Пирогов В.Ю. Ассемблер для Windows. – 2-е изд. – СПб.: БХВ – Петербург, 2003 – 656с.: ил.
42. Зубков С.В. Assembler. Для DOS, Windows и Unix. – М.: ДМК, 1999.-640с., ил.
43. Магда Ю.С. Ассемблер. Разработка и оптимизация Windows приложений. – БВХ – Петербург, 2003. – 544с.: ил.
ОГЛАВЛЕНИЕ
1. Требования к выполнению и оформлению курсовой работы ....................................... 2
1.1. Цель и задачи курсовой работы ............................................................................. 2
1.2. Задание на курсовую работу .................................................................................. 2
1.3. Порядок выполнения курсовой работы ................................................................. 3
1.4. Оформление курсовой работы ............................................................................... 6
1.5. Календарный план выполнения курсовой работы ............................................... 7
2. Пример построения цифрового устройства ...................................................................... 9
2.1. Задание на проектирование ..................................................................................... 9
2.2. Комбинационная реализация устройства ............................................................. 10
2.3. Регистровая реализация устройства ...................................................................... 12
2.4. Построение устройства в виде микропроцессорного вычислителя на БИС KP580BM80 ..................................................................................................................................... 23
Рекомендуемая литература………………………………………………………………….24
27














