ОКТРЭС_курсовая (560408), страница 3
Текст из файла (страница 3)
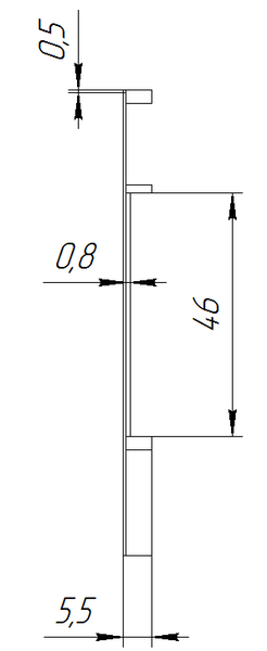
Анализ конструкции позволяет сделать вывод, что наиболее опасным участком с точки зрения воздействия вибрации в конструкции является функциональная ячейка на металлической рамке.
-
Расчет момента инерции сечения платы:
-
Расчёт момента инерции сечения рамки:
сечение рамки делим на пять элементарных сечений, для каждого из которых находим осевые и центробежные моменты.
Находим расстояния в плоскости изгиба сечения между центрами тяжести элементарного сечения и сечения рамки:
Находим площади сечений:
Момент инерции рамки:
-
Расчет цилиндрической жесткости:
Расчет цилиндрической жесткости платы:
Физические параметры материала платы (Стеклотекстолит СФ):
Модуль упругости Е=32*10^9 Па
Расчет цилиндрической жесткости рамки:
Физические параметры материала платы (Алюминий Д16):
Модуль упругости Е=71*10^9 Па
Расчет цилиндрической жесткости ФЯ:
-
Расчет частоты свободных колебаний:
- коэффициент отношения сторон
m – масса ФЯ
В итоге получаем:
Проверка виброустойчивости:
Отсутствие в конструкции механических резонансов характеризуется превышением частоты свободных колебаний наименее виброустойчивого элемента конструкции f над верхней частотой диапазона внешних вибрационных воздействий fо=100Гц как минимум в два раза. А по результатам расчёта данное превышение удовлетворяет этому условию, следовательно конструкция виброустойчива.
8 Расчёт надежности
Оценка надежности – это определение времени безотказной работы МСБ. P(t) – Вероятность безотказной работы.
T=10000 ч – время эксплуатации устройства.
Интенсивность отказов устройства определяют по формуле:
,
- эксплуатационное значение интенсивности отказов i-ого элемента, учитывающее внешние воздействия, влияние тепловых и электрических нагрузок, n- число элементов.
Тонкопленочные резистроры:
Тонкопленочные конденсаторы:
В итоге получаем:
Найдем среднее время наработки на отказ:
Вероятность безотказной работы:
9 Литература
1.Основы конструирования и технологии РЭС: Учебное пособие для курсового проэктирования/ Авт.: В.Ф. Борисов, А.А. Мухин, В.В. Чермошенский и др. -М.: Изд-во МАИ, 1998 - 128с.: ил.;
2.Чермошенский В.В.,Мухин А.А. Методические указания к курсовой работе "Конструирование и технология производства РЭА".- М.: "МАИ", 1985
17















