ВСН 52-89 (558376), страница 8
Текст из файла (страница 8)
8. Дожидаются пока отсчет по индикатору i после съезда автомобиля с точки измерения в течение 10 с не будет изменяться более чем на 0,005 мм и записывают его в журнал измерений.
9. Удвоенная разница отсчетов по индикатору до съезда автомобиля с точки и после съезда будет соответствовать прогибу покрытия в этой точке l:
l = 2 (i ‑ io). (1)
Закончив измерение прогиба на одной точке, переходят к другой. При переезде с одной контрольной точки на другую прибор можно не переводить в транспортное положение. Следует только снять индикатор и осторожно погрузить прибор в кузов автомобиля либо подвесить его на кронштейны сбоку автомобиля.
2. Передвижная лаборатория модели КП-502 МП для оценки несущей способности автомобильных дорог
Передвижная лаборатория модели КП-502 МП (рис. 2) состоит из комплекта приборов и оборудования для испытания дорожных одежд методами статического и кратковременного нагружения (установка динамического нагружения УДН-НК, длиннобазовый прогибомер модели КП-204, прибор для измерения расстояния КП-203, переносные гидравлические весы модели KП-205 и др.).
Рис. 2. Размещение основных приборов и оборудования в передвижной дорожной лаборатории КП-502 МП:
1 ¾ установка динамического нагружения УДН-ПК; 2 ¾ балка для крепления датчика; 3 ¾ тележка для крепления балки; 4 ¾ бензоэлектрический агрегат; 5 ¾ измерительная система сбора и обработки данных на базе микро-ЭВМ
Установку динамического нагдужения УДН-НК (навесную с гибким штампом) монтируют сзади кузова автомобиля (см. рис. 2). Особенность ее — передача усилия от падающего груза массой 250 кг через сдвоенные авиационные пневматические колеса, обеспечивающие площадь отпечатка и удельную нагрузку на покрытие эквивалентные отпечатку и нагрузке расчетного автомобиля группы А. Для подъема груза используют электродвигатель мощностью 1 кВт. Регистрацию прогибов осуществляют сейсмоприемником СВ-20. Измерительный датчик смонтирован на специальной тележке и находится между скатами пневматика. Аппаратура для сбора и первичной обработки данных испытаний расположена в кабине водителя. Нагружение дорожной одежды проводят с остановкой лаборатории в каждой точке испытания. Максимальная производительность УДН ¾ до 8 км/ч при 20 испытаниях на 1 км.
В процессе испытаний и при переездах от точки к точке сдвоенные пневматики находятся в контакте с дорожным покрытием. При длительных переездах установку приподнимают в транспортное положение.
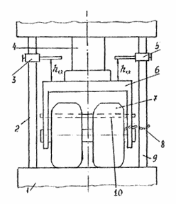
Рис. 3. Схема тарировки колеса для установки УДП-НК:
1 ¾ станина пресса; 2 и 9 ¾ направляющие пресса; 3 и 5 ¾ струбцины с жесткими пластинами, от которых измеряют сжатие (осадку) колеса под нагрузкой; 4 ¾ поршень пресса; 6 ¾ обойма для крепления колеса; 7 ¾ испытываемое колесо; 8 ¾ цепи, обеспечивающие безопасность работы; 10 ¾ стопорная чека; h1,2 ¾ расстояние от верха обоймы 6 до струбцины 3 и 5
Пневматические колеса, играющие роль амортизатора, требуют периодической тарировки ¾ тарировать нужно одновременно оба ската, чтобы осреднить некоторые их деформативные различия в условиях достаточно близких к условиям нагружения на дороге, где усилие также действует сразу на два ската. Покрышки скатов должны находиться в хорошем состоянии и иметь неизношенный протектор (рис. 3). Устанавливают скаты на гидравлическом прессе (1, 2, 4, 9) с максимальным усилием не менее 100 кН. Скаты закрепляют в специальной обойме (6), разместив их на том же расстоянии один от другого, как и в установке для испытаний. Обойма должна позволять поворачивать колесо (7) относительно его оси, но иметь стопорную чеку (10). Перед началом тарировки давление воздуха в камерах каждого ската должно быть доведено до 0,55 МПа, что соответствует давлению в камерах расчетного автомобиля. В этом случае давление от колес на испытываемую поверхность дороги с учетом жесткости шины составляет примерно 0,6 МПа. Колесо застопоряют тормозящей чекой, чтобы избежать выкатывания его под нагрузкой, и связывают легкой цепью (8) с направляющей пресса. Измеряют расстояния h2 между верхом обоймы и струбцинами (3) и (5) с точностью до 0,1 мм. Включают пресс и плавно сжимают скаты нарастающим усилием до 60-65 кН. Поддерживая прессом устойчивую нагрузку, измеряют расстояния h1 от верха обоймы до струбцин. Повторяют нагружение и измерение h2 и h1. Определяют среднее значение Dh = h1 - h2. Вычисляют показатель жесткости пневмоколеса d1:
(2)
где М — масса падающего груза УДН-НК, кг;
g — ускорение свободного падения (g = 9,81), м/с2;
Qсж — усилие сжатия пневмоколеса, при котором измеряли Dh, Н.
Величину динамического усилия Qg , развиваемого установкой динамического нагружения, определяют по формуле:
, (3)
где Кпот ¾ коэффициент потерь энергии (Кпот » 0,9);
Н — высота сбрасывания груза (обычно ~ 1 м), м.
ПРИЛОЖЕНИЕ 3
СОСТАВ И ОСНАЩЕНИЕ БРИГАДЫ, ПРОВОДЯЩЕЙ ПОЛЕВЫХ ИСПЫТАНИЯ. ОСНОВНЫЕ ПРАВИЛА ТЕХНИКИ БЕЗОПАСНОСТИ
В расчетный период года при проведении испытаний методом статического нагружения колесом автомобиля рекомендована бригада в составе четырех человек.
Одна бригада (при средней продолжительности работ около месяца и восьмичасовом рабочем дне) способна испытать 50-60 км дороги.
При проведении линейных испытаний руководитель бригады устанавливает прогибомер на точке измерения и берет отсчеты по индикатору, второй член бригады ведет записи в журнале испытаний, третий переставляет заборчики ограждения с дорожными знаками и регулирует движение в зоне производства работ, четвертый отмеряет расстояние до последующей точки испытаний.
При проведении испытаний на контрольных точках отпадает необходимость в измерении расстояний, поэтому четвертый член бригады отвечает за погрузку и выгрузку прогибомера и заборчиков ограждения в местах измерений. Второй член бригады, кроме ведения записей в журнале испытаний, отвечает за установку колеса автомобиля строго на контрольную точку (в пределах прямоугольника, отмеченного краской на покрытии). Обязанности остальных членов бригады не меняются. Дополнительно в состав бригады включают пятого человека для отрывки и засыпки шурфов, взятия проб грунта взвешивания их. Испытание дорожных конструкций на контрольных точках в расчетный период года производят через день с 14.00 до 17.00. Остальное время бригада может проводить линейные испытания.
| Перечень оборудования, притиров и инвентаря для оснащения бригады: | |
| Груженый автомобиль для создания нагрузки на дорожную одежду | 1 шт. |
| Легкий автомобиль для членов бригады (не требуется при использовании лаборатории КП-502МП) | 1 шт. |
| Прогибомер рычажный | 2 шт. |
| Индикатор часового типа (цена деления 0,01 мм) | 3 шт. |
| Прибор для измерения расстояний модели КП-203 или мерная лента и др. | 1 шт. |
| Ртутный термометр с пределами от -20°С до +50°С | 2 шт. |
| Переносные гидравлические весы модели П-205 | 1 шт. |
| Переносные заборчики и ограждения | 2 шт. |
| Дорожные знаки: | |
| Сужение дороги | 1 шт. |
| Ремонтные работы | 1 шт. |
| Направление объезда препятствия | 1 шт. |
| Милицейский жезл | 1 шт. |
| Краска, миллиметровая бумага, журналы работ, рулетка, бюксы | по потребности |
Вопрос о количестве бригад решается в каждом конкретном случае в зависимости от предстоящего объема работ. Например, можно предположить следующую методику расчета.
Количество бригад Бк, выполняющих испытание одежды на контрольных точках, рассчитывают по формуле:
где L — длина обследуемого участка дороги, км;
t*исп — время, затрачиваемое на испытание одной контрольной точки с учетом взятия проб грунта и взвешивания их, ч;
vcp — средняя скорость движения автомобиля при переездах от одной контрольной точки к другой, км/ч;
l* — среднее расстояние между контрольными точками в пределах рассматриваемого участка дороги длиной L, км;
Тисп — время испытания всех контрольных точек на рассматриваемом участке дороги, ч (рекомендуется принимать не более 2 ч).
Количество бригад, проходящих линейные испытания дорожной одежды Бл, определяют по формуле:
где Тр — продолжительность расчетного периода, дни;
Дк — длина полосы проезжей части, обследуемой одной контрольной бригадой за день, км/день (как правило, Дк = 2 км/день);
Дл — длина полосы проезжей части, обследуемой в день одной линейной бригадой, км/день (в среднем в зависимости от погодных условий, интенсивности движения транспорта, состояния покрытия, квалификации членов бригады Дл = 5 - 6 км/день).
В случае, если линейные испытания проводят методом кратковременного нагружения с использованием установки динамического нагружения УДН-НК, входящей в комплект передвижной дорожной лаборатории модели КП-502 МП, то длина полосы проезжей части, обследуемой за один восьмичасовой рабочий день, может достигать в среднем Д = 24 км/день при проведении испытаний через 50 м.
Расчет бригад по формулам (1) и (2) проводят подбором в следующей последовательности: задаются длиной участка L; определяют среднее расстояние между контрольными точками l*; по формуле (1) вычисляют количество бригад Бк. В случае получения дробного числа расчет повторяют при новой длине L.
По формуле (2) определяют количество линейных бригад Бл. В случае получения дробного числа расчет по формулам (1) и (2) повторяют при новой длине L.
При проведении испытаний в нерасчетный период года методом статического нагружения колесом автомобиля рекомендуемый состав бригады составляет шесть человек. Бригада выполняет как линейные испытания, так и испытания на контрольных точках. Четыре члена бригады выполняют работы по испытанию дорожных конструкций так же, как в расчетный период года. Два других выполняют отрывку и засыпку шурфов, берут пробы грунта и взвешивают их, контролируют температуру покрытия. За один восьмичасовой день бригада может обследовать 4 км дороги.
Все работы необходимо согласовать с дорожными организациями, обслуживающими намеченные к обследованию участки дороги, а также с организациями, отвечающими за безопасность движения на дороге.
В целях безопасности передвижная лаборатория КП-502 МП должна быть оборудована проблесковым маячком желтого цвета и при необходимости дополнительным световым табло ВНИМАНИЕ. Сзади автомобильной установки должен быть укреплен предписывающий дорожный знак «Направление объезда препятствия» и предупреждающий знак «Прочие опасности». Последний размещают впереди лаборатории при проведении работ на двухполосных и других дорогах без разделительной полосы, включая при этом фары ближнего света. При осуществлении испытаний на контрольных точках или линейных испытаний методом нагружения колесом автомобиля в зоне производства измерений необходимо устанавливать переносные ограждения с укрепленными на них дорожными знаками (рис. 1).
Личный состав бригады и водитель автомобиля, под колесом которого измеряют прогиб, должны быть проинструктированы руководителем испытаний. В процессе испытаний водитель обязан выполнять только сигналы руководителя бригады. Устанавливать прогибомер под колесом автомобиля можно только тогда, когда рычаг переключения передач находится в нейтральном положении и автомобиль поставлен на тормоза.
Рис. 1. Рекомендуемая схема установки ограждения и дорожных знаков в зоне производства работ при испытании дорожной одежды методом нагружения колесом автомобиля на контрольных точках с помощью передвижной лаборатории модели КП-502 MП:
1 ¾ Передвижная лаборатория; 2 ¾ дорожный знак "Направление объезда препятствия" (прикрепляется к кузову лаборатории); 3 ¾ заборчик ограждения со знаком "Ремонтные работы"; 4 ¾ то же, со знаком "Сужение дороги"; 5 ¾ осевая линия проезжей части
ПРИЛОЖЕНИЕ 4
ОСОБЕННОСТИ ПОСТРОЕНИЯ ГРАФИКА ПРОГИБ - ВРЕМЯ
Построение графика прогиб - время (рис. 1) следует выполнять в дискретном масштабе (по оси прогибов) исходя из точности повторных измерений прогибов на контрольных точках ±5 %. При этом следует иметь в виду, что с уменьшением абсолютной величины прогиба точность измерений становится соизмеримой и даже выше точности использованного в испытаниях измерительного прибора. Учитывая это, в зоне малых осадок сетку дискретного масштаба более правильно выбирать, ориентируясь на точность использованного прогибомера.















