ВСН 6-90 (558348), страница 25
Текст из файла (страница 25)
Величина коэффициента Км для двухслойного асфальтобетонного покрытия с нижним слоем из крупнозернистой смеси
| Интенсивность движения, | Относительная толщина двухслойного покрытия | |||||
| приведенная к | 0,2 | 0,3 | 0,4 | |||
| нагрузке 100 кН | Марка асфальтобетона | |||||
| на ось авт/сут. | I, II | III | I, II | III | I, II | III |
| 1 | 2 | 3 | 4 | 5 | 6 | 7 |
| 100 | 1 | 1 | 1 | 1 | 1 | 1 |
| 200 | 1,04 | 1 | 1 | 1 | 1 | 1 |
| 300 | 1,06 | 1,06 | 1 | 1 | 1 | 1 |
| 500 | 1,11 | 1,12 | 1 | 1 | 1 | 1 |
| 700 | 1,16 | (х) | 1,07 | (х) | 1 | (х) |
| 1000 | 1,2 | (х) | 1,15 | (х) | 1 | (х) |
| 2000 | (х) | (х) | 1,23 | (х) | 1 | (х) |
| 3000 | (х) | (х) | 1,29 | (х) | 1,06 | (х) |
| 5000 | (х) | (х) | (х) | (х) | 1,15 | (х) |
Примечание: Знак (х) обозначает, что при данной интенсивности движения соответствующая толщина слоя асфальтобетона не обеспечивает его необходимой прочности. При определении Етр.р по формуле (1.3) в расчет вводят одну из поправок: Кк или Км, при которой величина Етр.р приобретает большее значение.
3. Оборудование для оценки прочности дорожных одежд
3.1. Оборудование для оценки прочности дорожных одежд должно обеспечивать возможность возникновения и измерения упругого прогиба, соответствующего прогибу от колеса автомобиля. Это оборудование в соответствии с условиями действия расчетной нагрузки (см. п. 1.1.4) делится на две группы:
¾ оборудование для динамического нагружения;
¾ оборудование для статического нагружения.
Существующие дороги общего пользования рассчитаны на нагрузку группы А (100 кН на ось) или группы Б (60 кН на ось). Поскольку большинство дорог пропускают или в перспективе будут пропускать нагрузку, соответствующую группе А, на эту нагрузку следует ориентировать оборудование для оценки прочности дорожных одежд.
Основные характеристики нагрузки группы А, принимаемые при расчете, следующие:
Нормированная нагрузка Q, передаваемая дорожной одежде колесом автомобиля, кН:
¾ динамическая 65
¾ статическая 50
Среднее расчетное удельное давление колеса на покрытие 0,6 МПа.
Расчетный диаметр D следа колеса автомобиля, м:
¾ при динамической нагрузке 0,37
¾ при статической нагрузке 0,33.
Нагрузка, развиваемая испытательным оборудованием в целях повышения его компактности, снижения металлоемкости, энергоемкости и затрат на испытания, может быть понижена по сравнению с расчетной до 30%. Но при этом необходимо знать с точностью до 2 - 3 % фактическую величину усилия, развиваемого оборудованием, что позволяет с необходимой точностью вычислять фактический модуль упругости Еф по формуле (1.1).
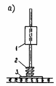
3.2. Динамическое нагружение можно производить падающим грузом (установки динамического нагружения), генератором колебаний (различные вибраторы) и колесом движущегося автомобиля. Наибольшее распространение в СССР имеют установки динамического нагружения с жестким штампом и с гибким штампом (рис. 1.1).
Принципиальная схема установок динамического нагружения
а ¾ установка с жестким штампом
б ¾ установка с гибким штампом
Рис. 1.1
Установки динамического нагружения с жестким штампом снабжено подвижным грузом 1, при сбрасывании которого на амортизатор 2 в виде стальной пружины или прокладки из упругого материала (например, специальная резина) возникает динамическое усилие, которое через круглый штамп 3, равновеликий отпечатку колеса расчетного автомобиля, воздействует на дорожную одежду (см. рис. 1.1. а).
Величину среднего удельного давления Р под жестким штампом диаметром D для данного динамического усилия вычисляют при расчете фактического модуля упругости Еф по формуле:
При расчете по формуле (1.4) принимают размерности Q ¾ в кН, D ¾ в м.
В установках динамического нагружения с гибким штампом (рис. 1.1. б) подвижной груз 1 при своем падении на амортизатор 2 передает динамическое усилие дорожной одежде через траверсу 3 и пневматическое колесо 4, которое одновременно играет роль и основного амортизатора, и гибкого штампа.
Величину диаметра круга D, равновеликого отпечатку колеса при удельном давлении воздуха в шинах Рш и динамической нагрузке для расчета фактического модуля упругости по результатам испытаний установкой динамического нагружения с гибким штампом вычисляют, используя зависимость:
В процессе расчета по формуле (1.5) следует принимать размерности Q ¾ в кН, Рш ¾ в МПа.
Для измерения вертикальных перемещений (прогибов) дорожной одежды при испытаниях установками динамического нагружения применяют различные датчики инерционного типа с фиксацией величины прогиба на магнитной или бумажной ленте, фотопленке и др. Возможно применение цифропечатающего устройства, позволяющего непосредственно в процессе испытаний выдавать на бумаге отпечатанные величины упругих прогибов, либо вычисленных по их величине модулей упругости. Применение магнитной ленты позволяет передавать результаты испытаний непосредственно на ЭВМ для их дальнейшей обработки.
Современные установки динамического нагружения работают в автоматическом или полуавтоматическом режиме, что обеспечивает им высокую производительность. Динамическая (кратковременная) нагрузка в наибольшей степени соответствует воздействию на дорожную одежду колеса движущегося на перегоне автомобиля. Особенно это относится к установкам динамического нагружения с гибким штампом (например, УДН-НК).
Модуль упругости дорожной одежды, определенный в результате испытаний установками динамического нагружения, является динамическим (Ед) и при оценке прочности дорожной одежды его следует сопоставлять с общим расчетным модулем (Етр.р), вычисленным, исходя из требуемого динамического модуля упругости (Етр.д)
Генераторы колебаний сообщают дорожной одежде многократно повторяющуюся колебательную нагрузку. При этом прочность дорожной одежды характеризуют по величине амплитуды колебаний одежды или по скорости распространения колебаний.
При испытаниях дорожной одежды колесом движущегося автомобиля осложнено измерение прогиба одежды. Поэтому большинство из таких установок для получения необходимых результатов должны двигаться со скоростью 2 - 5 км/час, что не соответствует распространенным скоростям движения автомобилей на перегоне. Установленные в этом случае модули упругости дорожной одежды можно характеризовать как модули при малой скорости нагружения (Еос) и их следует сопоставлять с общим расчетным модулем (Етр.р), вычисленным на основе требуемого модуля при малой скорости нагружения (Етр.ос).
3.3. Для измерения прогибов дорожной одежды при статическом нагружении применяют рычажные прогибомеры (наиболее распространен длиннобазовый прогибомер КП-204). В результате испытаний статической нагрузкой получают статические модули упругости (Ес), которые при оценке прочности следует сравнивать с общими расчетными модулями (Етр.р), вычисленными, исходя из требуемого статического модуля (Етр.с).
4. Подготовка к проведению детальных инструментальных испытаний
4.1. Подготовка к проведению испытаний на участках, намеченных в процессе визуальной оценки состояния дорожной одежды (см. подраздел 1.2 ), включает:
¾ анализ документации по обследуемым участкам дороги;
¾ внешний осмотр участков;
¾ назначение однообразных участков и контрольных точек;
¾ установление величины общего расчетного модуля упругости (см. подраздел 1.2);
¾ предварительное назначение числа испытаний на каждом однообразном участке.
4.2. Анализ документации предусматривает изучение:
¾ проектной и исполнительной документации по плану и продольному профилю обследуемой дороги;
¾ паспорта дороги с журналом производства ремонтных дорог;
¾ сводных ведомостей по учету движения за период после строительства или предыдущего капитального ремонта;
¾ отчетов или справок по результатам ранее проведенных обследований дороги, особенно испытаний для оценки прочности.
4.3. Визуальный осмотр дороги необходимо проводить при свободном от снега и льда покрытии, когда хорошо видны все имеющиеся дефекты.
4.4. В результате анализа документации и визуальной оценки обследуемой дороги заполняют журнал подготовки к проведению испытаний, форма которого и пример заполнения даны в табл. 1.7. при этом тип местности по характеру и степени увлажнения устанавливают в соответствии с Инструкцией ВСН 46-53. Тип грунта и конструкцию дорожной одежды определяют по паспорту дороги, а при отсутствии таких данных путем бурения или подкапывания со стороны обочины.
Таблица 1.7
Журнал подготовки к проведению испытаний
Наименование дороги ___________________________________
Категория дороги _______________________
| Километры+метры в начале частного участка | Конструкция дорожной одежды | Грунт земляного полотна | Тип местности по характеру и степени увлажнения | Перспективная интенсивность движения на полосу, приведенная к расчетной нагрузке 100 кН на ось и требуемый расчетный модуль упругости Етр.р. МПа | Границы однообразных участков и расположение контрольных точек | Состояние покрытия, зависящее от прочности одежды в баллах Б | Средневзвешенный балл на однообразном участке и предварительное число испытаний |
| 1 | 2 | 3 | 4 | 5 | 6 | 7 | 8 |
| 48 + 050 | Асфальтобетон мелкозернистый | Суглинок тяжелый пылеватый | 2 | начало 48+000 | 2,40 | ||
| 48 + 100 | 0,4 м | -"- | 1,65 | ||||
| 48 + 180 | Асфальтобетон крупнозернистый | -"- | 2,80 | ||||
| 48 + 250 | 0,08 м | -"- | 3,25 | ||||
| 48 + 340 | Щебеночный | -"- | 3,40 | ||||
| 48 + 520 | материал, укрепленный цементом | -"- | N = 1250 | контрольная точка 48+750 | 3,25 | Бср = 2,82 | |
| 48 + 620 | 0,20 м | -"- | -"- | 4,00 | |||
| 48 + 750 | Песчаный слой 0,30 м | -"- | Етр.р. = 350 | 1,2 м от правой обочины | 1,65 | nи = 25 исп. | |
| 48 + 830 | -"- | 2,80 | |||||
| 48 + 920 | -"- | 2,40 | |||||
| 49 + 020 | -"- | конец | 3,25 | ||||
| 49 + 080 | -"- | 49+100 | 3,00 |
Состояние покрытия, зависящее от прочности дорожной одежды, заносят в графу 7 (см. табл. 1.7) в баллах. Оценку в баллах производят в соответствии с Методикой визуальной оценки (см. приложение 4).
При разделении дороги на однообразные участки исходят из того, что каждый такой участок должен иметь одинаковые:















