Курс. по механ. Оригинал (552135), страница 2
Текст из файла (страница 2)
Основные требования к проектированию валов.
-
Каждая деталь должна иметь свое посадочное место.
-
Каждая деталь должна быть зафиксирована в осевом направлении.
Толщина корпуса (рассчитывается по формуле):
корп=0,02* awмах+(34) мм. округляем до целых.
корп=0,02*101,25+3,5=6 мм.;
Зазор между деталями (рассчитываем по формуле):
заз=(0,70,8)* корп мм. Округлить до целых.
заз=0,75*6=5 мм.;
Способы крепления колеса к валу.
-
Монолит – колесо и вал одно целое. Это самый надежный способ. Используется при условии, что диаметр колеса меньше или равен трем диаметрам вала (dК dВ).
-
Штифтовое соединение – присоединение колеса к валу при помощи штифта. Штифт – цилиндрический или конический стержень для неподвижного соединения деталей или для фиксации их при сборке.
-
Шпоночное соединение – соединение колеса и вала при помощи шпонки. Шпонка – деталь призматической, клинообразной или другой формы, устанавливаемая в пазах двух соприкасающихся деталей и предотвращающая их относительный поворот.
-
Шлицевое соединение – соединение деталей машин, в котором выступающие на одной детали (валу) зубья входят в пазы (шлицы) другой детали. Детали в шлицевом соединении могут быть подвижными или не подвижными одна относительно другой.
Чертеж колеса.
Ступица – центральная, обычно утолщенная часть колеса, маховика и других подобных деталей. Имеет отверстие для оси или вала, соединена с ободом колеса спицами или диском.
Для снижения эффекта маховика в диске колеса делают отверстия, при этом оно становить легче, следовательно у него легче и быстрей можно изменять скорость вращения, остановить или придать вращение. Так же снижается количество материала.
Диаметр и длина ступицы (рассчитываем по формуле):
dст.=lст.=(1,331,8)*dв мм.
dв.=d2в Хмм., где - величена на которую увеличивают или уменьшают диаметр вала для того чтобы колесо имело своё собственное место. Так как каждая деталь должна быть зафиксирована в осевом направлении, то для этого изменим диаметр вала. Минимально допустимый диаметр вала 26,31 мм.
Толщина обода колеса (рассчитываем по формуле):
Соб.=(23)*m мм.
Толщина диска (рассчитываем по формуле):
Должна быть примерно одну треть от толщины колеса.
Сдиск.=(0,30,33)* bw мм.
Геометрические параметры отверстий в диске колеса (рассчитываем по формуле):
Должны быть примерно по центру и быть в диаметре одну треть от “размера” диска.
dцентр.отв.=( da+dcт.)/2 мм.
dотв.=( da-dcт.)/5 мм.
Расчет геометрических параметров для колеса Z2.
Так как каждая деталь должна иметь свое посадочное место, то после посадки подшипника увеличим диаметр вала на два миллиметра.
dст.=lст.=(1,331,8)*(d2в Хмм.)=1,375*32=44 мм.
Соб.=(23)*m=2,65*1,5=4 мм.
Сдиск.=(0,30,33)* bw=0,33*17,25=6 мм.
dцентр.отв.=( da2+dcт.)/2=(115,5+44)/2=80 мм.
dотв.=( da2-dcт.)/5=(115,5-44)/5=14 мм.
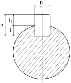
| Диаметр вала | Размер сечения | Глубина паза | |||
| от | До | B | H | t | t1 |
| 17 | 22 | 6 | 6 | 3,5 | 2,8 |
| 22 | 30 | 8 | 7 | 4 | 3,3 |
| 30 | 38 | 10 | 8 | 5 | 3,3 |
Д
ля фиксирования второго колеса на валу будем использовать шпоночное соединение. Шпонку выбираем по ГОСТ 23360-78 в соответствии с диаметром вала. Длину шпонки берем на 46 мм. Меньше длины ступицы соответствующего колеса. На чертеже можно не обозначать фаски на шпонке так как они предполагаются ГОСТ’ом. Для данного колеса геометрические размеры шпонки будут такие: l=38 мм.; b=10 мм.; h=8 мм.;
t=5 мм.; t1=3.3 мм.
Расчет геометрических параметров для колеса Z2’.
Второе штрих колесо изготавливаем как единую деталь с валом то есть монолит. Принимаем, что диаметр ступицы будет равен диаметру вала под подшипник то есть 30 мм.
dст.=lст.= 30 мм.
Из расчетов для второго штрих колеса видно, что отверстия для уменьшения эффекта маховика в данном колесе сделать нельзя (D2’=42,5 мм.; Da2’=47.5 мм.; Df2’=36.25 мм.).
Проектирование второго вала.
Начинаем проектирование второго вал с одной из его опоры – левого подшипника. При проектировании учитываем зазор между деталей. Чертим подшипник по его размерам и показываем, что он закреплен в опоре. Для того чтобы каждая деталь имела свое посадочное место увеличиваем диаметр вала под второе колесо. Между левым подшипником и вторым колесом показываем кольцо, которое будет фиксировать и второе колесо и подшипник от смещения. Изобразим зазор между вторым колесом и вторым штрих колесом как конус с большим диаметром под второе колесо, для его закрепления, а меньшим к ступицы второго штрих колеса. Аналогично покажем зазор между вторым штрих колесом и левым подшипником. Для крепления подшипника используем крышку. Которую прикрепим к корпусу при помощи трех винтов. Крышка не плотно прилегает к валу и имеет технологические отверстия для удобства технического обслуживания. Между правым подшипником и крышкой установим резиновую манжету с пружиной (для того чтобы манжета плотно прилегала к валу). Манжета нужна для того чтобы не вытекали смазочные материалы, не попадала грязь и т.д. Так как второй вал имеет выход, то продлим его. Уменьшим диаметр вала. Покажем на нем шпонку для крепления чего-либо. Ее выбираем по ГОСТу для соответствующего диаметра вала. На конце вала начертим стопорное кольцо, которое выбираем по ГОСТу в зависимость от диаметра вала.
Манжета.
Манжету выбираем по ГОСТ’у для соответствующего диаметра вала (30 мм.).
Манжета резиновая ГОСТ 58752-79.
| Диаметр вала | D | H | h1 | |||
| 1 род | 2 род | 3 род | 1, 2 род | 3 род | ||
| 17 | 32 | 30 | 29 | 7 | 6 | 10 |
| 20 | 35 | 34 | 32 | 7 | 6 | 10 |
| 25 | 42 | 38 | 39 | 10 | 7 | 14 |
| 30 | 52 | 50 | 45 | 10 | 7 | 14 |
Выбираем винт.
Резьба для винта определяется по формуле.
Dвинт=0,9*копр*3копр=0,9*6*36=86 мм.
Принимаем резьбу винта равную 6 мм.
Dшляп.винт=10 мм.; hшляп=4 мм.;
l винт =(22,5)*Dвинт=15 мм.
Геометрические параметры для крышки.
Рассчитываем по формулам.
Dкр.=Dподш+2*3*Dвинт=62+2*3*6=98 мм.
На сборочном чертеже необходимо указать основные размеры. Указываем габаритные размеры, показываем колеса, диаметр вала в местах контакта с другими деталями. Реальные размеры детали отличаются от требуемых, для этого используют Единую Систему Допусков и Посадок и квалитеты. В зависимости от типа соединения выделяют посадку с зазором, посадку с натягом, существует также третий тип, который является средним между первыми двумя типами соединения деталей в системе “вал – отверстие”. Для характеристики посадки деталей существует ряд основных отклонений для валов и для отверстий. Установлено 28 основных отклонений, которые обозначаются буквами латинского алфавита (прописные буквы для отверстий, строчные для валов). А … Н - посадка с зазором, Q … N – переходная посадка, P … Z – посадка с натягом. Квалитет – характеристика точности изготовления различных деталей, определяющая значения допусков. Установлено 19 квалитетов в порядке уменьшения точности (00, 0, 1, 2, …, 18).
















