ГОСТ 21.602-79 (с изм. 1 1981) (523623), страница 2
Текст из файла (страница 2)
обозначения стояков систем отопления.
На планах, кроме того, указывают наименования помещений (типы помещений — для жилых зданий) и категорию производств по взрывной, взрывопожарной и пожарной опасности (в прямоугольнике размером 5´8 мм), а на разрезах — отметки уровней осей трубопроводов и круглых воздуховодов, низа прямоугольных воздуховодов, опорных конструкций установок, верха выхлопных воздуховодов вытяжных систем. Допускается наименования помещений и категорию производств по взрывной, взрывопожарной и пожарной опасности приводить в экспликации помещений.
В типовых проектах зданий (сооружений) для двух и более расчетных температур наружного воздуха и (или) для двух и более этажей, номер этажа, расчетную температуру наружного воздуха, данные о нагревательных приборах, указанных на плане, приводят в таблице (черт. 4).
Для одного этажа
Для двух и более этажей
Черт. 4
При наличии на чертеже нескольких таблиц допускается наименование граф приводить только на одной из них (черт. 5).
Черт. 5
В типовых проектах зданий (сооружений) для двух и более расчетных температур наружного воздуха диаметры трубопроводов, при необходимости, указывают в таблице. При наличии на чертеже нескольких таблиц допускается наименование граф приводить только на одной из них, а также исключать отдельные графы повторяющихся показателей (черт. 6).
Черт. 6
На чертеже планов систем помещают таблицу местных отсосов от технологического оборудования по форме 3. Допускается таблицу местных отсосов приводить на отдельных листах.
Форма 3
Местные отсосы от технологического оборудования
Продолжение формы 3
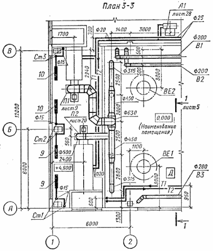
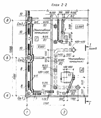
3.1.8. В наименовании планов указывают отметку чистого пола этажа или номер этажа, например: “План на отм. 6,000”, “План 2 — 9 этажей”, а в наименовании разрезов — их порядковый номер, например: “Разрез 1—1”.
При выполнении двух или более планов на разных уровнях в пределах этажа в наименованиях планов указывают обозначение плоскости горизонтального разреза систем, например: “План 2—2”.
При выполнении части плана систем в наименовании указывают оси, ограничивающие эту часть плана, например: “План на отм. 0,000 между осями 1—8 и А—Д”.
Примеры оформления планов систем приведены на черт. 7 и 8, разреза — на черт. 9.
Черт. 7
Черт. 8
Черт. 9
3.2. Схемы систем
3.2.1. Схемы систем выполняют в аксонометрической фронтальной изометрической проекции в масштабе 1:100 или 1:200, узлы схем — в масштабе 1:10, 1:20 или 1:50. При небольших зданиях для схем систем принимают масштаб 1:50.
3.2.2. На схемах элементы систем показывают условными графическими обозначениями.
3.2.3. При большой протяженности и (или) сложном расположении воздуховодов и трубопроводов допускается изображать их с разрывом в виде пунктирной линии. Места разрывов воздуховодов и трубопроводов обозначают строчными буквами.
3.2.4. На схемах систем отопления указывают:
трубопроводы и их диаметры;
отметки уровня осей трубопроводов;
уклоны трубопроводов;
размеры горизонтальных участков трубопроводов (при наличии разрывов);
неподвижные опоры, компенсаторы и нетиповые крепления с указанием на полке линии-выноски обозначения элемента и под полкой обозначения документа;
запорно-регулирующую арматуру;
стояки систем отопления и их обозначения;
нагревательные приборы;
контрольно-измерительные приборы и другие элементы систем.
Примеры оформления схем систем отопления и теплоснабжения установок показаны на черт. 10 и 11.
Черт. 10
Черт. 11
3.2.5. Для жилых зданий допускается выполнять схемы систем отопления только на подземную часть здания. Для надземной части здания выполняют схемы стояков и, при необходимости, схему разводки по чердаку.
3.2.6. На листе, где изображены схемы систем отопления и теплоснабжения установок, как правило, приводят:
схемы узлов управления системами отопления и теплоснабжения установок (черт. 12);
таблицу размеров компенсаторов по форме 4;
узлы схем систем отопления и теплоснабжения установок (черт. 13).
Черт. 12
Форма 4
Размеры компенсаторов, мм
Черт. 13
В наименованиях узлов управления указывают номер узла, например: “Узел управления 1”. Допускается к схеме узла управления выполнять спецификацию узла.
На узлах схем систем отопления и теплоснабжения установок систем для запорно-регулирующей арматуры указывают на полке линии-выноски диаметр арматуры и под полкой—обозначение арматуры по каталогу. Допускается приводить обозначение запорно-регулирующей арматуры на схемах систем отопления и теплоснабжения установок.
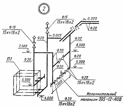
3.2.7. На схемах систем вентиляции и кондиционирования воздуха указывают:
воздуховоды, их диаметры (сечения) и количество проходящего воздуха в м3/ч (черт. 14);
отметки уровня оси круглых и низа прямоугольных воздуховодов;
оборудование вентиляционных установок;
контуры технологического оборудования, имеющего местные отсосы (в сложных случаях);
лючки для замеров параметров воздуха и чистки воздуховодов, марки лючков и обозначение документа (черт. 15);
местные отсосы, их обозначения и обозначения документов.
Черт. 14
Черт. 15
Для встроенных (поставляемых комплектно с технологическим оборудованием) местных отсосов обозначение его и документа не указывают;
регулирующие устройства, воздухораспределители, нетиповые крепления (опоры) и другие элементы систем с указанием на полке линии-выноски обозначения элемента системы и под полкой — обозначения документа.
Примеры оформления схем систем вентиляции показаны на черт. 16 и 17.
Черт. 16
Черт. 17
3.2.8. В наименовании схемы системы отопления, для двух и более систем в здании, указывают номер системы.
В наименовании схемы системы теплоснабжения установок указывают обозначения установок.
В основной надписи наименование схем систем отопления и теплоснабжения установок указывают полностью, например: “Схема системы отопления 1”, “Схема системы теплоснабжения установок П1, П2, А1, А2”, над схемами — сокращенно, например: “Система отопления 1”, “Система теплоснабжения установок П1, П2, А1, А2”.
3.2.9. В наименованиях схем систем вентиляции и кондиционирования воздуха указывают обозначения систем.
В основной надписи наименования схем систем вентиляции и кондиционирования воздуха указывают полностью, например: “Схемы систем П5, В8”, над схемами — сокращенно, например: “П5”, “В8”.
4. ЧЕРТЕЖИ УСТАНОВОК СИСТЕМ
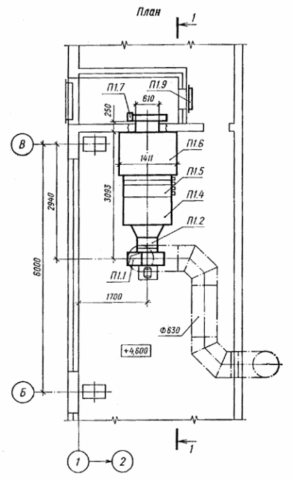
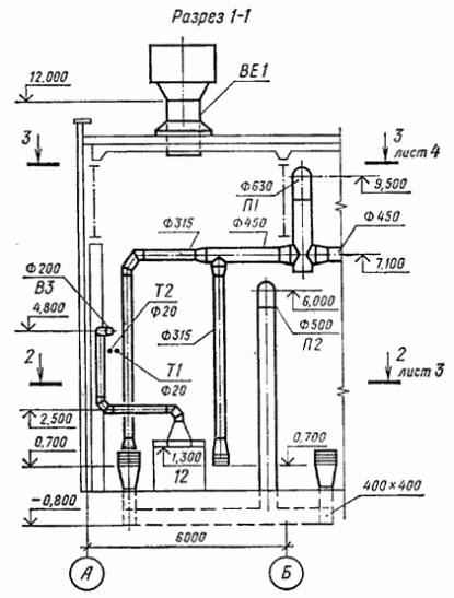
4.1. Планы и разрезы установок систем выполняют в масштабе 1:50 или 1:100, узлы установок — в масштабе 1:20, при детальном изображении узлов — в масштабе 1:2, 1:5 или 1:10.
4.2. На планах и разрезах установок систем элементы установок изображают упрощенно.
При необходимости показа способов крепления составных частей установки или их соединения между собой соответствующие элементы изображают детально.
4.3. На планах и разрезах установок систем указывают:
координационные оси здания (сооружения) и расстояния между ними;
основные размеры, отметки и привязки установок к координационным осям здания (сооружения).
4.4. Воздуховоды на планах установок изображают утолщенными штрих-пунктирными линиями, на разрезах — основными сплошными линиями.
Трубопровод обвязки воздухоохладителя изображают одной линией при диаметре трубопровода до 100 мм и двумя линиями — при диаметре более 100 мм.
4.5. На планах и разрезах, кроме элементов установок, указывают строительные конструкции и отборные устройства для установки контрольно-измерительных приборов.
Примеры оформления планов и разрезов установок систем показаны на черт. 18 и 19.
Черт. 18
Черт. 19
4.6. Элементам установок систем присваивают позиционные обозначения, состоящие из обозначения установки, указанного в п. 1.4, и порядкового номера элемента в пределах установки, например: “П1.1”, “П1.2”, “В5.1”, “В5.2”.
4.7. Спецификацию установок систем помещают, как правило, на чертеже планов установок.
Пример оформления спецификации установок систем приведен на черт. 20.
4.8. На чертежах установок систем приводят, при необходимости, технические требования к монтажу установок.
4.9. В наименованиях установок систем указывают обозначения установок.
В основной надписи наименование установок указывают полностью, например: “Установки систем П1, В1”.
Спецификация отопительно-вентиляционных установок
* Обозначение технических условий, допускается указывать наименование завода-изготовителя.
Черт. 20
5. ЧЕРТЕЖИ ОБЩИХ ВИДОВ НЕСТАНДАРТНЫХ (НЕТИПОВЫХ) КОНСТРУКЦИЙ СИСТЕМ
5.1. Чертежи общих видов нестандартных (нетиповых) конструкций систем выполняют в объеме, необходимом для разработки конструкторской документации на стадии технического задания по ГОСТ 2.103—68.
5.2. Чертеж общего вида нестандартной (нетиповой) конструкции должен содержать:
изображения конструкции (виды, разрезы, сечения), текстовые указания и надписи, необходимые для понимания устройства конструкции;
наименования составных частей конструкции (при необходимости);
размеры и другие наносимые на изображении данные;
схему, если она требуется.
5.3. Изображения нестандартной (нетиповой) конструкции выполняют с максимальными упрощениями.
5.4. Наименования составных частей нестандартной (нетиповой) конструкции на чертеже общего вида указывают на полках линий-выносок.
5.5. В текстовых указаниях, помещаемых на чертеже общего вида нестандартной (нетиповой) конструкции, приводят исходные данные, необходимые для разработки технического задания (технические требования к разрабатываемой конструкции и применяемым материалам, данные о рабочей среде, нагрузки на конструкцию, требования к изготовлению, монтажу и окраске, особые требования к конструкции — взрывобезопасность, кислотостойкость и др.).
5.6. Чертежи общих видов нестандартных (нетиповых) конструкций систем выполняют в масштабе 1:5, 1:10, 1:20 или 1:50.
5.7. В основной надписи чертежа общего вида наименование нестандартной (нетиповой) конструкции должно соответствовать принятой терминологии и быть по возможности кратким. В наименованиях нестандартных (нетиповых) конструкций указывают порядковый номер конструкции в пределах каждого вида конструкции, например: “Отсос 1”, “Отсос 2”, “Воздухораспределитель 1”.
Пример оформления чертежа общего вида нестандартной (нетиповой) конструкции приведен на черт. 21.
Черт. 21














