Главная » Просмотр файлов » Записка_Сойко2

Записка_Сойко2 (520014)

Файл №520014 Записка_Сойко2 (Записка Сойко)Записка_Сойко2 (520014)2013-09-12СтудИзба
Просмтор этого файла доступен только зарегистрированным пользователям. Но у нас супер быстрая регистрация: достаточно только электронной почты!

Текст из файла

Министерство образования и науки Российской Федерации

Государственное образовательное учреждение

высшего профессионального образования

МОСКОВСКИЙ ЭНЕРГЕТИЧЕСКИЙ ИНСТИТУТ

(технический университет)

Кафедра основ конструирования машин

Расчетно-пояснительная записка

к курсовому проекту

по курсу

«Прикладная механика»

Тема: ПРИВОД К ЦЕПНОЙ РЕШЕТКЕ КОТЛА

МИФТ 002006.000 ПЗ

Группа ТФ-02-04

Студент Сойко Г.В.

Преподаватель Писарев Д.С.

Москва 2006 г.

М ОСКОВСКИЙ ЭНЕРГЕТИЧЕСКИЙ ИНСТИТУТ

(технический университет)

Кафедра основ конструирования машин

ТЕХНИЧЕСКОЕ ЗАДАНИЕ № 007

к курсовому проекту

по курсу "Прикладная механика"

ТЕМА: Привод подвесного цепного конвейера

Вариант № 006

Студент________________ Группа__________________

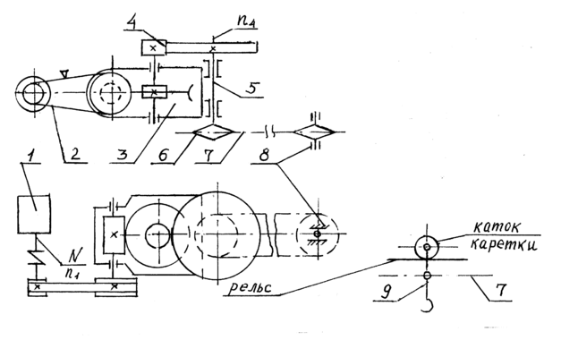
Схема и краткое описание прототипа

Обозначения:

  1. Электродвигатель

  2. Передача клиноременная

  1. Редуктор червячный

  2. Передача зубчатая открытая

5. Вал конвейера (ведущий)

6. Звездочка цепного

конвейера (ведущая)

  1. Цепь пластинчатая

  2. Устройство натяжное

  3. Каретка

Подвесной цепной конвейер предназначен для транспортировки деталей на сборку. Он крепится специальными подвесками к потолку цеха. Детали подвешиваются к каретке 9, которая передвигается за счет цепи 7 и шарнирно с ней соединена. В качестве привода цепного конвейера используется электромеханическая система, состоящая из электродвигателя 1, клиноременной передачи 2, червячного редуктора 3 и открытой зубчатой передачи 4. С колеса открытой зубчатой передачи движение передается на вертикально расположенный вал 5 конвейера и далее на ведущую звездочку цепи.

Рекомендуемые материалы:

1. Этапы выполнения, методические рекомендации и список литературы приведены на стендах кафедры ОКМ.

2. Чертежи прототипов редукторов и узлов механизмов находятся в атласах по деталям машин (авторы: Решетов, Дашкевич, Цехнович и др.)

З адание на курсовой проект

  1. Разработать технический проект червячного редуктора.

  2. Разработать конструкцию предохранительной муфты, встроенной в шестерню открытой передачи.

  3. Выполнить рабочие чертежи деталей.

Исходные данные (техническая характеристика)

Наименование, размерность

Вариант

nn

1

2

3

4

5

6

7

8

1.

Тип электродвигателя

4А90L2У3

4А90L4У3

4А90L6У3

2.

Мощность электродвигателя N, кВт

3

2,2

1,5

3.

Частота вращения вала двига-теля n1,об/мин

2840

1425

935

4.

Частота вращения ведущего вала конвейера n4, об/мин

25

20

15

10

15

12

8

10

5.

Срок службы h, ч

24 000

Консультант_______________________

СОДЕРЖАНИЕ

Задание на курсовой проект 3

1. Подбор двигателя и передаточных чисел ступеней привода 5

2. Кинематический и силовой расчет привода 6

3. Выбор материалов зубчатой пары и расчет допускаемых напряжений 7

4. Проектирование зубчатой передачи. Расчет основных геометрических параметров зубчатой пары 10

5. Проверочные расчеты передачи 10

6. Предварительные расчеты валов, конструктивных размеров шестерни, зубчатого колеса и выбор подшипников 15

6.1. Предварительные оценки диаметров валов 15

6.2. Выбор форм и определение конструктивных размеров шестерни и зубчатого колеса 16

6.3. Предварительный подбор подшипников 16

7. Определение основных размеров корпусных деталей. Первый (упрощенный) этап эскизной компоновки 18

8. Расчетные схемы валов. Расчет усилий в зацеплении, реакций в опорах и проверка долговечности подшипников 18

8.1. Силы в зацеплении 18

8.2. Реакции в опорах быстроходного вала и расчет подшипников 19

8.3. Реакции в опорах вала тихоходного вала и расчет подшипников 20

9. Построение эпюр и уточненный расчет валов на жесткость и прочность 23

9.1. Построение эпюр изгибающих и крутящего моментов 23

9.2. Расчеты тихоходного вала на выносливость 28

10. Конструирование и проверка прочности шпоночных соединений 30

10.1. Соединение выходного конца быстроходного вала с полумуфтой 30

10.2. Шпоночные соединения зубчатых колес с валами 30

10.3 Соединение на выходном конце тихоходного вала…………… ...30

11. Выбор сорта масла 31

12. Назначение посадок сопряженных деталей и схемы характерных посадок. 31

13. Модернизация редуктора 32

14. Спецификация 33

15. Список использованных источников 34

  1. Подбор двигателя и передаточных чисел ступеней привода

ЗАДАНО:

В состав привода входят:

1. Электродвигатель;

2. Механическая передача 1(Мех.устройство1 - МУ1)

3. Механическая передача 2(Мех.устройство2 - МУ2)

4. Исполнительное устройство(не показано)

Проводим анализ потребной мощности на валу и частоты вращения вала на входе исполнительного устройства :

ПО ЗАДАНИЮ:

ПРИНИМАЕМ КПД устройств:

Общий КПД:

Требуемая мощность электродвигателя:

ПРИНИМАЕМ двигатель мощностью 1.1 кВт:

мощность двигателя не меньше требуемой

Ориентировочные значения передаточных чисел привода

при различных типах двигателя:

3000 об/мин

1500 об/мин

1000 об/мин

750 об/мин

для упрощения

ПРИНИМАЕМ передаточные числа устройств:

По заданию МУ1 -зубчатый редуктор

МУ2 - цепная передача

выбрали по справочнику вторую ступень

По полученным значениям принимаем двигатель типа 90LB8

c асинхронной частотой вращения 700 об/мин мощностью 1.1 кВт.

  1. Кинематический и силовой расчет привода

n1 =nДВ - частота вращения вала двигателя

Здесь n1 и n2 частоты вращения входного и выходного валов редуктора, n3 частота вращения исполнительного устройства

Мощности на валах редуктора (МУ1) и (МУ2) определяются след. образом .

Угловые частоты вращения валов

  1. Выбор материалов зубчатой пары и расчет допускаемых напряжений

Принимаем для изготовления колес распространенную сталь 45

с термообработкой (Таб.2.8)

Шестерня Колесо

Сталь 45

Улучшение( до диаметров 80 мм)

Сталь 45

Улучшение (д более 80

Твердость поверхностей зубьев по Бринеллю (Табл. 2.6,2.7 [1])

3.1. Допускаемые контактные напряжения

3.1.1. Допускаемые контактные напряжения при базовом числе циклов нагружения, МПа (Табл.2.7 [1])

3.1.2. Базовое число цикло нагружения (Табл. 2.6, 2.7 [1])

3.1.3. Число циклов перемены напряжения

Срок службы:

3.1.4. Коэффициент долговечности

3.1.5. Ограничения на коэффициент долговечности

Принимаем:

Коэффициент безопасности,

3.1.6. Допускаемые контактные напряжения, МПа

Принимаем:

3.2. Допускаемые изгибные напряжения

3.2.1. Допускаемые изгибные напряжения при базовом числе циклов нагружения ,МПа (Табл. 2.7)

3.2.2. Базовое число циклов нагружения (Табл. 2.7.)

3.2.3. Число циклов перемены напряжения

3.2.4. Коэффициент долговечности

3.2.5. Ограничения на коэффициент долговечности

Принимаем

3.2.6. Допускаемые изгибные напряжения, МПа

  1. Проектирование зубчатой передачи. Расчет основных геометрических параметров зубчатой пары

Проверочные ра4.1.МЕЖОСЕВОЕ РАССТОЯНИЕ

Межосевое расстояние аw должно быть больше или равно

Принимаем следующие значения параметров, входящих в расчетную формулу (1)

4.1.1. Вспомогательный коэффициент, учитывающий механические свойства материалов колес . (табл. 2,9 )

4.1.2. Коэффициент распределения нагрузки по ширине венца. (табл.2.11 [1])

4.1.3. Относительная ширина венца колеса (табл.2.23 [1]),

4.1.4. Расчетное значение межосевого расстояния, мм

Характеристики

Тип файла
Документ
Размер
861,5 Kb
Тип материала
Высшее учебное заведение

Тип файла документ

Документы такого типа открываются такими программами, как Microsoft Office Word на компьютерах Windows, Apple Pages на компьютерах Mac, Open Office - бесплатная альтернатива на различных платформах, в том числе Linux. Наиболее простым и современным решением будут Google документы, так как открываются онлайн без скачивания прямо в браузере на любой платформе. Существуют российские качественные аналоги, например от Яндекса.

Будьте внимательны на мобильных устройствах, так как там используются упрощённый функционал даже в официальном приложении от Microsoft, поэтому для просмотра скачивайте PDF-версию. А если нужно редактировать файл, то используйте оригинальный файл.

Файлы такого типа обычно разбиты на страницы, а текст может быть форматированным (жирный, курсив, выбор шрифта, таблицы и т.п.), а также в него можно добавлять изображения. Формат идеально подходит для рефератов, докладов и РПЗ курсовых проектов, которые необходимо распечатать. Кстати перед печатью также сохраняйте файл в PDF, так как принтер может начудить со шрифтами.

Список файлов курсовой работы

Записка Сойко
Записка_Сойко2.doc
Свежие статьи
Популярно сейчас
Почему делать на заказ в разы дороже, чем купить готовую учебную работу на СтудИзбе? Наши учебные работы продаются каждый год, тогда как большинство заказов выполняются с нуля. Найдите подходящий учебный материал на СтудИзбе!
Ответы на популярные вопросы
Да! Наши авторы собирают и выкладывают те работы, которые сдаются в Вашем учебном заведении ежегодно и уже проверены преподавателями.
Да! У нас любой человек может выложить любую учебную работу и зарабатывать на её продажах! Но каждый учебный материал публикуется только после тщательной проверки администрацией.
Вернём деньги! А если быть более точными, то автору даётся немного времени на исправление, а если не исправит или выйдет время, то вернём деньги в полном объёме!
Да! На равне с готовыми студенческими работами у нас продаются услуги. Цены на услуги видны сразу, то есть Вам нужно только указать параметры и сразу можно оплачивать.
Отзывы студентов
Ставлю 10/10
Все нравится, очень удобный сайт, помогает в учебе. Кроме этого, можно заработать самому, выставляя готовые учебные материалы на продажу здесь. Рейтинги и отзывы на преподавателей очень помогают сориентироваться в начале нового семестра. Спасибо за такую функцию. Ставлю максимальную оценку.
Лучшая платформа для успешной сдачи сессии
Познакомился со СтудИзбой благодаря своему другу, очень нравится интерфейс, количество доступных файлов, цена, в общем, все прекрасно. Даже сам продаю какие-то свои работы.
Студизба ван лав ❤
Очень офигенный сайт для студентов. Много полезных учебных материалов. Пользуюсь студизбой с октября 2021 года. Серьёзных нареканий нет. Хотелось бы, что бы ввели подписочную модель и сделали материалы дешевле 300 рублей в рамках подписки бесплатными.
Отличный сайт
Лично меня всё устраивает - и покупка, и продажа; и цены, и возможность предпросмотра куска файла, и обилие бесплатных файлов (в подборках по авторам, читай, ВУЗам и факультетам). Есть определённые баги, но всё решаемо, да и администраторы реагируют в течение суток.
Маленький отзыв о большом помощнике!
Студизба спасает в те моменты, когда сроки горят, а работ накопилось достаточно. Довольно удобный сайт с простой навигацией и огромным количеством материалов.
Студ. Изба как крупнейший сборник работ для студентов
Тут дофига бывает всего полезного. Печально, что бывают предметы по которым даже одного бесплатного решения нет, но это скорее вопрос к студентам. В остальном всё здорово.
Спасательный островок
Если уже не успеваешь разобраться или застрял на каком-то задание поможет тебе быстро и недорого решить твою проблему.
Всё и так отлично
Всё очень удобно. Особенно круто, что есть система бонусов и можно выводить остатки денег. Очень много качественных бесплатных файлов.
Отзыв о системе "Студизба"
Отличная платформа для распространения работ, востребованных студентами. Хорошо налаженная и качественная работа сайта, огромная база заданий и аудитория.
Отличный помощник
Отличный сайт с кучей полезных файлов, позволяющий найти много методичек / учебников / отзывов о вузах и преподователях.
Отлично помогает студентам в любой момент для решения трудных и незамедлительных задач
Хотелось бы больше конкретной информации о преподавателях. А так в принципе хороший сайт, всегда им пользуюсь и ни разу не было желания прекратить. Хороший сайт для помощи студентам, удобный и приятный интерфейс. Из недостатков можно выделить только отсутствия небольшого количества файлов.
Спасибо за шикарный сайт
Великолепный сайт на котором студент за не большие деньги может найти помощь с дз, проектами курсовыми, лабораторными, а также узнать отзывы на преподавателей и бесплатно скачать пособия.
Популярные преподаватели
Добавляйте материалы
и зарабатывайте!
Продажи идут автоматически
7031
Авторов
на СтудИзбе
260
Средний доход
с одного платного файла
Обучение Подробнее