4.2.2 ( ИЗ 8 ) (1272628)
Текст из файла
11
ИЗ №8 Вар 15 (N*+0) // 4.2.2
I) Внешняя спецификация программы
1) Задача: Составить программу для решения уравнения f(x)=0 на отрезке [A;B] с точностью Е методом деления отрезка пополам.
f(x)=
2) Состав данных:
| Тип | Имя | Смысл | Структура |
| Входные данные | |||
| вещ | A | левая крайняя точка аргум. | простая переменная |
| вещ | B | правая крайняя точка аргум. | простая переменная |
| вещ | EPS | заданная послед. c точн. Е | одномерн. массив; 5 элементов |
| Выходные данные | |||
| вещ | K | корень уравнения | массив одномерный, 5 элементов |
| цел | IT | количество итераций | простая переменная |
| EPS | заданная точность | простая переменная | |
| Промежуточные данные | |||
| цел | J | номер столбца | простая переменная |
3) Входная форма:
| <A> <B> <EPS(1)> <EPS(2)> .. <EPS(5,5)> |
4) Выходная форма:
| О | RESULT |
| О | Корень Точность ЧислоИТ |
| О | Нет решения |
5/6) При декомпозиции задачи выделим следующие подпрограммы:
1 - Определение значения заданной функции
2 - Определить значение функции с заданной точностью
7) Вычислительных аномалий нет.
8) Тесты:
| № | Назначение | Входные данные | Выходные данные |
| 1 | Получение положительного результата | 0 2 0.01 0.005 0.0005 0.0002 0.00001 | RESULTAT Koren Tochnost Chislo IT 1.6210938 0.01000 8 1.6191406 0.00500 9 1.6179199 0.00050 12 1.6179810 0.00020 14 1.6180305 0.00001 18 |
| 2 | Получение отрицательного результата | 15 17 0.01 0.005 0.0005 0.0002 0.00001 | RESULTAT Net resheniya na zadannom intervale |
Внутренняя спецификация программы
Подзадача 1: Определение значения заданной функции
| Тип | Имя | Смысл | Структура |
| Входные данные | |||
| вещ | X | аргумент | простая переменная |
| Выходные данные | |||
| вещ | FX | значение функции | простая переменная |
начало
3адать: Х
FX:=
Передать: FX
конец
function OTV(X,FX)
Подзадача 2: Определить значение функции с заданной точностью
| Тип | Имя | Смысл | Структура |
| Входные данные | |||
| вещ | F | заданная функция | функция |
| вещ | OA | левая крайняя точка аргум. | простая переменная |
| вещ | OB | правая крайняя точка аргум. | простая переменная |
| вещ | E | заданная точность | простая переменная |
| Выходные данные | |||
| вещ | PK | корень уравнения | массив одномерный, 5 элементов |
| цел | KIT | количество итераций | |
| Промежуточные данные | |||
| вещ | TA | текущее значение функ. в кр.лев.точк.аргум. | простая переменная |
| вещ | TB | текущее значение функ. в кр.прав.точк.аргум. | простая переменная |
| вещ | FS | значение функции в середине | простая переменная |
| вещ | S | текущий аргумент | |
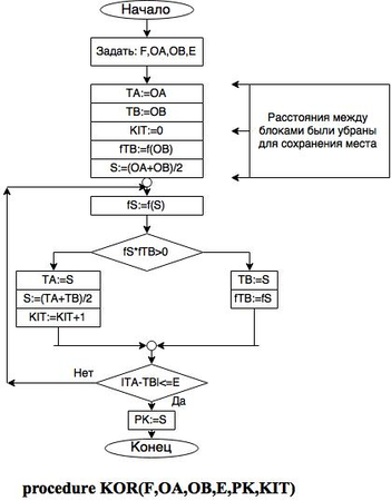
procedure KOR(F,OA,OB,E,PK,KIT)
II) Алгоритмы
Основной алгоритм Вспомогат. алгоритм
III) Паскаль программа
PROGRAM IZ8;
TYPE PROC=function(x:real):real;
var EPS:array[1..5] of real;
A,B,K:real;
IT,J:integer;
fp1,fp2:text;
FUNCTION OTV(x:real):real;
begin
OTV:=(exp((1/7)*ln(x))+ln(x+0.3))/(sqrt(x+1)-x);
end;
PROCEDURE KOR(F:PROC;OA,OB,E:real; var PK:real; var KIT:integer);
var TA,TB,fS,S,fTB:real;
begin
TA:=OA;
TB:=OB;
KIT:=0;
fTB:=f(OB);
S:=(OA+OB)/2;
repeat
fS:=f(S);
if fS*fTB>0 then
begin
TB:=S;
fTB:=fS;
end
else
TA:=S;
S:=(TA+TB)/2;
KIT:=KIT+1;
until abs(TA-TB)<=E;
PK:=S;
end;
BEGIN
assign(fp1,'IZ8TEST*.pas'); { * - номер теста }
assign(fp2,'IZ8OTV*.pas'); { * - номер теста }
reset(fp1);
rewrite(fp2);
readln(fp1,A,B);
for J:=1 to 5 do
read(fp1,EPS[J]);
writeln(fp2,' ':22,'RESULTAT');
if (K<=B)and(K>=A) then
begin
writeln(fp2,' ':10,'Koren',' ':7,'Tochnost',' ':3,'Chislo IT');
for J:=1 to 5 do
begin
KOR(OTV,A,B,EPS[J],K,IT);
writeln(fp2,' ':7,K:10:7,' ':5,EPS[J]:7:5,' ':7,IT);
end;
end
else
writeln(fp2,' ':11,'Net resheniya na zadannom intervale');
close(fp1);
close(fp2);
END.
Характеристики
Тип файла документ
Документы такого типа открываются такими программами, как Microsoft Office Word на компьютерах Windows, Apple Pages на компьютерах Mac, Open Office - бесплатная альтернатива на различных платформах, в том числе Linux. Наиболее простым и современным решением будут Google документы, так как открываются онлайн без скачивания прямо в браузере на любой платформе. Существуют российские качественные аналоги, например от Яндекса.
Будьте внимательны на мобильных устройствах, так как там используются упрощённый функционал даже в официальном приложении от Microsoft, поэтому для просмотра скачивайте PDF-версию. А если нужно редактировать файл, то используйте оригинальный файл.
Файлы такого типа обычно разбиты на страницы, а текст может быть форматированным (жирный, курсив, выбор шрифта, таблицы и т.п.), а также в него можно добавлять изображения. Формат идеально подходит для рефератов, докладов и РПЗ курсовых проектов, которые необходимо распечатать. Кстати перед печатью также сохраняйте файл в PDF, так как принтер может начудить со шрифтами.
бр.1 













