Пояснительная записка (1233964), страница 3
Текст из файла (страница 3)
На тепловозах ТЭМ7А, циркуляции охлаждающей воды в секциях происходит следующим образом. На рисунке 1.4 изображена схема циркуляции воды. Нагретая вода обоих контуров дизеля поступает в верхние водяные коллекторы 1, протекает по секциям охлаждения 3 и 4, охлаждается, а затем поступает в нижние водяные коллекторы 2 и уходит обратно. В данном случае вода основного контура протекает через одиннадцать секций параллельными потоками. Таким же образом вода дополнительного контура протекает через девятнадцать секций.
Рисунок 1.4 – Схемы циркуляции воды в секциях охлаждения[22]:1 – верхний водяной коллектор; 2 – нижний водяной коллектор; 3 – секции охлаждения основного контура; 4 – секции охлаждения дополнительного контура; 5 – соединительная головка; 6-9 – вентили
У тепловоза ТЭМ2 водяная система имеет также два больших контура циркуляции: основной и дополнительный, горячего и холодного. Схема водяной системы тепловоза представлена на рисунке 1.5. Вода горячего контура охлаждает гильзы, крышки цилиндров, и турбокомпрессор.Вода холодного контура служит для охлаждения наддувочного воздуха.
Рисунок 1.5 – Схема водяной системы тепловоза ТЭМ2[22]: 1 – дизель; 2, 3 – водяные насосы первого и второго контуров соответственно; 4 – воздухоохладитель; 5 – охладитель масла; 6, 7 – радиаторные секции первого и второго контуров; 8 – водяной коллектор
После остановки дизеля циркуляция воды в системе практически отсутствует. Ввиду этого можно предположить, что различные элементы системы обладают разными темпами охлаждения, причем наиболее охлаждаемыми являются радиаторные секции с их развитой поверхностью со стороны воздуха.
1.2.3 Масляная система на тепловозах ТЭМ7А и ТЭМ2
Системы смазки тепловозов предназначены: для создания необходимого давления, подачи масла к узлам трения дизеля и вспомогательных агрегатов, отвода тепла от них, удаления продуктов износа и частиц нагара, попадающих между трущимися поверхностями.
В общем случае, масляная система тепловоза состоит из внутренней и внешней.
Внутренняя масляная система дизеля представляет собой совокупность каналов и трубок в деталях, обеспечивающих подвод масла ко всем механизмам деталей, и принципиально одинакова у всех рассматриваемых тепловозов.
Внешняя система смазки обеспечивает циркуляцию, очистку и охлаждение смазочного масла, забираемого из картера дизеля и подводимого к его масляному коллектору.
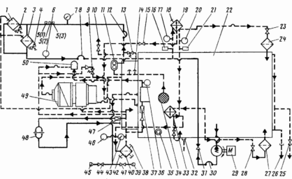
Масляная система тепловоза ТЭМ7А, предназначена для подачи масла к трущимся поверхностям дизеля с целью их смазки и охлаждения поршней Все основные узлы и трубопроводы масляной системы, кроме фильтров тонкой очистки, трубопроводов к нему, заправочного и сливного трубопроводов, маслопрокачивающего насоса, установлены на дизель-генераторе. В систему входит масляный насос, фильтр грубой очистки масла, два центробежных фильтра, два охладителя масла, два полнопоточных фильтра тонкой очистки и маслопрокачивающий насос.
В дизеле применена принудительная система смазки под давлением. Схема масляной системы изображена на рисунке 1.6. Масло охлаждается водой дизеля в двух охладителях масла 19 и 33, навешенных на дизеле.
Рисунок 1.6 – Схема масляной системы[21]: 1,3 – фильтры масла; 2,4 – клапаны предохранительные; 5 – датчик температурного реле; 6, 17, 20, 36, 46 – грибок под манометр; 7 – электротермометр; 8, 12, 30 – гибкие соединения, 9 – клапан предохранительный; 10 – вентиль отбора проб масла; 11 – насос масляный, 13 – клапан; 14, 42 – пробки слива масла; 15, 41, 44 – вентиль; 16, 21 – грибки под ртутный термометр; 18, 38 – вентили выпуска воздуха; 19, 33 – охладитель масла; 22 – дизель; 23, 28 – клапаны запорные; 24, 27 – фильтры масла центробежные; 26 – вентиль слива отстоя при продувке ресивера; 26 – труба слива масла и топлива с полок блока; 29 – насос маслопрокачивающий; 31 – клапан невозвратный; 32 – заправочная горловина; 34 – маслозаборник; щуп контроля уровня масла; 37, 47 – клапаны редукционные; 39, 45 – заглушки; 40 – фильтр грубой очистки масла; 43 – манометр дистанционный; 48 – гидроредуктор; 49 – турбокомпрессор; 50 – реле давления
В масляную систему тепловоза ТЭМ2 входят: главный масляный насос, маслопрокачивающий насос, насос центробежного фильтра, фильтры для очистки масла, секции холодильника, перепускной, обратный и регулирующий клапаны, трубопровод, а также контрольные и защитные приборы. Количество масла 400 кг. На рисунке 1.7 изображена схема масляной системы тепловоза.
Рисунок 1.7 – Принципиальная схема масляной системы тепловоза ТЭМ2[22]: МПА – маслопрокачивающий агрегат; МН – масляный насос; ФТО, ФГО – соответственно фильтры тонкой и грубой очистки масла
Масло из картера забирается насосом и под давлением подается по трубопроводу, через обратный клапан, в секции холодильника. Охлажденное масло через фильтры грубой очистки поступает в масляную магистраль дизеля. После смазки деталей и узлов масло сливается в картер дизеля.
-
Топливная система на тепловозах ТЭМ7А и ТЭМ2.
Топливная система предназначена для подачи топлива из подвесного бака к топливным насосам высокого давления дизеля. Схема топливной системы тепловоза изображена на рисунке 1.8.
Рисунок 1.8 – Топливная система[21]: 1 – пробка сливная; 2, 24, 31 – краны; 3, 30 – стекла топливомерные; 4, 29 – заливные горловины; 5, 28 – трубы вентиляционные; 6, 27 – щупы; 7 – фильтр грубой очистки; 8 – клапан предохранительный; 9 – топливоподкачивающий агрегат; 10, 13, 21 – присоединения к трубопроводу дизеля; 11 – топливоподогреватель; 12 – грибок под манометр; 14 – фильтр тонкой очистки; 15 – манометр дистанционный; 16 – демпфер; 17 – клапан подпорный; 18 – дизель-генератор; 19 – кран выпуска воздуха; 20 – топливометр; 22 – отвод топлива, просочившегося через форсунки; 23 – подвод воздушной магистрали; 25 – фильтр воздушный; 26 – дроссель; 32 – клапан слива топлива; 33 – бак топливный
Топливо полностью стекает в бак, который имеет контакт с окружающей средой, после остановки дизеля. Поэтому, околостенные слои топлива в баке, охлаждаются более интенсивнее, чем масла в картере. Однако, полная теплоемкость топлива и его масса достаточно велики, а это значит, что переохлаждение топлива, находящегося в баке, маловероятно.
Подводя итог выше сказанному, можно заключить, что в наиболее худших условиях, с точки зрения сохранения тепловой энергии, находится водяная система дизеля, особенно ее второй контур.
-
Обоснование теоретических исследований
Низкая температура воды и масла в соответствующих системах дизелей тепловозов, работающих с небольшими нагрузками и без нагрузки, в значительной степени объясняется несовершенством конструкции систем циркуляции теплоносителей, в том числе отсутствием необходимых перепусков жидкостей, позволяющих аккумулировать теплоту в системах. Это вызвано также значительной протяженностью трубопроводов систем и большой площадью поверхности теплообмена радиаторов, что приводит к сравнительно интенсивному отводу теплоты от теплоносителя за счет естественной конвекции. При снижении температуры наружного воздуха от минус 20 °С до минус 50 °С теплорассеивающая способность охлаждающего устройства значительно возрастает, и суммарные потери теплоты превышают сравнительно небольшие тепловыделения в дизеле, что приводит к значительным понижениям температуры теплоносителей в процессе эксплуатации, а также усложняет процесс прогрева силовой установки на стоянке.
Низкая температура воды и масла в системах дизеля также обусловлена уменьшением теплосодержания воздуха в кузове локомотива. При работающем дизеле температура воздуха в дизельном помещении в различных зонах имеет значение от 0 до минус 10 °С при температуре окружающего воздуха от минус 30 °С до минус 36 °С. Данное явление имеет место вследствие инфильтрации холодного наружного воздуха через неплотности кузова при понижении давления воздуха в дизельном помещении ниже атмосферного. Это становится возможным при воздухоснабжении дизеля и электрических машин из дизельного помещения. При значительном снижении теплосодержания воздуха в дизельном помещении тепловоза увеличиваются тепловые потери во вспомогательных системах, ухудшаются индикаторные показатели дизеля на режимах холостого хода и частичных нагрузок.
Исследования, направленные на совершенствование процесса прогрева силовых установок тепловозов определили целесообразность поддержания определенной температуры только в водяной системе охлаждения дизеля за счет ее циркуляции, так как топливо в баке и масло, сосредоточенное в картере дизеля охлаждаются значительно медленнее воды. За счет циркуляции воды поддерживается примерно одинаковая температура во всех интенсивно охлаждающихся участках.
2 ОБЗОР СУЩЕСТВУЮЩИХ ТИПОВ ПРОГРЕВА ТЕПЛОВОЗА
2.1 Классификация систем прогрева силовых установок тепловозов
На деповских путях тепловозы простаивают на открытом воздухе. Температура воды и масла, при остановке дизеля, снижается особенно быстро при температуре окружающего воздуха ниже нуля. Поэтому, рекомендуемой инструкцией по эксплуатации тепловозов прогрев силовой установки осуществляется, для поддержания в диапазоне температуры воды и масла. Прогрев тепловоза, можно обеспечить двумя способами:
- подводом тепла от внешнего источника энергии (специального подогревателя) при неработающем дизеле;
- работой самого дизеля.
Первый способ прогрева силовых установок называется предпусковым, второй – самопрогревом или послепусковым.
Известны три способа предпускового прогрева силовых установок, находящихся в отстое:
- использование тепловой энергии котельных установок депо;
- использование электроэнергии от стационарного источника;
-использование работающих на жидком топливе или газе котлов-подогревателей.
Система самопрогрева поддерживает в системах дизеля на определённом уровне температуру теплоносителей. Этот уровень для охлаждающихся масла и воды не должен быть ниже 40–45 °С. Это обеспечивает постоянную готовность тепловоза к принятию нагрузки. Такую температуру можно поддерживать двумя способами:
-порционной подачей тепла, путем периодического прогрева и охлаждения силовой установки в заданном температурном интервале;
- плавным изменением количества тепла, которое подается от источника в системы дизеля, в зависимости от состояния окружающей среды.
Для тех систем прогрева, где источником энергии используется дизель (режим самопрогрев), подходит только второй способ, так как регулировка поступления тепла в системы может быть только ступенчатой и зависящей от устанавливаемого скоростного режима работы. В данном случае процесс прогрева силовой установки делится на два последовательных цикла – прогрева и охлаждения.
Самопрогрев силовой установки тепловоза является наименее эффективным способом, как с точки зрения сохранения эксплуатационной надёжности, так и с точки зрения экономической эффективности. Построенная на основе конструктивно-функциональных признаков, классификация систем прогрева силовых установок тепловоза, представлена на рисунке 2.1.
Все системы прогрева делятся на стационарные и бортовые. Стационарные системы прогрева базируются на мощных установках и электрических подстанциях, которые обеспечивают прогрев одновременно нескольких тепловозов. Недостатком таких систем является необходимость выделения специальных путей отстоя тепловозов, строительство раздаточных колонок, теплоподготовительных пунктов и т. д.
Бортовые системы монтируются на нескольких или одной секциях тепловоза и являются, по отношению к стационарным источникам энергии, автономными, что, несомненно является их преимуществом.
Прежде всего, для прогрева силовой установки, необходим генератор теплоты. В простейшем варианте системы прогрева им служит дизель, который при работе тепловоза в режиме холостого хода, отдаёт в виде тепла до 55% энергии, внесённой с топливом в охлаждающую воду и масло. Эффективность прогрева силовой установки дизелем существенно зависит от скоростного режима работы дизеля, теплотехнического состояния прогреваемых элементов и от параметров окружающей среды.















