Техн. карта (1233287), страница 2
Текст из файла (страница 2)
Перед устройством кровли из К ромэла основание должно быть сухим, обеспыленным, на нем не допускаются уступы, борозды и другие неровности.
2 .12 . Основание должно соответствовать требованиям СНиП II-26-76 «Кровли. Нормы проектирования». Основание должно быть ровным, прочным, без трещин и отслоений, сухим, очищенным от мусора обеспыленным, имеющим проектный уклон к водосточным воронкам.
2 .13 . При устройстве выравнивающей стяжки из цементно-песчаного раствора укладку его производить полосами шириной не более 2 м , ограниченные рейками, которые служат маяками. Раств ор можно подавать к месту укладки по трубопроводам при помощи раст воронасосов или в бадьях, емкостях. Разравнивают цементн о- песчаную смесь правилом.
2.14 . В стяжках выполняют те мперату рно- усад очны е швы шириной 5 мм, разделяющие стяжку из цементно-песчаного раствора на участки не более 6 ´ 6 м, а из песчаного асфальтобетона - на участки не более 4 ´ 4 м. Швы должны располагаться над швами несущих плит (в холодных покрытиях) и над те мперату рно-ус ад очны ми швами в монолитной теплоизоляции.
2 .15 . Железобетонные плиты и выравнивающие цементн о-песчаны е стяжки ог рунто вы ваютс я составом, который готовят на строительной площадке путем разбавления клеящей мастики Маст мэ л растворителем (толуол, нефрас С4 -150/200 ) в соотношении 1 :4 и перемеш ивания до полной однородности.
Наносят грунтовочный состав вручную валиками или механизированным способом при помощи агрегата безвоздушного распыления 7000 Н (Рис. 4).
2.16 . На температурно-усадочные швы в стяжках укладывают полосы из стеклоткани, рубероида или пергамина с точечной приклейкой с одной стороны шва (Рис. 5).
2 .17 Подготовка основания из старого кровельного ковра заключается в следующем:
очистка от грязи, листьев, песка, наплывов битума, посторонних предметов, удаление воды с кровли и просушка влажных мест, выравнивание поверхности;
в местах вздутий , механических повреждений необходимо сделать крестообразный разрез кровельного ковра и, отогнув разрезанные края в стороны, очистить вскрытую поверхность от пыли, грязи, высушить, нанести мастику, выдержать «до отлипа» и тщательно прижать от краев к разрезу. На место разреза наклеить заплату из Кромэла на мастике, перекрывающую поврежденный участок на 100 мм;
очистка водоприемных воронок от грязи, наплывов битума, устранение засоров стояков (перед очисткой воронок их следует закрыть пробками для исключения попадания мусора в стояки);
ремонт карнизных свесов;
съем колпаков и прижимных колец водоприемных , воронок и очистка их от старых ге рмети ков;
для удаления воды из старог о кровельного ковра пр овод ят его тепловую обработ ку.
2.18 . Основание в местах примыкания к стенам, шахтам трубам и другим выступающим конструктивным элементам при применении Кромэла не требует переходных бортиков или выкружек.
2.19 . Работу по устройству кровельного ковра из Кромэла начинают с разбивки площади крыши на захватки.
Устройство кровельного ковра в пределах рабочих захваток начинают с пониж е нных участков - карнизных свесов, ендов и водосточных воронок.
2 .20 . Во дои золяци онны й слой у водосточных воронок усиливают снизу дополнительным одним слоем Кромэла размером не менее 1000 ´ 1000 мм (Рис. 6).
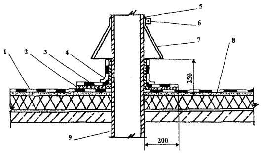
2 .21. В ендовах, на коньковых и карнизных участках крыш и над деформационн ыми швами устраивают дополнительный слой водои золяци онн ого ковра: в ендове - не менее 750 мм с каждой стороны от линии перегиба крыши (Рис. 7); в коньковой части - до 500 мм с каждой стороны от линии перегиба крыши (Рис. 8); на карнизе - до 1000 мм (Рис. 9); над деформационными швами - 1000 мм (Рис. 10).
2 .22 . Устройство кровельного ковра методом наклейки выполняют в следующей последовательности:
рулон раскатывают в нужном месте , передвигают, выравнивают, обрезают при необходимости края. При подгонке концы полотнищ заводят на вертикальные стенки на высоту не более 100 мм. Закончив подгонку, полотнище скатывают;
на основание на ширину полотнища Кромэла наносят вручную валиками или а гр ег атом 7000 Н мастику Мастмэл толщиной слоя 1 мм и выдерживают ег о до тех пор, пока он перестанет прилипать при прикосновении сухим пальцем (до « отлипа» );
на основание с нанесенной мастикой раскатывают рулон Кромэла, разглаживают, устраняют складки и морщины, а затем прикатывают дифференциал ь ным катком.
2 .23 . В местах нахлесток смежные полотнища на ширину 100 мм
обезжиривают растворителем, сушат и наносят шовный клей К Р-88 (ТУ 201 -951 -10 -96 ) и после выдержки клея до «отлипа» соединяют полотнища с последующей п рикаткой мест нахлестки валиком с мягкой обкладкой.
2 .24 . Наклейку с использованием ленты Гермэ л осуществляют так:
первое полотнище подгоняют, не сдвигая, складывают пополам (по ширине) и промазывают мастикой основание и отогнутую половину полотнища ;
после подсыхания мастики до «отли л а», начинают притирать отогнутую половину рулона к обработанному мастикой основанию по всей длине, выгоняя из-под него пузыри воздуха и расправляя складки;
отгибают не приклеенную половину рулона , наносят на нее и основание мастику и приклеивают;
последующий рулон разматывают, укладываю и выравнивают;
края смежных полотнищ обезжиривают растворителем на ширину 80 мм, укладывают на край нижнего полотнища ленту Гермэл;
наклеивают на основание верхнее полотнище указанным выше способом и прикатывают готовый стык роликом в направлении поперек шва (Рис. 11).
2 .25 . При сырой погоде или температуре воздуха ниже +5 ° С края смежных полотнищ перед нанесением клея и размещением ленты Гермэл прогревают строительным феном.
2 .26 . При устройстве примыканий кровли к стенкам или высоким парапетам выше 450 мм в месте сопряжения основания и вертикальной стенки наклеивают ленту Гермэл-200 . На ленту укладывают водои золяци онны й ковер М астмэла. Дополнительный водоизоляци онны й слой Маст мэла приклеивают к основному и к стене с наклейкой ленты Гермэл. Верхний край дополнительного водои золяционного ковра посредством металлической рейки прикрепляют к парапету и закрывают металлическим фартуком (Рис. 12).
В местах примыкания кровли к парапетам высотой до 450 мм дополнительный слой заводят на парапет, приклеивают к парапету лентой Гермэл и обделывают кровельной сталью (Рис. 13)
2 .27 . Места пропуска через кровлю труб выполняют с применением стальных патрубков с фланцами и герметизацией кровли в этом месте (Рис. 14).
Рис. 5 Температу рно-усад очны й шов в стяжке
1 - стяжка; 2 - шов; 3 - грунт овка по стяжке; 4 - полоса кровельного материала; 5 - точечная приклейка полосы с одной стороны шва; 6 - Кромэ л
Рис. 6 Устройство кровли в местах установки водосточных воронок
1 - основной кровельный ковер из Кромэла; 2 - дополнительный слой Кромэла; 3 - колпак водоприемной воронки; 4 - зажимной хомут; 5 - чаша водоприемной воронки; 6 - воронка внутреннего водостока; 7 - выравнивающая стяжка
Рис. 7 Деталь конструкции ендовы
1 - основание под кровлю; 2 - основной кровельный ковер из Кромэла; 3 - дополнительный водои золяци онны й слой из Кромэла
Рис. 8 Деталь конструкции конька
1 - основание под кровлю; 2 - основной кровельный ковер из Кромэла; 3 - дополнительный водоизоляционный слой из Кромэла
Рис. 9 Устройство кровли на карнизном свесе
1 - основной кровельный ковер из Кромэла; 2 - дополнительный слой Кромэла; 3 - герметизирующая лента Гермэл; 4 - стяжка под кровельный ковер; 5 - крепежный элемент; 6 - металлический фартук
Рис. 11 Склейка кровельного ковра лентой Гермэл
1 - нижнее полотнище Кромэла; 2 - верхнее полотнище Кромэла; 3 - отогнутый край полотнища; 4 - герметизирующая лента Гермэл
Рис. 10 Устройство деформационных швов со стенками из сборных бетонных деталей
1 - основной кровельный ковер из Кромэла; 2 - дополнительный слой Кромэла; 3 - полоса из стали 40 ´40 мм через 600 мм; 4 - оси крепежных элементов; 5 - фартук из оцинкованной стали; 6 - сборная бетонная деталь; 7 - несгораемый минерал оватный утеплитель; 8 - V-о бразны й компенсатор; 9 - парои золяци я
Рис. 12 Примыкание кровли к парапету высотой более 450 мм
1 - основной ковер из Кромэла; 2 - дополнительный слой Кромэла; 3 - прокладки из ленты Гермэл; 4 - защитный фартук из кровельной стали; 5 - ось крепежных элементов (для закрепления слоев кровельного ковра, защитных фартуков); 6 - герметизирующая мастика
Рис. 13 Примыкание кровли к парапету высотой до 450 мм
1 - основной ковер из Кромэла; 2 - дополнительный слой Кромэла; 3 - прокладки из ленты Гермэл; 4 - теплоизоляция; 5 - выравнивающая стяжка; 6 - оцинкованная кровельная сталь; 7 - крепежные элементы
Рис. 14 Ремонт кровли в местах пропуска трубы через стальной патрубок
1 - основной кровельный ковер из К ромэла; 2 - прокладка из ленты Гермэл; 3 - горизонтальный дополнительный слой; 4 - вертикальный дополнительный слой; 5 - герметизирующая мастика; 6 - зажимной хомут; 7 - зонт из кровельной стали; 8 - выравнивающая стяжка; 9 - пропускаемая труба
Рис. 15 Пропуск анкера через кровельный ковер
1 - сборная железобетонная плита покрытия; 2 - пароизоляци я; 3 - теплоизоляция; 4 - выравнивающая стяжка; 5 - основной кровельный ковер; 6 - рамка из уголка; 7 - герметизирующая мастика; 8 - анкер
2 .28 . Места пропуска анкеров усиливают герметизирующей мастикой. Для этого устанавливают рамку из уголков, которую заполняют герметизирующей мастикой (Рис. 15).
2 .29 . Для окраски поверхности кровельного ковра применяют следующие защитные составы:
мастика Ма ст мэл-2 (с алюминиевой пудрой),
х л орсульфополиэ тил еновый лак ХП -734 с 25 % наполнителя - алюминиевой пудры П АК -3 и ПАК-4 (ГОСТ 5494 -71) ,
ц ветной полиу рет ановы й окрасочный состав.
2 .30 . После окончания всех кровел ьных, работ необходимо выполнить требования экологической чистоты: все остатки битума, мастичных комь ев, обрезков рулонных материалов должны быть тщатель но упакованы, уложены в емкости, контейнеры и спущены с кровли с помощью механизированных средств (крыш евы е краны, подъемники, лебедки и т.д.), затем вывезены в специаль но отведенные зоны.
Материально-технические ресурсы
Таблица 4
| Код | Наименование машин, механизмов и оборудования | Тип, марка, ГОСТ | Технические характеристики | Назначение | Количество на звено (бригаду) |
| 1 | 2 | 3 | 4 | 5 | 6 |
| 1 | Водосборочная машина | Масса 15 кг | Сбор воды | 1 шт. | |
| 2 | Шпатель скребок | ТУ 22 -3059 -74 | Масса 0 ,55 кг | Сос к ребание с поверхности оснований цементного раствора | 2 ш т. |
| 3 | Установка компрессорная | СО- 263 -1 | Масса 130 кг | Очистка основания от мусора и пыли | 1 шт. |
| 4 | Кран кр ы шевой | К- 1 или КБК-2 и др. аналогичные | Грузоподъемность К- 1 - 300 кг, грузоподъемность КБК-2 - 250 кг | Подъем материалов | 1 шт. |
| 5 | Поддон для материалов | ПС- 0,5 И ТУ 65-469 -83 | Масса 76 кг 1270 ´ 890 ´ 1260 (высота) | Подъем материалов | 2 шт. |
| 6 | Агрегат окрасочный высокого давления | 7000 Н | Масса 80 кг | Нанесение мастики | 1 шт. |
| 7 | Тележка для кровельных материалов | Пр.1688 Ц НИИОМТП | Масса 17 кг | Подвозка материала | 1 шт. |
| 8 | Нож со сменными лезвиями | ТУ 35 -1175 -70 | Масса 0 ,285 кг | Резка рулонных материалов | 2 ш т. |
| 9 | Фен строительный | « Bosh », « Leister» | Мощность 2 - 5 кВт | Прогрев краев смежных полотнищ | 1 шт. |
| 10 | Ва лик ленолиумны й | Масса 1,8 - 2 кг | Прик атка рулонного материала | 1 шт. | |
| 11 | Каток дифференциальный | СО-108 | Масса 57 кг | Прикатка полотнищ | 1 шт. |
| 12 | Влагомер | ВПК -200 | Определение влажности насыпной теплоизоляции | 1 шт. | |
| 13 | Рейка складная универсальная | КОНДОР-3М | Длина 3 м, масса 5 кг | Проверка уклонов, ровности основания | 1 шт. |
| 14 | Линейка металлическая | ГОСТ 427-75 | Длина 1 м | Для целей измерения | 1 шт. |
| 15 | Рулетка металлическая РЗ-10 | ГОСТ 7502 -80 | Длина 10 м | Для целей измерения | 1 шт. |
| 16 | Штангенциркуль | ШЦТ-1-125 | Измерение толщины рулонных материалов | 1 шт. | |
| 17 | Пояс предохранитель ный | ГОСТ 12 .4 .089 -86 | 3 шт. | ||
| 18 | Каска монтажная | ГОСТ 12.4.087-84 | Защита головы от падающих предметов | 3 шт. | |
| 19 | Респиратор | РПГ -67 А, РМР-62 , Ф-46 , ПФ-2 ГОСТ 12 .4 .004 .-74 | Масса 0, 1 кг | Защита органов дыхания | 1 шт. |
3. ТРЕБОВАНИЯ К КАЧЕСТВУ И ПРИЕМКЕ РАБОТ
3.1. При поступлении рулонных материалов и мастик на объект их образцы проверяют в лаборатории на соответствие физико-механических показателей паспортным данным.
3 .2 . Для выявления дефектов кровли проводится ее визуальное обследование. Особое внимание обращается на места сопряжений кровельного ковра с различными конструкциями крыши: выходы на крыш у, примыкания к стенам, парапетам, оголовкам вентиляционных блоков, установки телеантенн, вытяжных канализационных стояков и др.















