Дипломм (1231703), страница 4
Текст из файла (страница 4)
Многообразие условий эксплуатации колес предъявляет определенные требования к металлу, из которого должны изготавливать бандажи[1]:
– высокая прочность;
– усталостная прочность;
– хладостойкость.
В настоящее время отечественной промышленностью выпускаютсябандажи колесных пар семи марок:
– марки 1, твердость которых составляет 248 НВ;
– марки 2 - 269 НВ;
– марки 3 с повышенной твердостью бандажа по поверхностикатания из стали с содержанием ванадия 9 % - 275 НВ, а твердостьгребня -285 НВ;
– марки 4 с использованием стали с ванадием 0,15-0,20 %;
– марки 5 с содержанием бора 0,001-0,005 %;
– марки 6 с содержанием ниобия 0,01-0,07 %;
– марки 7 с обработкой стали синтетическими шлаками, твердостькоторых составляет 277 НВ.
Применение рельсов из высокопрочных сталей требует, следовательно, применения таких же по прочности и твердости материалов бандажей. Преимущества получают марки стали, прошедшие термическуюобработку и имеющие мелкозернистую микроструктуру, которые меньшеподвергаются износу при увеличении силы нажатия. То, что термическиулучшенные материалы с точки зрения износа обладают преимуществом,вытекает из их микроструктуры.
Площадь контакта нового бандажа с новым рельсом составляет1,5—2,0 см2, по мере их износа площадка (представляющая эллипс) начинает уменьшаться и при этом поворачиваться на некоторый угол. Наэту площадку действует статическая нагрузка, составляющая 115—120 кН,которая может возрастать при движении локомотива из-за неровностейколес и рельсов. Помимо нормальных напряжений, изгибающих рельсыв вертикальной плоскости и значительно увеличивающихся при максимальном использовании силы тяги, касательные напряжения в рельсахдостигают 2300 МПа, что значительно превышает предел текучестирельсовой стали. Однако в связи с тем, что контактная площадка зажатасо всех сторон рельсовым металлом, разрушения рельса в этой зоне приоднократномнагружении не происходит. На криволинейных участкахпути на рельсы действуют также центробежные силы подвижного состава. Площадка приложения сил перемещается к внутренней кромкенаружного рельса. В этих местах начинается «сплыв» металла с образованием выщербин.
В результате периодического действия вышеуказанных сил в головкерельса на глубине 4—7 мм от площадки контакта возникают знакопеременные напряжения, превышающие 60 % контактных. Наличие рельсовых стыков и накопившихся при эксплуатации неровностей на рельсах иколесах приводит к тому, что нагрузки часто носят ударный характер. Приторможении поезда или трогании с места с пробуксовкой колесных парлокомотива, а также вследствие прохождения питающего тока через контактные площадки от бандажа к рельсу происходят нагрев поверхностикатания головки выше температуры превращения (феррита в аустенит)рельсовой стали и закалка на мартенсит тонкого слоя (0,03-0,05 мм)ввиду быстрого отвода тепла внутрь металла.Выкрашивание этого слояпри эксплуатации увеличивает износ рельсов. Перечисленные условияэксплуатации рельсов приводят к возникновению и развитию в них различных дефектов и повреждений[2]:
- смятие и неравномерный износ головки рельса в вертикальном направлении и по боковой поверхности;
- отслоение и выкрашивание металла на поверхности катания;
- поперечные трещины в головке и изломы из-за них;
- дефекты и повреждения шейки и подошвы;
- изгибы рельсов и т.д.
Основным видом разрушения рельсов являются контактно-усталостные повреждения (выщербины и выколы на поверхности катания,поперечные трещины усталости в головке, изломы из-за них и т.д.).
Контактно-усталостное разрушение облегчается наличием в головкерельса концентраторов напряжений в виде флокенов и строчечных неметаллических включений.
Анализ условий работы рельсов и природы основных видов разрушеий показал, что эксплуатационная стойкость рельсов в современныхусловиях определяется контактно-усталостной прочностью (пределомвыносливости при контактномнагружении), живучестью, характеризующейся скоростью роста поперечных усталостных трещин, а также сопротивлением хрупкому разрушению. Таким образом, сталь, используемаядля изготовления рельсов, должна обладать высокой износостойкостью иконтактно-усталостной прочностью при определенной живучести и вязкости. В процессе эксплуатации бандажей колесных пар в них возникаютзначительные напряжения вследствие взаимодействия с рельсом [2].
Давление бандажа на рельс приводит к сжимающим напряжениям вместе контакта, достигающим 500 МПа при наезде на стык. Силы тренияприводят к возникновению касательных напряжений в поверхностномслое бандажа, аследовательно, к износу поверхности катания. На поверхности катания бандажей наблюдаются также выкрашивания термического и усталостного характера, аналогичные происходящим в рельсах.
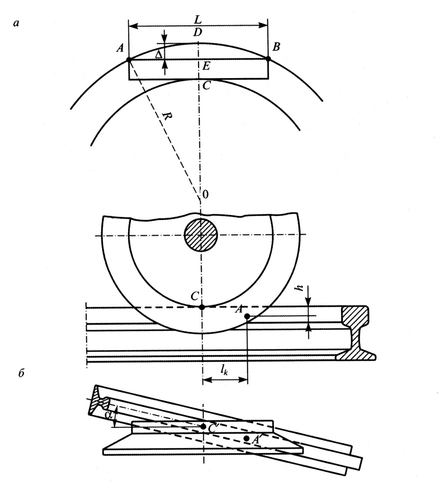
При движении экипажа в кривом участке пути радиуса R происходит набегание колеса на рельс под некоторым положительным углом α, т. е. гребень стремится пересечь рельс (рисунок 2.1). Это приводит к тому, что мгновенная точка касания С колеса с головкой рельса будет находиться сзади точки контакта гребня А с боковой гранью головки рельса на расстоянии L, называемом предварением касания и составляющем от 15-18 мм до 40-50 мм. Точка А лежит на расстоянии hrk от поверхности катания рельсовой головки, где hrk - глубина касания гребня (6—10 мм) [12].
При значительной величине горизонтальной силы ϒб колесо может приподняться и катиться гребнем по боковой грани головки рельса и таким образом будет иметь опору в одной точке (рисунок 2.2). В этом случае возможно переползание реборды колеса через рельс. Безопасность движения по кривой оценивается коэффициентом β0:
где Q – статическая нагрузка.
При двухточечном контакте в точке А будет иметь место скольжение гребня по боковой грани головки рельса. Принимаемточку С за мгновенный центр вращения, скорость скольжения Vск будет равняться
где
– радиус колеса;
–глубина касания гребня; V – скорость движения подвижного состава.
Рисунок 2.1 –Движение экипажа в кривой пути (а) и набегание колеса на рельс (б)
Рисунок 2.2 – Силовое взаимодействие гребня колеса с головкой рельса в кривой пути:
а – одноточечный контакт; б – двухточечный контакт
Определим значения VCK при двух- и одноточечном контактах.
Для двухточечного контакта α=1°20'; β=70°; гк=625 мм;
=10 мм; lk=45,6 мм;VCK=0,0747V, т. е. при V =10 м/с (36 км/ч) VCK=0,747 м/с.
При износе по кругу катания более 1,5—2 мм двухточечный контакт переходит в одноточечный. Площадка контакта получает большие размеры и расположена примерно под углом 35—40° к горизонту. Существенно снижаются скольжение и удельное давление. При одноточечном контакте α=1°20'; β=35°; гк=625 мм;
=6 мм; lk=10,02 мм;VCK=0,0186V, т. е. при V =10 м/с (36 км/ч) VCK =0,186 м/с [12].
Вследствие понижения удельной нагрузки и скорости скольжения на пятне контакта происходит снижение объемной и контактной температуры, что уменьшает износ по причине схватывания и пластического течения металла.
Рассматривая расположение сил, воздействующих на набегающее колесо, было установлено, что на рельс действуют: вертикальная нагрузка
, боковое давление
, равнодействующая сил
. При одноточечном контакте (см. рисунок 2.2, а) реакция рельса
будет равнодействующей нормального давления на контакт
и силы трения
, т. е.
Положение точки контакта А зависит от угла набегания грани гребня к горизонтали β и может быть найдено из выражения
где
- отношение бокового давления и вертикальной нагрузке;
–коэффициент трения.
Безопасность движения определится отношением
Снижение коэффициента трения с 0,25 до 0,1 в результате смазки при β0=70° приводит к увеличению соотношения
с 1,48 до 2,05, что повышает безопасность движения экипажа в кривых, снижает величину тягового усилия и экономит топливо.
При двухточечном контакте (см. рисунок 2.2, б) сила уравновешивается реакциями рельса
и
, сходящимися в точке С под углом β. Для новых колес локомотивов β=70–60°, для вагонных –β=57°. Нормальные нагрузки в точках контакта с учетом коэффициента трения определяются:
Если принять, чтоf1=0,3 (трение без смазки) иf2=0,1 (со смазкой), то после расчетов получаем, что
и разница составляет около 4 %.
Отсюда следует, что уменьшение силы трения между гребнем колеса и головкой рельса уменьшает усилие на гребень и повышает давление поверхности катания колеса на поверхность катания головки рельса, что снижает износ гребней [12].
Рисунок 2.3 - Касание между бандажом и рельсом: а — двухточечное касание для новых бандажей и рельсов; б — одноточечное при изношенных бандажах и рельсах; в — одноточечное по выкружке
При качении колесной пары по рельсу в кривой возможны три основных случая касания между бандажом и рельсом (рисунок 2.3). Наибольшая интенсивность износа гребней наблюдается в течение 10—15 тыс. км пробега после обточки, т. е. при двухточечном контакте. При росте проката контактирование переходит на выкружку, а между прямолинейным участком гребня и внутренней гранью головки рельса образуется зазор. Возникает режим качения колеса с проскальзыванием при одноточечном контакте, и интенсивность изнашивания пары снижается, что соответствует завершению процесса приработки.
Распределение касательных напряжений на площадке контактирования не может выбираться произвольно, потому что оно является результатом существующего или предшествующего проскальзывания поверхностей, если в данный момент времени тела неподвижны относительно друг друга [12].
До сих пор не уделяется должного внимания изучению физико-химических свойств контактирующих поверхностей бандажа и рельса, а также исследованию не идеализированных, а реально протекающих физических процессов в зоне контакта [8]. Задачи, заключающиеся в исследовании условий образования контакта, по своей сложности и трудности анализа не уступают решению конструктивных задач. Однако методы оценки состояния поверхности пока еще разработаны недостаточно, тем более в условиях применения в таких специфических парах трения, какими являются бандажи и рельсы.
Для увеличения сцепления в зоне контакта колесо-рельс наибольшее распространение получили различные способы очистки взаимодействующих поверхностей.















