Диплом (1229643), страница 4
Текст из файла (страница 4)
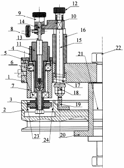
Рисунок 2.2 – Устройство для групповой притирки распылителей топливной аппаратуры в сборе: 1, 2 – диски; 3 – ролик; 4 – шпиндель; 5 – крышка; 6 – опорный подшипник; 7 – корпус; 8 – винт; 9 – притиродержателя; 10 – рычажная лапка; 11 – корпус распылителя; 12 – гайка; 13 – притир; 14 – прямоугольный вырез; 15 – толкатель; 16 – втулка; 17 – пружина; 18 – подшипник; 19 – кулачок; 21 – ось; 23, 24 – сегменты;
Устройство групповой притирки распылителей топливной аппаратуры (рисунок 2.2) [4] содержит закрепленную ось 21 с двумя 1, 2 дисками, на первом верхнем диске 1 размещены механизмы вращения, состоящие из роликов 3, расположенных на шпинделях 4, обладающих возможностью вращения совместно с притираемым корпусом распылителя 11, контактирующими с сегментами 23, 24 диска 2, корпусов 7, опорных подшипников 6, крышек 5, в распылителе 11 расположен притир 13, выполненный в форме запорной иглы, закрепленной винтом 8 в притиродержателе 9, на цилиндрическом корпусе которого выполнен прямоугольный вырез 14, и механизмы перемещения, содержащие толкатели 15, установленные во втулке 16 и посредством пружины 17, подшипника 18 осуществляющие контакт с кулачком 19, установленным на диске 2, имеют рычажные лапки 10, закрепленные гайкой 12 на верхних концах толкателей 15, выполненные в виде прямоугольного ключа, взаимодействующего с прямоугольным вырезом 14 корпуса притиродержателя 9, выполненным под ширину ключа рычажной лапки 10 с высотой, обеспечивающей постоянство контакта притира 13.
Рычажная лапка 10 (рисунок 2.3) [4] представляет из себя деталь прямоугольной формы с квадратным окном 25 для крепления ее на верхнем конце 15, которая заканчивается прямоугольным ключом 26, предназначенным в защелкнутом состоянии для взаимодействия с прямоугольным вырезом 14 притиродержателя 9.
Рисунок 2.3 – Рычажная лапка: 25 – квадратное окно; 26 – прямоугольный ключ
Притиродержатель 9 (рисунок 2.4) имеет цилиндрический корпус с центральным отверстием 27 для закрепления в нем с помощью винта 8, концевика притира 13, прямоугольный вырез 14 для ключа 26 рычажной лапки 10 [4].
Рисунок 2.4 – Притиродержатель: 8 – винт; 14 – прямоугольный вырез; 27 – центральное отверстие
Толкатель 15 (рисунок 2.5) выполнен в виде штока 27, на верхнем конце которого имеется упор 28 в виде квадрата, переходящий в стержень с резьбой, на котором помещается и закрепляется рычажная лапка 10, нижний конец содержит фланец 30, на котором выполнена вилка 31 для установки подшипника 18.
Рисунок 2.5 – Толкатель: 18 – подшипник; 27 – шток; 28 – упор; 30 – фланец; 31 – вилка
Притир 13 (рисунок 2.6) выполняется в форме запорной иглы и состоит из двух стержней с концевиком 34, заканчивающимся алмазной притирочной частью в виде конуса 35 [4].
Втулка 16 толкателя 15 содержит дополнительный ограничительный паз 36, образованный ребрами 37, предназначенный для обеспечения постоянства контакта ключа 26 рычажной лапки 10 с прямоугольным вырезом 14 притиродержателя 9 без образования вращательного движения.
Рисунок 2.6 – Притир: 13 – притир; 34 – концевик; 35 – конус
Рисунок 2.7 – Втулка: 16 – втулка; 36 – ограничительный паз; 37 – ребра
Притирка корпусов распылителей 11 происходит следующим образом. На рабочую часть притира 13 наносится слой притирочной пасты, затем его помещают в корпус распылителя 11, установленный в шпиндель 4, на верхнюю часть притира 13 надевают притиродержатель 9, закрепляют его винтом 8, в квадратный паз 14 притиродержателя 9 защелкивают ключевую часть рычажной лапки 10, установленной на толкателе 15 и закрепленной гайкой 12 [4].
При включении электропривода начинается вращение нижнего диска 2, наружные 23 и внутренние 24 сегменты которого соприкасаются с роликами 3, вращают их в правую и в левую стороны, ролики 3, в свою очередь, осуществляют вращение шпинделей 4 с помещенными в них распылителями 11. Притир 13, закрепленный рычажной лапкой 10 на толкателе 15, посредством втулки 16, пружины 17, подшипника 18 и кулачка 19 осуществляет осевое перемещение, производит притирку, взаимодействуя с вращающимся распылителем 11. После окончания притирки рычажная лапка 10 выводится из контакта с притиродержателем 9 путем поднятия и поворота лапки 10 из ограничительного паза втулки 16, после чего распылитель вынимается из шпинделя и готов к дальнейшему использованию.
Обеспечиваемый устройством технический результат выражается в расширении функциональных возможностей и в повышении производительности за счет упрощения процесса подготовки и сокращения количества используемого при эксплуатации инструмента, сопровождаемых повышением качества притирки.
Это достигается тем, что устройство для групповой притирки распылителей топливной аппаратуры, содержащее установленный на оси верхний диск, размещенные на нем механизмы вращения, состоящие из роликов, закрепленных на шпинделях, установленных с возможностью вращения, и механизмы осевого перемещения, выполненные в виде кулачка и подпружиненных толкателей, установленных во втулках, а также притиродержатели с закрепленными в них притирами, снабжено установленным на оси верхнего диска нижним диском, связанным с электроприводом, и закрепленными на верхнем конце толкателей рычажными лапками с прямоугольным ключом на конце, предназначенным для взаимодействия в рабочем положении с прямоугольным вырезом, выполненным на цилиндрическом корпусе притиродержателей шириной, соответствующей ширине ключа рычажной лапки, и высотой, обеспечивающей постоянный контакт притиров, имеющих форму запорной иглы, и корпусов распылителей, размещенных в шпинделях с возможностью совместного с ними вращения, при этом ролики установлены в контакте с нижним вращающимся диском, на котором расположен кулачок, взаимодействующий с толкателями посредством подшипников, закрепленных на нижнем конце толкателей, втулки которых выполнены с ограничительными ребрами [4].
Выполнение притира в форме запорной иглы, закрепленной в притиродержателе, на цилиндрическом корпусе которого имеется прямоугольный вырез, снабжение толкателя рычажной лапкой, закрепленной на его верхнем конце и выполненной в виде прямоугольного ключа, предназначенного для взаимодействия в рабочем положении с прямоугольным вырезом корпуса притиродержателя, выполненным под ширину ключа рычажной лапки с высотой, обеспечивающей постоянство контакта притира и распылителя, закрепление на нижнем конце толкателя подшипника, взаимодействующего с кулачком, установленным на нижнем диске, выполнение втулки толкателя с ограничительным пазом, позволяют повысить производительность труда, упростить процесс подготовки и улучшить качество притирки.
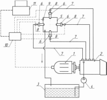
Стенд для испытания и регулировки дизельной топливной аппаратуры, в частности форсунки (рисунок 2.8), содержащий камеру впрыска, форсунки, топливопроводы высокого давления, топливный насос высокого давления с приводом, отличается тем, что стенд дополнительно снабжен устройствами регистрации давления топлива в топливопроводах высокого давления и в полости камеры впрыска [5].
Способ испытания и регулировки дизельной форсунки осуществляется при помощи стенда, состоящего из электродвигателя 1 (рисунок 2.8), приводящего во вращение вал топливного насоса высокого давления 2, и системы топливоподачи, состоящей из топливного бака 3 и подкачивающего насоса 4. Секции топливного насоса высокого давления 2 соединены трубопроводами высокого давления 7 с форсунками 6, закрепленными на камере впрыска 5.
Рисунок 2.8 – Стенд для испытания и регулировки дизельной форсунки: 1 – электродвигатель; 2 – секции топливного насоса высокого давления; 3 – топливный бак; 4 – подкачивающий насос; 5 – камера впрыска; 6 – форсунка; 7 – трубопровод высокого давления;
8, 9 – устройства; 10 – микропроцессорный блок; 11 – персональный компьютер
В полости камеры впрыска 5 установлено устройство 9 регистрации давления, а в топливопроводах высокого давления 7 – устройства 8 регистрации давления нагнетания топлива топливным насосом высокого давления. Работа стенда управляется персональным компьютером 11, связанным с микропроцессорным блоком 10 стенда, к которому подключены управляющие и сигнальные цепи стенда, и сигнальные цепи устройств 8 и 9 регистрации давления топлива в топливопроводе высокого давления 7 и в полости камеры впрыска 5.
Способ испытания и регулировки дизельной форсунки реализуется следующим образом.
На стенд устанавливают топливный насос высокого давления 2, а на камеру впрыска 5 испытуемые форсунки 6. Форсунки 6 соединяют с топливным насосом высокого давления 2 топливопроводами высокого давления 7. Затем подают напряжение питания и проверяют работу всех электрических приборов, систем управления, измерения и приводов.
Проводят опрессовку стенда путем подвода топлива из топливного бака 3 при помощи подкачивающего насоса 4 в топливный насос высокого давления 2. Топливо по топливопроводам высокого давления 7 нагнетается в форсунки 6, впрыскивающие его в полость камеры впрыска 5.
После проверки работоспособности стенда начинают испытание установленных на стенд форсунок 6. Устанавливают частоту вращения вала привода топливного насоса высокого давления 60 80 мин-1, что соответствует техническому регламенту регулировки форсунок на давление начала впрыска топлива форсункой (см. ГОСТ 10579-88). Для имитации реальных условий работы топливной аппаратуры, в полости камеры впрыска 5 создается противодавление, равное по значению давлению газов в цилиндре конкретного двигателя.
Для оценки давления начала впрыска топлива форсункой необходимо одновременно производить регистрацию изменения давлений в камере впрыска 5 и в топливопроводах 7.
В результате анализа экспериментально полученных осциллограмм (рисунок 2.9) с использованием датчика перемещения иглы форсунки и устройств регистрации давлений было доказано, что момент начала впрыска топлива форсункой (момент t1), соответствующий давлению начала впрыска топлива, совпадает с моментами начала нарастания давления в полости камеры впрыска (точка А) и началом перемещения иглы форсунки. Такое совпадение обеспечивается высокой скоростью распространения волны впрыска топлива.
В процессе регулировки дизельной топливной аппаратуры полученные значения давления начала впрыска топлива форсункой рвпр, сравнивают с паспортным значением и при необходимости регулируют (корректируют).
Для регистрации максимальных давлений рмах, развиваемых плунжерными парами топливного насоса высокого давления, а также вычисления средних давлений рср по секциям в процессе впрыска необходимо устанавливать частоту вращения вала привода топливного насоса высокого давления, соответствующую частоте вращения согласно техническому регламенту по регулировке дизельной топливной аппаратуры.
Рисунок 2.9 – Осциллограммы процесса впрыска топлива: t – время; t1 – момент начала впрыска топлива форсункой; рm – давление в топливопроводе высокого давления; рмах – максимальное давление, развиваемое плунжерной парой; рвпр – давление начала впрыска топлива форсункой; рср – среднее давление в процессе впрыска; рк – давление в полости камеры впрыска; h - перемещение иглы форсунки
В процессе регулировки определяются давления рмах и рср по секциям при различных частотах вращения вала насоса высокого давления с целью контроля динамики изменения давлений в топливопроводах в процессе нагнетания и впрыска. Совпадение давлений по секциям насоса высокого давления в динамике позволяет сделать вывод о достаточно качественной регулировке дизельной топливной аппаратуры.
Данный способ определения давлений рвпр, рмах и вычисления рср заложен в алгоритм работы микропроцессорного блока 10 с выводом результатов на монитор персонального компьютера 11. Алгоритм определения параметров топливоподачи по данному способу заложен в программу, зарегистрированную в реестре программ для ЭВМ [5].
Предлагаемый стенд для испытания и регулировки форсунки является полностью автоматизированным, что позволяет производить качественное регулирование дизельной топливной аппаратуры.
Предлагаемый стенд позволяет получить новый технический эффект – повысить качество регулировки дизельной топливной аппаратуры, повысить уровень автоматизации стенда.
Этот технический эффект достигается тем, что перед испытанием и регулировкой дизельной топливной аппаратуры осуществляют регистрацию и регулирование (корректировку) давления начала впрыска топлива форсункой с учетом противодавления впрыску топлива, равному давлению газов внутри цилиндра дизельного двигателя при реальных условиях ее эксплуатации, снижающего реальную величину цикловой подачи топлива.
2.2 Предлагаемый план и организация топливного отделения с учетом предлагаемого оборудования
Организация ремонта ТНВД представлена на рисунке 2.10. Топливный насос транспортируется при помощи тележки с участка разборки на участок ремонта на верстак. Устанавливается вертикально насос в приспособление для разборки и сборки топливного насоса нажимным штуцером. Снимают уплотнительные кольца, регулировочная прокладка, корпус толкателя. Извлекается корпус толкателя из направляющего толкателя. Извлекается из корпуса толкателя ось ролика, ролик и втулка. Выкручивается упор из корпуса толкателя. Демонтируется направляющая толкателя. Демонтируется нижняя тарелка, пружина, верхняя тарелка, венец зубчатый. Извлекается плунжер. Снимается крышка и фланец, вынимается рейка. Перекантуется насос на 180 градусов, откручивается нажимной штуцер, извлекается омедненная прокладка. Демонтируется нагнетательный клапан. Откручивается стопорный винт. Выпрессовывается гильза плунжерной пары при помощи медной выколотки.
Рисунок 2.10 – Предлагаемое отделение ремонта топливной аппаратуры: 1, 5 – станок для притирки деталей топливной аппаратуры ПР279; 2 – стенд для испытания и регулировки дизельной форсунки; 3 – стенд для испытания плунжерных пар; 4 – стенд для испытания топливоподкачивающей помпы дизеля 10Д100 А775.01; 6, 7 – машины моечные для обмывки деталей топливной аппаратуры А328; 8 – стенд для обкатки насосов 10Д100 модернизированный (нерабочий); 9 – стенд для проверки размера h топливного насоса 10Д100; 10 – гибридный стенд для испытания насосов на полость низкого и высокого давления + испытание форсунок для дизеля Д49; 11 – новый стенд для испытания топливных помп СПЧ-115 дизеля Д49; 12, 13, 14 – стенд и мерный блок по испытанию ТНВД















