Диплом Воробьев 03.06.16 (1225053), страница 6
Текст из файла (страница 6)
Если кривая
будет соответствовать длительной нагрузки
и кривая
соответствует длительной нагрузке
, то отношение установившихся перегревов будет
Формула (4.10) показывает пропорциональность отношения тепловых нагрузок или квадратичных значений тока нагрузки. Отношение длительного тока к часовому носит название коэффициента вентиляции
и характеризует интенсивность действия вентиляции системы. Действительно, как видно из уравнения (4.6), при малой теплоотдаче, т. е. при плохой системе вентиляции, термическая постоянная времени T имеет большое значение. Наоборот, при интенсивной вентиляции она приближается к 60 мин, и в этом случае кривые нагрева как при длительной нагрузке, так и при часовой будут совпадать, т. е. длительный ток
будет примерно соответствовать часовому значению тока
, и коэффициент вентиляции приближается к единице.
Охлаждение при изменении нагрузки. При охлаждении для общего случая начальная температура перегрева
всегда будет выше температуры установившегося перегрева
(
).
При построении характеристик охлаждения по уравнению (4.1) каждая кривая асимптотически приближается к установившемуся перегреву, соответствующему заданному току. При полном охлаждении, т.е. когда ток нагрузки отсутствует, кривая охлаждения приближается к оси абсцисс. На рисунке 3.1 пунктиром показаны характеристики охлаждения, для построения которых служит вторая часть уравнения (5.1)
.
На рисунке 4.2 представлена сетка кривых нагревания и охлаждения обмотки якоря главного генератора МПТ 99/47 тепловоза серии ТЭ10, получена при различных значениях тока экспериментальным путем [12].
Рисунок 5.4 – Сетка кривых нагревания и охлаждения обмоток якоря главного генератора МПТ99/47 тепловоза ТЭ3 при различных значениях тока
[12]
Последнее основано на том, что главную роль в теплоотдаче двигателей играет теплопроводность, пропорциональная разности температур, и конвекция, для которой теплоотдача пропорциональна повышению температуры в степени 1,25; что касается излучения, пропорционального четвертой степени разности температур, то его роль практически незначительна. На рисунке 5.3 приведены экспериментальные кривые установившихся температур перегрева
и термической постоянной времени T, снятие при различных положениях контроллера
и токах
менялась теплоотдача машины, то термическая постоянная времени имеет переменное значение.
Р
исунок 4.3 – Кривые изменения температуры перегрева
и температурной постоянной времени T от тока
в обмотке якоря главного генератора МПТ99/47 тепловоза серии ТЭ3;
- положение рукоятки контроллера [12]
При движении тепловоза нагрузка постоянно меняется, вследствие чего выбора мощности тягового электродвигателя по нагреву становится более сложной. Наиболее распространенным методом в этом случае является метод эквивалентного тока, основанный на том, что действительно протекающий в двигателе и изменяющийся по величине ток заменяется в расчетах эквивалентным током
который вызвал бы в двигателе те же потери, что и действительный ток. Величина эквивалентного тока определяется из выражения
где
- силы тока на отдельных участках перегона;
– время действия соответствующего тока.
После определения величины эквивалентного тока производится сопоставление его с номинальным током выбранного электродвигателя. При этом должно быть соблюдено следующее условие:
т. е. эквивалентный ток должен быть меньше или равен номинальному току электродвигателя или току при длительном режиме.
Двигатель должен быть проверен по допустимой перегрузке из условия
где
- максимальное значение тока по графику нагрузки;
λ – допустимый коэффициент перегрузки двигателя по току.
Если окажется, что последнее условие не выдерживается, то необходимо выбрать двигатель большей мощности, руководствуясь при этом уже не условиями нагрева, а перегрузочной способностью двигателя.
Если электродвигатель выбран по методу эквивалентного тока, то определяют его перегрев на наиболее тяжелом перегоне. Для этой цели используют сетку кривых нагревания и охлаждения, полученную экспериментальным путем. Наиболее просто максимальный перегрев можно найти следующим способом.
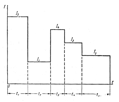
На рисунке 5.4 изображен график нагрузки тягового электродвигателя [13].
Рисунок 4.4 – График нагрузки тягового электродвигателя [13]
Если дан какой-либо график нагрузки тягового электродвигателя на данном перегоне, например,
(рисунок 5.4), то на основании кривых нагрева и охлаждения, а также времени работы электродвигателя на каждой нагрузке определяют температуру перегрева. Сущность этого метода изображена на рисунке 5.5 [13]/
Рисунок 5.5 – Графический способ определения максимальной температуры перегрева тягового электродвигателя [13]
Необходимо отметить, что начало отсчета времени работы тягового электродвигателя соответственно каждому току определяют на соответственной кривой перегрева. В этом случае откладывают на ней начальную температуру перегрева, равную конечной температуре перегрева предшествующего цикла. От этой точки откладывают время работы электродвигателя (
). Таким образом получают график изменения перегрева электродвигателя (a,b,c,d,e) на данном участке, после чего находят максимальную температуру перегрева.
После определения максимальной температуры перегрева на данном участке
сравнивают с допустимой температурой нагрева для данного типа изоляции
. В случае равенства температур или несколько меньшего значения (
) считают, что машина подобрана рационально для данного режима работы.
Можно определять температуру перегрева обмоток генератора и тяговых электродвигателей аналитическим способом, руководствуясь кривой тока
.
В этом случае изменение перегрева на каждом участке определяется по упрощенным формулам, если интервалы времени соответствуют условиям
:
а) для нагревания
б) для охлаждения при езде без тока
Значения тепловых параметров
и T в зависимости от тока берут из кривых для данного типа машин; начальную температуру перегрева
для генераторов и тяговых электродвигателей принимают равной
, если тепловоз отправляется от станции после стоянки выше 2 ч. При стоянке меньше 2 ч температуру перегрева определяют по предыдущему рейсу, как температуру в момент прибытия, производя ее снижение за время стоянки по кривой охлаждения.
4.1. Уравнение напора вентилятора.
В основе расчета лежит известное уравнение движения газа по трубопроводу:
где H — полный напор, необходимый для прохождения через воздухопровод установленного количества воздуха, мм вод. ст.;
— сумма статических напоров, преодолевающих местные сопротивления i отдельных последовательно соединенных участков воздухопровода, мм вод. ст.;
— скоростной или динамический напор движущегося воздуха, обладающего при выходе в атмосферу запасом кинетической энергии, мм вод. ст.
Величину динамического напора определяют выражением
, мм вод. ст.
где
- плотность воздуха, кг/
;
– скорость воздуха при выходе из воздухопровода, м/сек;
Q – количество прогоняемого воздуха,
/сек;
S – поперечное сечение выходного отверстия,
.
С учетом значений перечисленных величин выражение (4.6) примет вид:
или
Здесь величина zд
зависит только от геометрических размеров выходного отверстия; по аналогии с электрической цепью ее называют аэродинамическим сопротивлением, эквивалентным динамическому напору.
Сумма статических напоров i участков воздухопровода
слагается из следующих величин:
hвх — потерь напора на вход воздуха (устье);
hпов — потерь напора при поворотах воздухопровода;
hрасш, hсуж— потери напора соответственно при внезапных расширениях и сужениях воздухопровода;
hтр — потери напора от трения воздуха о стенки воздухопровода.
Все потери напора удобно выражать в долях соответствующих динамических напоров, т. е. оценивая потерю напора в любом из i элементов воздушной цепи как hст I, мм вод. ст.
или, обозначив
в виде
Введенные коэффициенты
и ξi называют коэффициентами аэродинамического сопротивления данного элемента воздухопровода. Последнему выражению, по аналогии с (4-6"), придают вид:















