Полный текс ПЗ ВКР (1222960), страница 12
Текст из файла (страница 12)
Используя данные, приведенные в [3] и формулы (6.1) произведем расчет площади световых проемов для естественного освещения аппаратного участка:
τ0 = 0,8·0,6·1·0,8·0,9 = 0,3456.
lН = 1,5·0,9·0,8 = 1,08.
SO =
= 988,4 м2.
На основании произведенных расчетов видно, что размеры окон должны быть выбраны таким образом, чтобы их площадь составляла 988,4 м2.
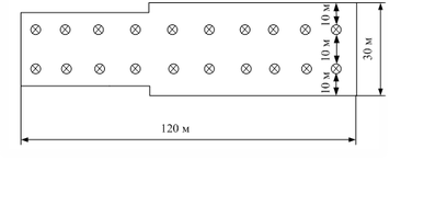
Рисунок 6.1 – Размещение световых проемов.
6.6 Расчет искусственного освещения
Расчет искусственного освещения помещений производится различными методами. Наиболее распространенным в проектной практике является метод коэффициентов светового потока.
Так как необходимая освещенность цеха нам известна (смотри выше), то задачей расчета является определение необходимого количества осветительных приборов той или иной мощности.
Количество светильников определим по следующей формуле
| | (6.4) |
где ЕН – нормируемая освещенность, зависит от класса зрительной
работы [5];
кЗ – коэффициент запаса [4];
z – поправочный коэффициент светильника, принимаем z = 1,2 [4];
Ф – световой поток каждой из ламп, для ламп типа ДРЛ–400,
Ф = 22000 лм [4];
η – коэффициент использования светового потока, зависит от величины
индекса помещения.
Значение величины индекса помещения напрямую зависит от размеров данного помещения и определяется по следующей формуле
| | (6.5) |
где А – длина здания, А = 120 м;
В – ширина здания, В = 30 м;
НР – высота расчетной поверхности, НР = 12 м.
Тогда индекс помещения будет равен
i =
≈ 2.
Зная значение, индекса помещения и используя справочную литературу [4] определим коэффициент использования светового потока, η = 0,65.
Определим количество ламп необходимое для создания освещения требуемого уровня
N =
= 40 ламп.
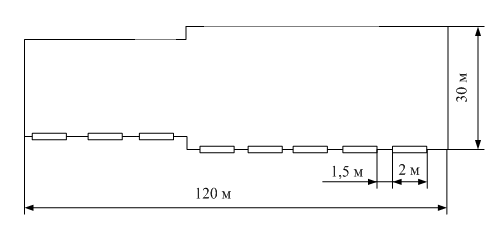
На рисунке 6.2 представлена схема расположения осветительных приборов.
Рисунок 6.2 – Схема расположения осветительных приборов
7 РАСЧЁТ ЭКОНОМИЧЕСКОЙ ЭФФЕКТИВНОСТИ ОТ ВНЕДРЕНИЯ РАЦИОНАЛЬНОЙ ОРГАНИЗАЦИИ РАБОТ В ЭЛЕКТРОАППАТНОМ ЦЕХЕ
7.1 Теоретические основы определения экономической эффективности
Экономическая эффективность производства, перевозок, новой техники и капитальных вложений является критерием целесообразности создания и применения новой техники, реконструкции действующих предприятий, а также мер по совершенствованию производства и улучшению условий труда.
Экономическая эффективность капитальных вложений и новой техники в общем виде определяется как соотношение между затратами и результатами, как итоговый показатель качества экономического развития отрасли, предприятия.
Анализ эффективности мероприятий производится по большому кругу показателей: стоимостных, натуральных, эксплуатационных и технических. При анализе экономической эффективности капитальных вложений в мероприятия следует помнить, что они дают эффект не сразу, а спустя некоторое время, включающее срок осуществления мероприятия, время основания мероприятий, время основания проектной мощности объекта и достижения расчётных показателей себестоимости, производительности труда и так далее.
Важным требованием к расчёту экономической эффективности применяемых решений является сопоставимость сравниваемых вариантов по качественным параметрам техники, фактору времени, по социальным факторам производства, включая влияние на окружающую среду.
При этом необходимо применять одинаковый расчётный срок и выполнять расчёты с одинаковой точностью, а также проводить расчёты на равный объём в год, либо на единицу продукции.
Эффективность есть отношение эффекта технического, эксплуатационного или экономического к затратам, обслуживающим его получение. Существует два типа эффективности: технико-эксплуатационная и обобщающая экономическая (абсолютная, относительная, сравнительная).
Технико-эксплуатационная эффективность характеризуется отношением технического и эксплуатационного эффекта в виде улучшения технического параметра или количественного показателя к трудовым или стоимостным затратам.
Целесообразность создания и использования новой техники, изобретений и рационализаторских предложений решается на основе расчёта экономического эффекта, определяемого на годовой объём производства или годовой объём работы, выполняемой с помощью новой техники в расчётном году.
Годовой экономический эффект представляет собой суммарную экономию всех видов производственных ресурсов (живого труда, материалов, капитальных вложений). При расчетах экономической эффективности проектируемых и планируемых мероприятий необходимо исходить из ряда общих принципов:
- эффективность должна определяться, как правило, сопоставлением результатов с затратами. Измерение эффективности только результатами правомерно лишь в тех случаях, когда осуществление мероприятий не требует материальных и трудовых затрат либо они не существенны. Если же сокращение дальности достигается в результате строительства новой железной дороги, спрямляющей путь следования грузов, или постройки нового, более рационально расположенного предприятия, то эффективность может быть правильно оценена лишь сопоставлением полученной экономии с капитальными потребными вложениями.
- при сравнении технических решений одноцелевого назначения с заданными одинаковыми результатами наилучший из них выбирается по минимальным затратам;
- оценивая эффективность проектируемых и планируемых мероприятий, важно правильно соизмерять затраты и результаты, а также затраты, осуществляемые в разные сроки. Для создания и развития производственно-экономических систем требуются единовременные затраты (капитальные вложения), а для функционирования ПЭС – текущие (эксплуатационные) расходы. Но оценивать эффективность нужно по совокупным затратам. Сумма годовых эксплуатационных расходов и доли капитальных вложений, соответствующей нормативному коэффициенту эффективности, называется приведенными (или годовыми эксплуатационно-строительными) затратами. Из сравниваемых вариантов при прочих равных условиях выбирается тот, у которого приведенные затраты наименьшие.
Сравнивая варианты с одноэтапными капиталовложениями и растущими по годам эксплуатационными расходами, нужно определять расчетный год, эксплуатационные расходы для которого учитываются при исчислении годовых совокупных (приведенных) затрат.
Если эксплуатационные расходы возрастают по годам равномерно, то расчетный срок обычно принимается равным сроку окупаемости. Правильнее, однако, во всех случаях принимать такой расчетный срок, для которого имеется необходимая и достоверная информация.
При оценке эффективности технических мероприятий, которые требуют вложения средств в несколько этапов, возникает необходимость в соизмерении затрат за разные годы. При этом затраты будущих лет приводятся к начальному году и учитываются в меньшем размере с помощью коэффициента приведения затрат. Таким образом, при выборе решений учитывается фактор времени.
При учете фактора времени необходимо определять не только эффект от отдаления затрат, но и тот ущерб, который может вызвать запоздание работ по усилению пропускной способности линий. При чрезмерном заполнении пропускной способности уменьшается возможность выделения “окон” в графике, необходимых для нормального содержания пути и всех других технических средств, а также для производства самих строительных работ, что удорожает стоимость строительства (в ряде случаев на 20 – 25 %). Кроме того, возникают сбои в движении поездов, замедляется оборот вагона и доставка грузов и пассажиров.
Выбор варианта технических и технологических решений методами сравнительной эффективности необходимо дополнять оценкой общей эффективности. Оценка эффективности использования всех ресурсов по относительно наилучшему варианту исключит возможность применения устаревших технических решений, будет способствовать научно-техническому прогрессу и повышению эффективности производства.
При оценке вариантов технических решений необходимо исходить из оптимальных при данных условиях режимов использования технических средств по каждому варианту.
Критерий оптимальности при выборе решений должен быть единый для всех сравниваемых вариантов. Единство критерия выражается включением в него (влияющих на выбор решения) составляющих элементов затрат и результатов по всем операциям перевозочного процесса исходя из требований народнохозяйственного подхода. При этом экономическое содержание показателей оптимальности зависит от конкретных условий выбора решений.
Правильный выбор критерия оптимальности – одно из важнейших условий повышения качества обслуживания народного хозяйства и эффективности работы и развития железнодорожного транспорта.
При оценке эффективности должны учитываться показатели качества продукции, обслуживания и работы.
При выборе технических, технологических и управленческих решений по социально-экономическому развитию и функционированию систем (отрасли, дорог, отделений, станций, депо, дистанций, участков и др.) основополагающим является принцип самоокупаемости затрат и самофинансирования систем. Это значит, что окончательное решение о выборе варианта развития и функционирования систем должно обосновываться оценкой экономических последствий каждого из сравниваемых вариантов по показателям: доходы, эксплуатационные расходы, прибыль, трудоемкость и фондоёмкость продукции (работы). В зависимости от экономического содержания, расходы, связанные с производством и реализацией, складываются из следующих элементов: затраты на оплату труда; отчисления на социальные нужды; материальные затраты, в т.ч. материалы, топливо, электроэнергия, прочие материальные; амортизация; прочие затраты. Группировка по таким элементам осуществляется по каждой статье, как при разработке плана, так и при учете фактических затрат. Отнесение расходов по элементам затрат осуществляется с учетом норм Положения ПБУ 10/99 и соответствующих статей главы 25 «Налог на прибыль организаций» Налогового кодекса Российской Федерации. При этом расходы признаются в бухгалтерском учете независимо от того, как они принимаются для целей расчета налогооблагаемой базы. В расходы по элементу «затраты на оплату труда» включаются любые начисления работникам в денежной и (или) натуральной формах, стимулирующие начисления и надбавки, компенсационные начисления, связанные с режимом работы или условиями труда, премии и единовременные поощрительные начисления, расходы, связанные с содержанием этих работников, предусмотренные нормами законодательства Российской Федерации, трудовыми договорами (контрактами) и (или) коллективными договорами. По элементу «Отчисления на социальные нужды» отражаются расходы по начислению единого социального налога в соответствии с главой 24 «Единый социальный налог» Налогового кодекса РФ, отчислений в Пенсионный фонд РФ, установленных Федеральным законом «Об обязательном пенсионном страховании в Российской Федерации» от 15 декабря 2001 г. № 167-ФЗ, и страховых взносов на обязательное социальное страхование от несчастных случаев на производстве и профессиональных заболеваний.
В элементе «материальные затраты» отражается стоимость приобретаемых различного рода материалов и топливно-энергетических ресурсов, а также расходы на приобретение работ и услуг производственного характера, выполняемых организациями. являющимися юридическими лицами по законодательству Российской Федерации и индивидуальными предпринимателями.
Элемент «материальные затраты» состоит из следующих групп:
- материалы;
- топливо;
,
,














