Диплом (1222895), страница 2
Текст из файла (страница 2)
Рисунок 3 – схема устройства для удаления стружки RU 1291362.
Данная система не даёт обзор хода выполнения работы, так же с этой системой возможно улавливать стружку и пыль только при резке и сверлении, а при гравировке она не актуальна, так как шарик опоры всё время должен касаться обрабатываемого материала, не все поставленные критерии выполняются. Преимущество данной системы — это удаление стружки и пыли при обработки торцевых пазов.
-
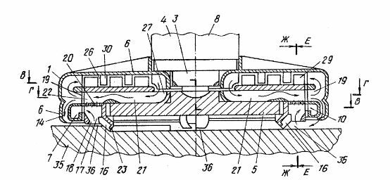
RU 1343693 - Устройство для отсоса стружки. Авторы патента: Никиточкина Э.А., Елисеев Ю.А., Малкус Б.Л., Израйлевич В.Л.
Изобретение относится к области станкостроения, в частности, к устройствам для отсоса стружки из зоны резания. Целью изобретения является повышение эффективности отсоса стружки путём создания в зоне резания регулируемого воздушного вихря. Устройство состоит из наружного 4 и внутреннего 2 кожухов и размещённых между кожухами под острым углом к вертикальной оси устройства прокладок 8, связанных с кожухами при помощи радиально расположенных в два ряда пальцев 10 и 11. Наружный кожух 4 установлен с возможностью поворота относительно внутреннего. При работе устройства воздух засасывается с верхних торцов кожухов 2 и 4 через каналы, образованные прокладками 8 с цилиндрическими поверхностями кожухов 2 и 4. Ввиду того, что каналы расположены под острым углом к вертикальной оси устройства, проходящий через них воздушный поток образует в зоне резания вихрь, который подхватывает стружку и выносит её через патрубок 3 в систему пневмоотсоса. Регулировку угла наклона осуществляют за счёт ослабления зажимов и поворота наружного кожуха 4 относительно кожуха 2 [7].
Рисунок 4 – схема устройства для отсоса стружки RU 1343693.
У устройства для отсоса стружки минусом является полностью закрытая система без возможности наблюдения за работой станка. Положительными сторонами является то что данная система может быть применена на различных фрезерных станках со шпинделями разного диаметра, так же есть щётка для мягкого контакта с материалом и так же эта щётка не даёт разлетаться материалу.
-
RU 1329946 - Устройство для удаления стружки из зоны резания. Авторы патента: Ведров Сергей Евгеньевич, Фельдман Семен Яковлевич, Карев Евгений Алексеевич.
Изобретение относится к области металлообработки, а именно к устройствам для удаления стружки из зоны резания при механической обработке. Целью изобретения является повышение качества удаления стружки при обработке вращающимся инструментом за счёт расположения инструмента в поле электромагнита при его отводе из зоны резания. При нахождении инструмента в верхнем нерабочем положении к нему подводится устройство для удаления стружки и при достижении величины зазора 1-2 мм на электромагнитную катушку 4 подаётся постоянный ток, что приводит к намагничиванию инструмента. При обработке детали на катушку подаётся прерывистый постоянный ток, создающий в зоне резания пульсирующее магнитное поле. Стружка в этом случае начинает колебаться и отсасываться через нижний стружкозаборник 3, канал 9 и трубопровод 1. После завершения обработки инструмент с налипшей на него стружкой поднимается вверх, и стружка отсасывается уже с помощью верхнего стружкозаборника 2 и трубопровода 1 [8].
Рисунок 5 – схема устройства для удаления стружки из зоны резания RU 1329946.
Устройство для удаления стружки из зоны резания имеет следующие недостатки, из за того что принцип работы системы построен на магнитах, этот механизм одет работать только с металлическим стружками и пылью, из за того что намагничивается сам режущий инструмент это может негативно влиять на работу шпиндель так, как шпиндель представляет собой электромагнит в защищённом кожухе. И по представленной схеме, скорее всего само устройства удаления стружки может цеплять уже обработанный материал, что приведёт к повреждениям как самого устройства, так и режущего инструмента, и шпинделя. Положительной стороной данного устройства являются магниты, которые не дают возможности, металлической стружке, разлететься во все стороны.
-
RU 1323338 - Устройство для удаления стружки. Авторы патента: Филиппов Виктор Николаевич.
Изобретение относится к области машиностроения, а именно к пневматическим устройствам для удаления стружки, образуется при обработке на станках, преимущественно фрезерных. Целью изобретения является повышение эффективности устройства за счёт увеличения интенсивности воздушного потока во всасывающих и нагнетательных каналах. Устройство начинает работать при вращении рабочего инструмента, например фразы 5 типа летучей головки. с которым связано рабочее колесо 2 вентилятора, вращение которого вызывает возникновение воздушного потока в каналах всасывания и дополнительных каналах 21,24. Основная часть воздушного потока, попадая на входы 19 нагнетательных каналов 14, возвращается по полости 26 на повторный цикл ускорения , а другая, меньшая часть по каналам 14 нагнетается по периметру кожуха 6 вентилятора в зоны обработки. Основной воздушный поток в каналах всасывания образуется за счёт эффекта эжекции в смесительных камерах 23 на выходах 22 дополнительных каналов 21. В каналах всасывания эта стружка под воздействием рабочего воздушного потока поднимается и смещается радиально БНО по входным отверстиям отделителя стружки [9].
Рисунок 6 – схема устройства для удаления стружки RU 1323338.
За счёт создания разнонаправленных вихревых потоков, стружка удаляется на всей окружности режущего инструмента, но нет возможности наблюдения за ходом работы, и каналы всасывания могут забиться крупной стружкой так, как каналы достаточно узкие, такое устройство будет работать только с пластиками и деревом.
-
RU 1328153 - Устройство для отсоса стружки из зоны резания. Авторы патента: Вишневецкий Мирон Семеновичпетров, Петров Юрий Борисович.
Изобретение относится к станкостроению и может быть использовано в устройствах для удаления стружки и пыли из зоны резания. Целью изобретения является расширение технологических возможностей устройства за счёт возможности его работы с инструментом различного вида и типоразмера. Устройство содержит охватывающий инструмент 6 кожух, -стружкоприемник 3, входные 14 и выходной 15 патрубки. Стружкоприемник 3 выполнен в виде расположенной в кожухе и связанной с ним ирисовой диафрагмы и жёстко закреплённых на е лепестках, кроме выходной зоны патрубка 15, криволинейных пластин 4, образующих между собой щелевые сопла 5. Входные патрубки 14 расположены тангенциально к поверхности пластин 4 соответствующих сопел 5 и соединены с системой подачи воздуха. Устройство имеет возможность работы с инструментом различного вида и типоразмера за счёт перемещения лепестков ирисовой диафрагмы относительно оси инструмента 6. Это перемещение осуществляется посредством привода, например шагового двигателя, через шестерню 16 и зубчатый сектор 17, закреплённый на боковой поверхности кожуха [10].
Рисунок 7 – схема устройства для отсоса стружки из зоны резания
RU 1328153.
В данном устройстве не предусмотрена работа с глубокими рельефами, а также нет возможности наблюдать за процессом работы. Положительного в этом устройсте то, что подходи к любым по виду и типоразмеру фрезам.
-
RU 1316790 – Стружкоулавливатель. Авторы патента: Тройнин Виктор Ефимович, Симакин Борис Иванович, Пономарев Владимир Павлович.
Изобретение относится к металлообработке, в частности к устройствам для удаления стружки при обработке металлов сверлением, и может быть использовано при ремонтных работах. Целью изобретения является повышение эффективности стружкоулавливания за счёт возможности изменения габаритов устройства в зависимости от размеров обрабатывающего инструмента. На поверхность, подлежащую сверлению, устанавливают сектора 1 постоянного магнита стружкоулавливателя, соединённые между собой упругими пластинами 3, расположенными в направляющих элементах, установленных на этих пластинах с возможностью продольного перемещения. При изменении диаметра инструмента 2 изменяют внутреннее отверстие магнита [11].
Рисунок 8 – схема стружкоулавливателя RU 1316790.
Данное устройство не предназначено для работы с движением, а только для сверления металла, потому что весь механизм завязан на перемагничивании основания устройства к поверхности обрабатываемого материала.
-
RU 1296369 - Устройство для сбора стружки. Авторы патента: Татаров Юрий Николаевич, Левин Григорий Семенович, Банифатьев Николай Иванович, Крук Александр Александрович.
Изобретение относится к станкостроению и предназначено для механизированного стружкоотделения при механической обработке. Цель изобретения – повышение эффективности отвода стружки за счёт улучшения удержания стружки при её транспортировании. С этой целью лента 2 для транспортирования стружки выполнена из отдельных шарнирных плат 3, 4, смонтированных на осях и одной стороной свободно лежащих на соседних шарнирных платах 3, 4, противоположных направлению движения ленты 2. Шарнирные платы 3, 4 установлены таким образом, что образуют острый угол ОС с линией, проходящей через центры осей двух соседних шарнирных плат 3, 4, который постоянен по всей длине ленты 2. Лента 2 приводится в движение роликами 7 приводной цепи, установленными на осях шарнирных плат 3, 4 и связанными соединительными звеньями, на которых установлены ограничители свободного вращения шарнирных плат 3, 4. В шарнирных платах 3, 4, имеющих Г-образное или прямоугольное сечение, предусмотрены отверстия для отвода СОЖ, стекающей в отстойник 11 [12].
Рисунок 9 – схема устройства для сбора стружки RU 1296369
Есть ещё две системы удаления стружки и пыли, которые не имеют патенты, но также достаточно распространены. Перове из них устройство удаления стружки называется «труба», или ещё его называют система открытого типа, принцип работы такой: с одной стороны, устанавливается стружка приёмник, напротив него, с другой стороны шпинделя устанавливается, вентилятор, обычно с подсветкой. Во время работы станка вентилятор сбивает стружку и пыль, с места резанья, в стружкоприёмник, и по гофрированной трубе все отходы идут в промышленный пылесос. На данный момент — это единственная подобная система, которая даёт возможность наблюдения за процессом резанья, но недостаток весомее, примерно половина стружки и пыли пролетает мимо стружкоприёмника, и ещё сильнее развивает всё это по помещению, с другой стороны это самая дешёвая система удаления стружки и пыли. Пример такой системы на рисунке 10.
Рисунок 10 – устройство удаления стружки и пыли открытого типа.
Другое устройство представляет собой насадку на шпиндель с длинноворсовой щёткой и двумя отверстиями, первое для крепления к шпинделю, второе для подсоединения гофрированного шланга, который ведёт к промышленному пылесосу. Недостатки такой системы в том, что не доступа к обзору работы станка, одна такая насадка подходит только к шпинделю одного типоразмера, и большинство стружки и пыли остаётся не собранными, а прилипшими или припёкшимися к заготовке. Внешний вид такой системы на рисунке 11.
Рисунок 11 – насадка на шпиндель для удаления стружки и пыли.















